TOP
|
特許
|
意匠
|
商標
特許ウォッチ
Twitter
他の特許を見る
10個以上の画像は省略されています。
公開番号
2025161444
公報種別
公開特許公報(A)
公開日
2025-10-24
出願番号
2024064624
出願日
2024-04-12
発明の名称
二次電池
出願人
日産自動車株式会社
代理人
IBC一番町弁理士法人
主分類
H01M
10/0585 20100101AFI20251017BHJP(基本的電気素子)
要約
【課題】固体電解質層を備えた二次電池において、電池における短絡の発生を抑制し得る手段を提供する。
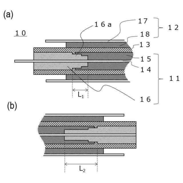
【解決手段】正極層11と、負極層12と、正極層11と負極層12との間に配置された固体電解質層13とを含み、正極層11が正極集電箔14、正極集電箔14上に配置された正極活物質層15、及び正極活物質層15の外周側面の少なくとも一部に接するように配置された固体電解質層支持材16を含み、固体電解質層支持材16は、正極活物質層15と接する側に設けられた少なくとも一つのステップ部を含み、正極活物質層15の外周部の少なくとも一部は、ステップ部と固体電解質層13とによって挟持されているか、及び/またはステップ部と正極集電箔14とによって挟持されている、二次電池10が開示される。
【選択図】図1
特許請求の範囲
【請求項1】
正極層と、負極層と、前記正極層と前記負極層との間に配置された固体電解質層と、を含み、
前記正極層が正極集電箔、前記正極集電箔上に配置された正極活物質層、及び前記正極活物質層の外周側面の少なくとも一部に接するように配置された固体電解質層支持材を含み、
前記固体電解質層支持材は、前記正極活物質層と接する側に設けられた少なくとも一つのステップ部を含み、
前記正極活物質層の外周部の少なくとも一部は、前記ステップ部と前記固体電解質層とによって挟持されているか、及び/または前記ステップ部と前記正極集電箔とによって挟持されている、二次電池。
続きを表示(約 770 文字)
【請求項2】
前記正極活物質層の外周側面と接していない前記ステップ部の内周側面と前記正極活物質層の前記外周側面との間は、前記固体電解質層によって満たされている、請求項1に記載の二次電池。
【請求項3】
前記正極活物質層の前記外周部の少なくとも一部は、電池の積層方向において前記固体電解質層に最も近いステップ部と前記固体電解質層とによって挟持されている、請求項1または2に記載の二次電池。
【請求項4】
少なくとも一つの前記正極活物質層において対向して配置された一組の前記ステップ部において、電池の積層方向の断面において外側から中心に向かう前記ステップ部の長さが互いに異なる、請求項1または2に記載の二次電池。
【請求項5】
少なくとも一つの前記ステップ部において、前記正極活物質層の外周側面と接する内周側面がR形状を有する、請求項1または2に記載の二次電池。
【請求項6】
前記固体電解質層支持材は、電池の積層方向における前記ステップ部の各々の厚さに対応する厚さを有するシートの積層体である、請求項1または2に記載の二次電池。
【請求項7】
前記積層体を構成する前記シートのうち、前記正極活物質層の外周側面と接する前記シートの曲げ剛性が最も高い、請求項1または2に記載の二次電池。
【請求項8】
前記固体電解質層支持材は、前記正極集電箔と略同一の材料からなる、請求項1または2に記載の二次電池。
【請求項9】
前記負極活物質層の外周端部の少なくとも一部は、電池を平面視したときに、電池の積層方向において前記固体電解質層に最も近いステップ部の外周端よりも外側に位置するように配置されている、請求項1または2に記載の二次電池。
発明の詳細な説明
【技術分野】
【0001】
本発明は、二次電池に関する。
続きを表示(約 1,600 文字)
【背景技術】
【0002】
従来、正極層と負極層との間に固体電解質層を備える二次電池が知られている。このような二次電池は、可燃性有機溶媒の使用量が最小限に抑えられていることにより、短絡が発生しても、電池の劣化が発生する可能性を大きく減らすことができるため、現在市販されている電解液を使用するリチウムイオン電池に比べ、大きく電池性能を高めることができる。
【0003】
一方、固体電解質層を備える二次電池は、固体状の電解質を用いているため、正極層と固体電解質層との間、及び負極層と固体電解質層との間の接触がそれぞれ十分に維持されないと、電池内の抵抗が大きくなり、優れた電池特性を発揮し難くなる。
【0004】
従来、正極層や負極層と固体電解質層との接触を向上させるために、二次電池の製造過程において、加圧工程を実施することが行われている。当該加圧工程においては、正極層、負極層及び固体電解質層を含む積層体において、一部積層されていない部分に圧力差が発生し、その圧力差により、固体電解質層に微細欠陥が発生することがある。電池の充放電過程においては、そのような欠陥に起因して、固体電解質層内にクラック(亀裂)が発生して成長する。そして、そのようなクラック(亀裂)を介してリチウムが成長するにつれ、正極層と負極層との間で短絡が発生する可能性がある。
【0005】
例えば特許文献1では、正極層と、負極層と、正極層と負極層との間に配置された固体電解質層と、を含み、正極層が正極集電体、正極集電体上に配置された正極活物質層、及び正極活物質層の一側面上に配置された不活性部材を含み、負極層が、負極集電体、及び負極集電体上に配置された第1負極活物質層を含む全固体電池が開示されている。
【0006】
当該全固体電池においては、不活性部材が正極活物質層の側面に位置し、固体電解質層と接触することにより、正極活物質層と接触しない固体電解質層において加圧過程中の圧力差によって発生する固体電解質層のクラック(亀裂)を抑制し、短絡の抑制を図っている。
【先行技術文献】
【特許文献】
【0007】
特開2021-77644号公報
【発明の概要】
【発明が解決しようとする課題】
【0008】
しかしながら、特許文献1に記載の全固体電池の構成では、外部から全固体電池に力がかかると、それぞれ異なる物性を有する材料から構成されている正極活物質層と不活性部材との境界の上部に設置された固体電解質層に応力が集中する。さらに、それぞれ異なる物性を有する材料からなる正極活物質層と不活性部材との間は接合強度が低く、引張の力に弱いため、外部から力がかかると剥離する可能性がある。それによって、全固体電池が短絡してしまうという問題が生じる虞がある。
【0009】
したがって、本発明は、固体電解質層を備えた二次電池において、電池における短絡の発生を抑制し得る手段を提供することを目的とする。
【課題を解決するための手段】
【0010】
本発明の一形態に係る二次電池は、正極層と、負極層と、正極層と負極層との間に配置された固体電解質層とを含み、正極層が正極集電箔、正極集電箔上に配置された正極活物質層、及び正極活物質層の外周側面の少なくとも一部に接するように配置された固体電解質層支持材を含み、固体電解質層支持材は、正極活物質層と接する側に設けられた少なくとも一つのステップ部を含み、正極活物質層の外周部の少なくとも一部は、ステップ部と固体電解質層とによって挟持されているか、及び/またはステップ部と正極集電箔とによって挟持されている。
【発明の効果】
(【0011】以降は省略されています)
この特許をJ-PlatPat(特許庁公式サイト)で参照する
関連特許
日産自動車株式会社
電動車両
2日前
日産自動車株式会社
電池モジュール
7日前
日産自動車株式会社
塗装方法及び自動車
1日前
日産自動車株式会社
エンジンのアンダカバー
7日前
株式会社ニフコ
締結構造
7日前
日産自動車株式会社
運転支援方法及び運転支援装置
7日前
日産自動車株式会社
地図情報生成方法及び地図情報生成装置
2日前
日産自動車株式会社
成形のための位置決め治具および位置決め方法
2日前
日産自動車株式会社
車両用インフラ設備制御方法、車両用インフラ設備制御装置及び車両用インフラシステム
7日前
日産自動車株式会社
車両用インフラ設備制御方法、車両用インフラ設備制御装置及び車両用インフラシステム
7日前
他の特許を見る