TOP
|
特許
|
意匠
|
商標
特許ウォッチ
Twitter
他の特許を見る
公開番号
2025164386
公報種別
公開特許公報(A)
公開日
2025-10-30
出願番号
2024068335
出願日
2024-04-19
発明の名称
車両用インフラ設備制御方法、車両用インフラ設備制御装置及び車両用インフラシステム
出願人
日産自動車株式会社
代理人
弁理士法人とこしえ特許事務所
主分類
G08G
1/09 20060101AFI20251023BHJP(信号)
要約
【課題】通信可能距離が所定の通信要求距離より短くなった場合でも、車両用インフラ設備から通信可能距離より遠い位置にいる遠方車両に交通情報を送信できる車両用インフラ設備制御方法、車両用インフラ設備制御装置及び車両用インフラシステムを提供する。
【解決手段】車両用インフラ設備制御装置13及び車両用インフラシステム1は、通信可能車両4aの位置情報に基づいて算出される通信可能領域Ac1を特定通信可能領域Ac0として記憶し、特定通信可能領域Ac0に基づいて、通信部12の通信可能距離Ac1を算出し、所定の通信要求距離Ldに対して通信可能距離Lc1が短い方向を通信距離不足方向Dとして特定し、通信距離不足方向Dにあり、かつ、車両用インフラ設備10から通信可能距離Lc1より遠い位置にいる遠方車両4bと通信可能な通信機器20に、通信部12を介して、交通情報を送信する。
【選択図】 図2
特許請求の範囲
【請求項1】
交通情報を車両に送信する通信部を備える車両用インフラ設備をプロセッサを用いて制御する車両用インフラ設備制御方法であって、
前記プロセッサは、
前記通信部を介して通信可能な通信可能車両の位置情報を取得し、
前記位置情報に基づいて算出される通信可能領域を特定通信可能領域として記憶し、
前記特定通信可能領域に基づいて、前記通信部の通信可能距離を算出し、
前記車両用インフラ設備が前記車両と通信するために必要とされる所定の通信要求距離に対して前記通信可能距離が短い方向を通信距離不足方向として特定し、
前記通信距離不足方向にあり、かつ、前記車両用インフラ設備から前記通信可能距離より遠い位置にいる遠方車両と通信可能な通信機器に、前記通信部を介して、前記交通情報を送信する、車両用インフラ設備制御方法。
続きを表示(約 790 文字)
【請求項2】
前記通信可能領域は、前記通信部と前記通信可能車両とが所定以上の頻度で通信可能な領域である、請求項1に記載の車両用インフラ設備制御方法。
【請求項3】
前記プロセッサは、所定時間毎に前記特定通信可能領域を更新する、請求項1に記載の車両用インフラ設備制御方法。
【請求項4】
前記プロセッサは、前記通信可能領域が変化した場合に前記特定通信可能領域を更新する、請求項1に記載の車両用インフラ設備制御方法。
【請求項5】
前記プロセッサは、
前記通信可能領域が前記特定通信可能領域に対して狭く変化した場合に前記特定通信可能領域を更新し、
前記通信可能領域が所定回数以上連続で前記特定通信可能領域に対して広く変化した場合に前記特定通信可能領域を更新する、請求項4に記載の車両用インフラ設備制御方法。
【請求項6】
前記通信要求距離は、予め設計された前記通信部の通信設計距離である、請求項1に記載の車両用インフラ設備制御方法。
【請求項7】
前記通信要求距離は、前記車両が前記通信部から取得した前記交通情報に基づいて自律走行を行うために必要な距離である、請求項1に記載の車両用インフラ設備制御方法。
【請求項8】
前記プロセッサは、前記通信部を介して前記通信可能車両の前記位置情報を取得するときに、前記通信可能車両が通信中の装置の識別番号を取得する、請求項1に記載の車両用インフラ設備制御方法。
【請求項9】
前記通信機器は車載通信機である、請求項1に記載の車両用インフラ設備制御方法。
【請求項10】
前記通信機器は他の車両用インフラ設備である、請求項1に記載の車両用インフラ設備制御方法。
(【請求項11】以降は省略されています)
発明の詳細な説明
【技術分野】
【0001】
本発明は、車両用インフラ設備制御方法、車両用インフラ設備制御装置及び車両用インフラシステムに関するものである。
続きを表示(約 2,700 文字)
【背景技術】
【0002】
特許文献1に記載の車両用無線通信システムは、通信環境の悪い領域に存在する車両の位置情報を、所定のエリア内において最も高所に位置する車両を中継して送信する。
【先行技術文献】
【特許文献】
【0003】
特許第5496060号公報
【発明の概要】
【発明が解決しようとする課題】
【0004】
しかしながら、特許文献1に記載の車両用無線通信システムのように、高所に位置する車両を中継させて情報を送信した場合であっても、市街地等ではビル等の遮蔽物により通信可能な領域が必要な所定範囲より狭くなってしまうおそれがある。
【0005】
本発明が解決しようとする課題は、通信可能距離が所定の通信要求距離より短くなった場合でも、車両用インフラ設備から通信可能距離より遠い位置にいる遠方車両に交通情報を送信できる車両用インフラ設備制御方法、車両用インフラ設備制御装置及び車両用インフラシステムを提供することである。
【課題を解決するための手段】
【0006】
本発明は、通信可能車両の位置情報に基づいて算出される通信可能領域を特定通信可能領域として記憶し、特定通信可能領域に基づいて、通信部の通信可能距離を算出し、車両用インフラ設備が車両と通信するために必要とされる所定の通信要求距離に対して通信可能距離が短い方向を通信距離不足方向として特定し、通信距離不足方向にあり、かつ、車両用インフラ設備から通信可能距離より遠い位置にいる遠方車両と通信可能な通信機器に交通情報を送信することによって上記課題を解決する。
【発明の効果】
【0007】
本発明によれば、通信可能距離が所定の通信要求距離より短くなった場合でも、車両用インフラ設備から通信可能距離より遠い位置にいる遠方車両に交通情報を送信できるという効果が得られる。
【図面の簡単な説明】
【0008】
第1実施形態に係る車両用インフラ設備制御装置を有する車両用インフラ設備及び車両用インフラシステムを示す構成図である。
図1に示す車両用インフラ設備が通信機器を中継して遠方車両に交通情報を送信し、交通情報を受信した遠方車両が車線変更を行う例を示す図である。
通信距離不足方向の通信機器が複数ある場合に、図1に示す車両用インフラ設備が通信機器を中継して遠方車両に交通情報を送信し、交通情報を受信した遠方車両が車線変更を行う例を示す図である。
図1に示す車両用インフラ設備が通信機器を中継して遠方車両に交通情報を送信し、交通情報を受信した遠方車両が交差点を通過する例を示す図である。
図1に示す車両用インフラシステムにおいて、車両用インフラ設備及び通信機器が交通情報を送受信する手順及び交通情報を受信した車両の運転制御を示すフローチャートである。
図1に示す車両用インフラシステムにおいて、車両用インフラ設備制御装置が特定通信可能領域を更新する手順を示すフローチャートである。
第2実施形態に係る車両用インフラシステムにおいて、車両用インフラ設備及び通信機器が交通情報を送受信する手順を示すフローチャートである。
【発明を実施するための形態】
【0009】
以下、本発明の実施形態を図面に基づいて説明する。
《第1実施形態》
本発明の第1実施形態について、図1~5に基づいて説明する。
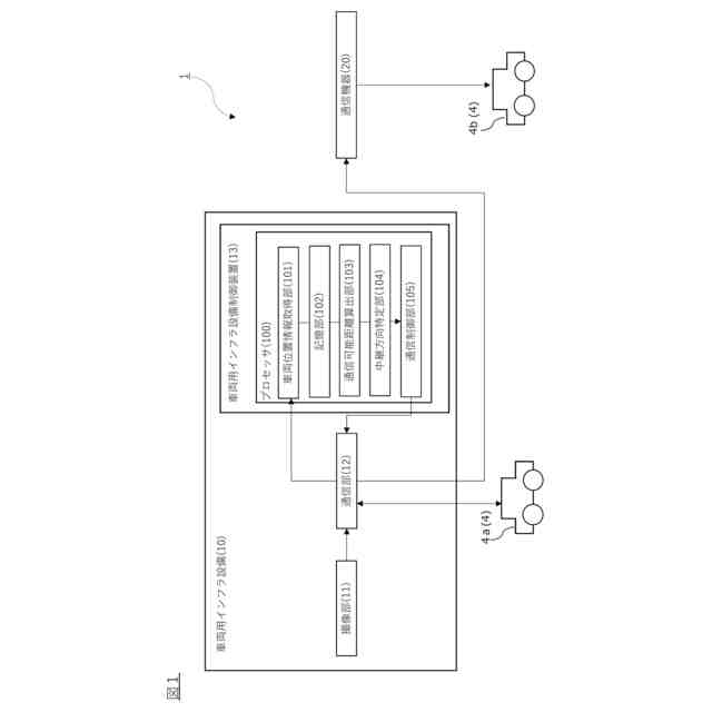
図1に示すように、車両用インフラシステム1は、車両用インフラ設備10、通信機器20及び車両4(通信可能車両4a,遠方車両4b)を有する。車両用インフラ設備10は、車両4が通行する道路Rに設けられる(図2参照)。車両用インフラ設備10は、道路Rの交通流を監視するとともに、各種の交通情報を所定の通信可能領域Ac1内にいる車両4、すなわち、通信可能車両4aに送信する。また、通信機器20は、車載通信機であってもよく、車両用インフラ設備10と同様の構成を有する他の車両用インフラ設備であってもよい。通信機器20は、車両用インフラ設備10の通信可能領域Acの外側、かつ、通信機器20の通信可能領域Ac2内にいる遠方車両4bと通信可能である(図2参照)。すなわち、通信機器20は、車両用インフラ設備10から受信した情報を遠方車両4bに転送するための中継設備として機能する。このように、車両用インフラ設備10は、通信機器20及び車両4とサーバを介さずに通信可能であるため、通信容量を抑え、通信速度の遅延を回避できる。なお、車両用インフラシステム1に含まれる車両4の数は、1台でもよく、複数であってもよい。また、本実施形態に係る車両4は、自律走行可能な自動運転車両であるが、これに限定されず、ドライバが車両4を手動で運転していてもよい。
【0010】
次に、図1,2を参照して、車両用インフラ設備10の構成について説明する。
図1に示すように、車両用インフラ設備10は、撮像部11、通信部12及び車両用インフラ設備制御装置13を有する。撮像部11は道路Rを撮像し、撮像画像に基づいて道路Rの交通流を監視する路側カメラである。撮像部11は、所定の角度範囲で回動可能である。また、通信部12は、所定の通信可能領域Ac1にある通信機器20及び通信可能車両4aと通信可能である(図2参照)。また、車両用インフラ設備制御装置13は、車両用インフラ設備10をプロセッサ100を用いて制御する。なお、撮像部11と通信部12とは、各々異なる装置として設けられ、互いに有線又は無線で接続されている。また、車両用インフラ設備制御装置13は、通信部12側に設けられており、通信部12の通信を制御する。車両用インフラ設備制御装置13は、通信部12を介して、撮像部11が取得した撮像画像及び外部情報を取得できる。また、これに限定されず、撮像部11、通信部12及び車両用インフラ設備制御装置13は、1つの装置としての車両用インフラ設備に含まれていてもよく、車両用インフラ設備制御装置13は、撮像部11から、直接、撮像画像を取得してもよい。また、車両用インフラ設備制御装置13は、車両用インフラ設備10とインターネットを介して通信可能なサーバに設けられていてもよい。
(【0011】以降は省略されています)
この特許をJ-PlatPat(特許庁公式サイト)で参照する
関連特許
日産自動車株式会社
電動車両
今日
日本精機株式会社
警報システム
2か月前
個人
自動電動車椅子
1か月前
株式会社SUBARU
車両
26日前
エムケー精工株式会社
車両誘導装置
2か月前
スズキ株式会社
運転支援装置
2か月前
個人
磁気路上での車両の路線離脱防御
1か月前
ニッタン株式会社
発信機
2か月前
ニッタン株式会社
検知器
1か月前
ニッタン株式会社
発信機
3か月前
ニッタン株式会社
検知器
1か月前
日本無線株式会社
船舶システム
今日
ニッタン株式会社
検知器
1か月前
株式会社国際電気
防災システム
2か月前
ニッタン株式会社
検知器
1か月前
トヨタ自動車株式会社
車両
3か月前
日本信号株式会社
異常走行検出装置
1か月前
ダイハツ工業株式会社
移動支援装置
18日前
トヨタ自動車株式会社
サーバ
8日前
株式会社SUBARU
運転支援装置
1か月前
トヨタ自動車株式会社
サーバ
1か月前
大阪瓦斯株式会社
音声出力システム
1か月前
株式会社小糸製作所
移動体検出装置
1か月前
株式会社デンソー
運航管理装置
25日前
三菱自動車工業株式会社
制御システム
1か月前
日本精機株式会社
報知装置及び報知システム
1か月前
株式会社小糸製作所
車両検出システム
1か月前
株式会社CCT
通信装置及び表示方法
1か月前
能美防災株式会社
火災感知器
2か月前
株式会社 ミックウェア
車内環境制御システム
21日前
株式会社SUBARU
事故情報収集装置
26日前
本田技研工業株式会社
情報提供装置
3か月前
株式会社SUBARU
車室内異常検知装置
26日前
能美防災株式会社
非常伝達装置
2か月前
ホーチキ株式会社
火災検出システム
28日前
本田技研工業株式会社
物体検出装置
2か月前
続きを見る
他の特許を見る