TOP
|
特許
|
意匠
|
商標
特許ウォッチ
Twitter
他の特許を見る
10個以上の画像は省略されています。
公開番号
2025163759
公報種別
公開特許公報(A)
公開日
2025-10-30
出願番号
2024067260
出願日
2024-04-18
発明の名称
締結構造
出願人
株式会社ニフコ
,
日産自動車株式会社
代理人
個人
,
個人
,
個人
主分類
F16B
19/00 20060101AFI20251023BHJP(機械要素または単位;機械または装置の効果的機能を生じ維持するための一般的手段)
要約
【課題】一方の被取付部材に堅固に取り付けられ、かつ、他方の被取付部が容易に取り付けられる締結構造を提供する。
【解決手段】締結構造20は、第一被取付部材1に、第二被取付部材4が、間を空けて対峙した姿勢で、クリップ21を介して連結される。クリップ21は、グロメット部材24及びピン部材37の二部材で構成されている。クリップ21の第一係合部22が非拡径状態で第一被取付部材1に取り付けられ、ピン部材37が押し込まれて第一係合部22が拡径状態に変形すると、クリップ21が第一被取付部材1に係合し、第二被取付部材4が、クリップ21の第二係合部23に取り付けられ、クリップ21が回転すると、クリップ21が第二被取付部材4に係合する。
【選択図】図19
特許請求の範囲
【請求項1】
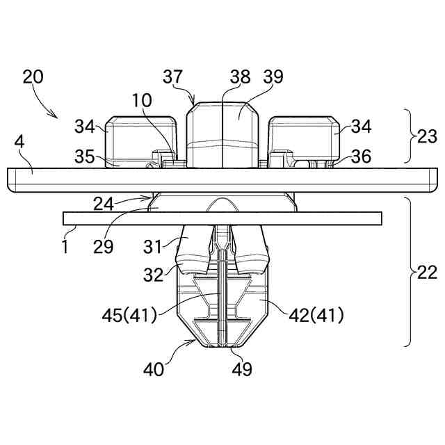
第一被取付部材に形成された第一被取付孔部に挿入されて前記第一被取付部材に係合した第一被取付部材係合状態、及び、第二被取付部材に形成された第二被取付孔部に挿入されて前記第二被取付部材に係合した第二被取付部材係合状態となることで、前記第一被取付部材に、前記第二被取付部材が対峙して取り付ける締結構造であって、
予め互いに連結されたグロメット部材とピン部材とを有し、
前記グロメット部材は、
挿入孔が形成されて前記第一被取付部材に取り付けられる本体部と、
前記挿入孔の周囲から伸びて前記第一被取付孔部に挿入される複数の脚部と、
前記本体部に対して前記脚部と反対側に形成されて前記第二被取付孔部に挿入される腕部と、を有し、
前記ピン部材は、前記挿入孔に挿入された軸部を有し、
前記脚部と前記軸部とで構成された第一係合部が、前記第一被取付孔部に挿入可能な非拡径状態で前記第一被取付孔部に挿入され、前記軸部が前記本体部に対して押し込まれて前記脚部が広げられた拡径状態となることで、前記第一被取付部材係合状態となる、
ことを特徴とする締結構造。
続きを表示(約 1,200 文字)
【請求項2】
前記軸部が、
前記非拡径状態において、前記脚部の外側に向けて張り出した位置決め突部を有する、
ことを特徴とする請求項1に記載された締結構造。
【請求項3】
前記非拡径状態において、前記位置決め突部が、前記脚部の先端部から前記本体部まで連続しており、
前記位置決め突部のうち、前記本体部側の端に、前記拡径状態において前記脚部よりも外側に張り出さない溝部が形成された、
ことを特徴とする請求項2に記載された締結構造。
【請求項4】
一対の前記腕部が、前記本体部から外側に向けて、互いに離れる方向に突出しており、
前記腕部が、前記第二被取付孔部に挿入されて前記第二被取付部材に対して前記第一被取付部材と反対側に配置された第二被取付部材仮保持状態、かつ、前記第一被取付部材係合状態において、
前記第一係合部を軸とした正回転によって、前記腕部が前記第二被取付部材に係合することで、前記第二被取付部材係合状態となる、
ことを特徴とする請求項1から請求項3の何れか1項に記載された締結構造。
【請求項5】
前記腕部が、
前記第二被取付部材仮保持状態において、前記第二被取付部材に向けて突出した篏合突部を有し、
前記第二被取付部材係合状態において、前記篏合突部が、前記第二被取付部材に篏合する、
ことを特徴とする請求項4に記載された締結構造。
【請求項6】
前記ピン部材が、
頭部と、前記頭部から伸びた前記軸部と、を有し、
前記頭部が、
前記軸部に向かうにしたがって外側に向けて傾斜した傾斜面部を有する、
ことを特徴とする請求項1から請求項3の何れか1項に記載された締結構造。
【請求項7】
前記第一被取付部材又は/及び前記第二被取付部材が、
前記第二被取付部材係合状態において、前記正回転を規制し、又は、前記第二被取付部材仮保持状態において、前記正回転と逆向きの逆回転を規制する回転規制部を有する、
ことを特徴とする請求項4に記載された締結構造。
【請求項8】
前記第二被取付部材が、
前記第二被取付部材仮保持状態から、前記第二被取付部材係合状態までの過程において、前記第二被取付部材に対する前記腕部の摺動を案内するガイド部を有する、
ことを特徴とする請求項5に記載された締結構造。
【請求項9】
前記ガイド部が、前記第二被取付孔部の縁から、前記正回転の方向に沿って上る傾斜面である、
ことを特徴とする請求項8に記載された締結構造。
【請求項10】
前記ガイド部に、前記篏合突部が篏合する篏合凹部が形成された、
ことを特徴とする請求項8に記載された締結構造。
(【請求項11】以降は省略されています)
発明の詳細な説明
【技術分野】
【0001】
本発明は、一方の部材に他方の部材を取り付けるための締結構造に関するものである。
続きを表示(約 1,800 文字)
【背景技術】
【0002】
従来、自動車のアンダーカバーには、ジャッキアップポイントを露出させるための開口部があり、開口部は、リッドカバーによって塞がれている。リッドカバーは、クリップを介して、サイドシルカバー等に取り付けられており、ジャッキアップ時に取り外される。このように、一方の部材(例えばサイドシルカバー)に他方の部材(例えばリッドカバー)を着脱するために用いられるクリップとして、例えば、下記特許文献1に記載された技術(以下、特許文献1に記載された技術を「文献公知1発明」と記す。)がある。
【0003】
文献公知1発明に係るクリップは、二枚のパネルの間に介在するものであり、一方のパネルの孔に挿入される入れ込み部と、他方のパネルの孔に挿入される留め付け部とを有している。はじめに、入れ込み部が一方のパネルに取り付けられ、この状態で、他方のパネルが留め付け部に取り付けられる。具体的には、文献公知1発明に係るクリップは、樹脂製であり、入れ込み部は、一方のパネルの孔よりも僅かに大きな弾性片を有している。弾性片は、孔に通される際、僅かに弾性変形し、孔を通過した後に復元することで、孔の縁に係止する。
【先行技術文献】
【特許文献】
【0004】
特開2009-115148号公報
【発明の概要】
【発明が解決しようとする課題】
【0005】
しかし、上記したとおり、文献公知1発明では、弾性変形の前後における僅かな大きさの違いで、弾性片が孔の縁に係止していることから、弾性片は容易に孔から外れる。また、入れ込み部が一方のパネルに取り付けられた後、留め付け部に他方のパネルが取り付けられる際、入れ込み部が軸となって回転する場合があり、他方のパネルが留め付け部に取り付き難い。
【0006】
本発明は、この様な実情に鑑みて提案されたものであり、一方の被取付部材に堅固に取り付けられ、かつ、他方の被取付部が容易に取り付けられる締結構造の提供を目的とする。
【課題を解決するための手段】
【0007】
上記目的を達成するために、本発明に係る締結構造は、第一被取付部材に形成された第一被取付孔部に挿入されて前記第一被取付部材に係合した第一被取付部材係合状態、及び、第二被取付部材に形成された第二被取付孔部に挿入されて前記第二被取付部材に係合した第二被取付部材係合状態となることで、前記第一被取付部材に、前記第二被取付部材が対峙して取り付ける締結構造であって、予め互いに連結されたグロメット部材とピン部材とを有し、前記グロメット部材は、挿入孔が形成されて前記第一被取付部材に取り付けられる本体部と、前記挿入孔の周囲から伸びて前記第一被取付孔部に挿入される複数の脚部と、前記本体部に対して前記脚部と反対側に形成されて前記第二被取付孔部に挿入される腕部と、を有し、前記ピン部材は、前記挿入孔に挿入された軸部を有し、前記脚部と前記軸部とで構成された第一係合部が、前記第一被取付孔部に挿入可能な非拡径状態で前記第一被取付孔部に挿入され、前記軸部が前記本体部に対して押し込まれて前記脚部が広げられた拡径状態となることで、前記第一被取付部材係合状態となる、ことを特徴とする。
【0008】
本発明に係る締結構造は、前記軸部が、前記非拡径状態において、前記脚部の外側に向けて張り出した位置決め突部を有する、ことを特徴とする。
【0009】
本発明に係る締結構造は、前記非拡径状態において、前記位置決め突部が、前記脚部の先端部から前記本体部まで連続しており、前記位置決め突部のうち、前記本体部側の端に、前記拡径状態において前記脚部よりも外側に張り出さない溝部が形成された、ことを特徴とする。
【0010】
本発明に係る締結構造は、一対の前記腕部が、前記本体部から外側に向けて、互いに離れる方向に突出しており、前記腕部が、前記第二被取付孔部に挿入されて前記第二被取付部材に対して前記第一被取付部材と反対側に配置された第二被取付部材仮保持状態、かつ、前記第一被取付部材係合状態において、前記第一係合部を軸とした正回転によって、前記腕部が前記第二被取付部材に係合することで、前記第二被取付部材係合状態となる、ことを特徴とする。
(【0011】以降は省略されています)
この特許をJ-PlatPat(特許庁公式サイト)で参照する
関連特許
株式会社ニフコ
クリップ
1か月前
株式会社ニフコ
締結構造
8日前
株式会社ニフコ
風防装置
1か月前
株式会社ニフコ
収納装置
1か月前
株式会社ニフコ
照明装置
2か月前
株式会社ニフコ
熱交換モジュール
1か月前
株式会社ニフコ
リテーナ固定構造
1か月前
株式会社ニフコ
車載機器用保持装置
29日前
株式会社ニフコ
帯状体用アクセサリー
23日前
トヨタ紡織株式会社
カップホルダー
1か月前
ZACROS株式会社
熱交換装置及びバッテリーパック
1か月前
個人
留め具
24日前
個人
鍋虫ねじ
2か月前
個人
紛体用仕切弁
2か月前
個人
回転伝達機構
3か月前
個人
ホース保持具
6か月前
個人
差動歯車用歯形
4か月前
個人
トーションバー
7か月前
個人
ジョイント
1か月前
個人
給排気装置
1か月前
個人
ナット
1か月前
株式会社不二工機
電磁弁
5か月前
個人
ナット
2日前
個人
地震の揺れ回避装置
3か月前
株式会社不二工機
電磁弁
4か月前
個人
ボルトナットセット
7か月前
個人
吐出量監視装置
2か月前
兼工業株式会社
バルブ
3日前
株式会社三協丸筒
枠体
7か月前
カヤバ株式会社
緩衝器
1か月前
カヤバ株式会社
ダンパ
4か月前
カヤバ株式会社
緩衝器
4か月前
柿沼金属精機株式会社
分岐管
2か月前
カヤバ株式会社
ダンパ
4か月前
カヤバ株式会社
緩衝器
4か月前
株式会社フジキン
ボールバルブ
5か月前
続きを見る
他の特許を見る