TOP
|
特許
|
意匠
|
商標
特許ウォッチ
Twitter
他の特許を見る
10個以上の画像は省略されています。
公開番号
2025161721
公報種別
公開特許公報(A)
公開日
2025-10-24
出願番号
2024215185
出願日
2024-12-10
発明の名称
濾過方法および濾過装置
出願人
株式会社神鋼環境ソリューション
代理人
個人
主分類
B01D
37/00 20060101AFI20251017BHJP(物理的または化学的方法または装置一般)
要約
【課題】被処理物が特定部に付着することによる弊害を防止できる濾過方法および濾過装置を提供する。
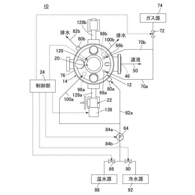
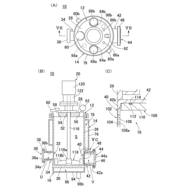
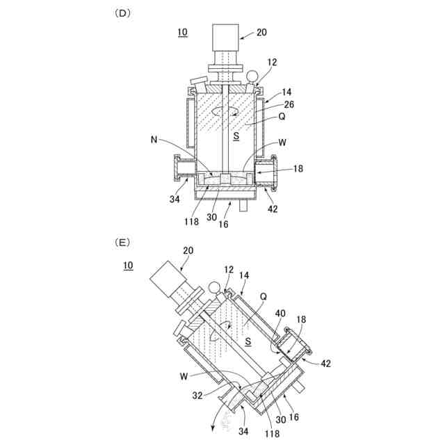
【解決手段】濾過方法は、収容空間Sを有する容器12とフィルタ部18とを備える濾過装置10を用いて実行される。濾過方法は、収容空間Sにおけるフィルタ部18よりも鉛直下方の領域に濾過準備領域Mを確保し、かつ、フィルタ部18よりも鉛直上方の領域にクリーン領域Qを確保した容器12の状態を濾過準備状態としたとき、濾過準備状態にある容器12の濾過準備領域Mで固形物を含む被処理物Wを準備する濾過準備工程と、フィルタ部18を容器12の鉛直下部に配置し、かつ、フィルタ部18よりも鉛直上方の領域にクリーン領域Qを確保した容器12の状態を濾過状態としたとき、被処理物Wを濾過状態にある容器12に設けられているフィルタ部18で濾過して固形物を捕捉する濾過工程とを備える。
【選択図】図8
特許請求の範囲
【請求項1】
被処理物を収容する収容空間を有する容器と、前記容器に設けられ、前記被処理物を濾過するためのフィルタ部とを備える濾過装置を用いて、前記収容空間に前記被処理物が存在することがないクリーン領域を確保しながら前記被処理物を濾過する濾過方法であって、
前記収容空間における前記フィルタ部よりも鉛直下方の領域に濾過準備領域を確保し、かつ、前記収容空間における前記フィルタ部よりも鉛直上方の領域に前記クリーン領域を確保した前記容器の状態を濾過準備状態としたとき、前記濾過準備状態にある前記容器の前記濾過準備領域で固形物を含む前記被処理物を準備する濾過準備工程と、
前記フィルタ部を前記容器の鉛直下部に配置し、かつ、前記収容空間における前記フィルタ部よりも鉛直上方の領域に前記クリーン領域を確保した前記容器の状態を濾過状態としたとき、前記被処理物を前記濾過状態にある前記容器に設けられている前記フィルタ部で濾過して前記固形物を捕捉する濾過工程とを備える、濾過方法。
続きを表示(約 2,000 文字)
【請求項2】
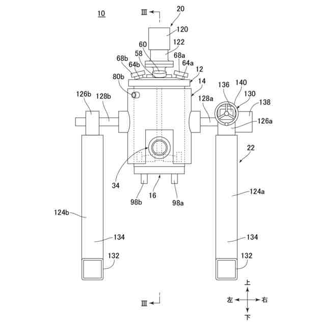
前記濾過装置は、前記濾過準備領域に配置される撹拌翼と、前記収容空間を構成する前記容器の壁部に形成された軸貫通孔に挿通された駆動軸とを有する撹拌装置を備え、
前記濾過準備工程および前記濾過工程では、前記収容空間における前記軸貫通孔が位置する領域に前記クリーン領域を確保する、請求項1に記載の濾過方法。
【請求項3】
前記濾過準備工程は、溶解工程と晶析工程とを含む、請求項1または2に記載の濾過方法。
【請求項4】
前記収容空間の鉛直下部の領域に乾燥領域を確保し、かつ、前記収容空間における前記乾燥領域よりも鉛直上方の領域に前記クリーン領域を確保した前記容器の状態を乾燥状態としたとき、前記フィルタ部で捕捉された前記固形物を前記乾燥状態にある前記容器の前記乾燥領域で加熱して乾燥させる乾燥工程を備える、請求項1または2に記載の濾過方法。
【請求項5】
前記濾過装置は、前記容器の壁部に設けられ、前記フィルタ部で捕捉された固形物を前記収容空間の外部に排出するための固形物排出路を構成する固形物排出部を備え、
前記固形物排出路の入口を前記容器の鉛直下部に配置し、かつ、前記収容空間における前記入口よりも鉛直上方の領域に前記クリーン領域を確保した前記容器の状態を排出状態としたとき、前記フィルタ部で捕捉された前記固形物を前記排出状態にある前記容器の前記固形物排出路から排出する排出工程を備える、請求項1または2に記載の濾過方法。
【請求項6】
前記容器の壁部に設けられ、前記固形物から分離された液状物を前記収容空間の外部に排出するための液状物排出路を構成する液状物排出部を備え、
前記液状物排出部は、前記固形物排出部を兼用するように構成され、
前記フィルタ部は、前記液状物排出路に離脱可能に位置決めされる濾材を有し、
前記濾過工程では、前記濾材で前記被処理物を濾過するとともに、前記液状物を前記液状物排出路から排出し、
前記排出工程では、前記液状物排出路から前記濾材を離脱させることによって前記液状物排出部を前記固形物排出部に切り替えるとともに、前記固形物を前記固形物排出路から排出する、請求項5に記載の濾過方法。
【請求項7】
被処理物を収容する収容空間を有する容器と、
前記容器に設けられ、前記被処理物を濾過するためのフィルタ部と、
前記容器の状態を変更するための容器状態変更部とを備え、
前記収容空間に前記被処理物が存在することがないクリーン領域を確保しながら前記被処理物の濾過を行うように構成された濾過装置であって、
前記容器状態変更部は、濾過準備工程を実行するための濾過準備状態と、濾過工程を実行するための濾過状態とを切り替え可能に構成され、
前記容器が前記濾過準備状態にあるとき、前記収容空間における前記フィルタ部よりも鉛直下方の領域に固形物を含む前記被処理物を準備するための濾過準備領域が確保されるとともに、前記収容空間における前記フィルタ部よりも鉛直上方の領域に前記クリーン領域が確保され、
前記容器が前記濾過状態にあるとき、前記フィルタ部が前記容器の鉛直下部に配置されるとともに、前記収容空間における前記フィルタ部よりも鉛直上方の領域に前記クリーン領域が確保される、濾過装置。
【請求項8】
前記濾過準備領域に配置される撹拌翼と、前記収容空間を構成する前記容器の壁部に形成された軸貫通孔に挿通された駆動軸とを有する撹拌装置を備え、
前記容器が前記濾過準備状態および前記濾過状態のいずれの状態にあるときでも、前記収容空間における前記軸貫通孔が位置する領域に前記クリーン領域が確保される、請求項7に記載の濾過装置。
【請求項9】
前記容器は、前記収容空間に前記被処理物を投入するための投入口を有し、
前記容器が前記濾過準備状態および前記濾過状態のいずれの状態にあるときでも、前記収容空間における前記投入口が位置する領域に前記クリーン領域が確保される、請求項7または8に記載の濾過装置。
【請求項10】
前記容器に設けられ、前記フィルタ部で捕捉された固形物を前記収容空間の外部に排出するための固形物排出路を構成する固形物排出部を備え、
前記容器は、筒状の周壁部と、前記周壁部の下側の開口を閉塞する下壁部とを有し、
前記固形物排出部は、前記周壁部に設けられ、
前記下壁部には、前記下壁部に接触する前記被処理物を加熱するための加熱装置が設けられる、請求項7または8に記載の濾過装置。
(【請求項11】以降は省略されています)
発明の詳細な説明
【技術分野】
【0001】
本発明は、被処理物を濾過する濾過方法および濾過装置に関する。
続きを表示(約 2,200 文字)
【背景技術】
【0002】
特許文献1に記載された従来の濾過装置は、容器と、容器を上下方向に反転させるための反転機構とを備えている。容器の内部空間は、フィルタを備えたスクリーン(濾過部)によって上下方向に二分されており、一方の空間が被処理物を反応処理するための反応空間となっており、他方の空間が被処理物の濾過時に濾液を排出するための排液空間となっている。反応空間には、被処理物を撹拌するための撹拌機が設けられており、撹拌機の駆動軸は、スクリーンの中央部および排液空間側に位置する容器の壁部を貫通して容器の外部に突出されている。したがって、スクリーンの中央部および排液空間側に位置する容器の壁部に駆動軸が貫通する軸貫通孔が形成されている。そして、容器の外側に位置する駆動軸の端部にモータが接続されている。
【0003】
この濾過装置を用いて被処理物を濾過する際には、反応工程(濾過準備工程)に続いて濾過工程が実行される。反応工程では、反応空間がスクリーンよりも下方に配置され、反応空間に被処理物が投入されて反応処理が行われる。濾過工程では、反転機構で容器が上下方向に反転され、スクリーンが反応空間よりも下方に配置される。そして、被処理物に含まれる固形物がスクリーンのフィルタで捕捉されるとともに、濾液が排液空間を通して容器の外部に排出される。
【0004】
特許文献1に記載された濾過装置では、反応工程(濾過準備工程)を実行するための反応空間がスクリーンよりも下方に配置されるので、反応工程で生成された固形物がスクリーンのフィルタに付着することを防止できる。しかしながら、濾過工程では、被処理物がスクリーンに接触するので、被処理物がスクリーンの軸貫通孔に付着して噛み込み易く、軸貫通孔におけるシール性が損なわれるという問題があった。つまり、被処理物が特定部に付着することによる弊害が生じていた。
【0005】
特許文献2に記載された多目的反応装置は、従来の濾過装置の一種であり、容器と、容器を上下方向に反転させるための反転機構とを備えている。容器の内部空間は、濾過板および濾布によって上下方向に二分されており、一方の空間が被処理物を反応処理するための反応空間となっており、他方の空間が被処理物の濾過時に濾液を排出するための排液空間となっている。反応空間には、被処理物を撹拌するための撹拌機と、撹拌機の駆動軸と、駆動軸に動力を伝達するための動力伝達部が設けられており、動力伝達部のギヤボックスが反応空間の中央部に配置されている。
【0006】
この多目的反応装置を用いて被処理物を処理する際には、反応工程(濾過準備工程)に続いて濾過工程が実行される。反応工程では、反応空間が濾過板および濾布よりも下方に配置され、反応空間に液体の被処理物が投入されて反応処理が行われる。反応工程において、被処理物の液面高さは、ギヤボックスの位置よりも下方に定められる。濾過工程では、反転機構で容器が上下方向に反転され、濾過板および濾布が反応空間よりも下方に配置される。そして、被処理物に含まれる固形物が濾布で捕捉されるとともに、濾液が排液空間を通して容器の外部に排出される。
【0007】
特許文献2に記載された多目的反応装置では、撹拌機の駆動軸が容器の壁部を貫通していないので、軸貫通孔におけるシール性が損なわれるという問題は生じない。しかしながら、反応空間の中央部に動力伝達部のギヤボックスが配置されているので、容器を反転させたときに、被処理物がギヤボックスに付着して噛み込み易く、メンテナンス性が良くないという問題があった。つまり、被処理物が特定部に付着することによる弊害が生じていた。
【先行技術文献】
【特許文献】
【0008】
英国特許第1487669号公報
実開昭61-178925号公報
【発明の概要】
【0009】
本発明は、被処理物が特定部に付着することによる弊害を防止できる濾過方法および濾過装置を提供することを目的とする。
【0010】
被処理物を収容する収容空間を有する容器と、前記容器に設けられ、前記被処理物を濾過するためのフィルタ部とを備える濾過装置を用いて、前記収容空間に前記被処理物が存在することがないクリーン領域を確保しながら前記被処理物を濾過する濾過方法であって、前記収容空間における前記フィルタ部よりも鉛直下方の領域に濾過準備領域を確保し、かつ、前記収容空間における前記フィルタ部よりも鉛直上方の領域に前記クリーン領域を確保した前記容器の状態を濾過準備状態としたとき、前記濾過準備状態にある前記容器の前記濾過準備領域で固形物を含む前記被処理物を準備する濾過準備工程と、前記フィルタ部を前記容器の鉛直下部に配置し、かつ、前記収容空間における前記フィルタ部よりも鉛直上方の領域に前記クリーン領域を確保した前記容器の状態を濾過状態としたとき、前記被処理物を前記濾過状態にある前記容器に設けられている前記フィルタ部で濾過して前記固形物を捕捉する濾過工程とを備えることにある。
(【0011】以降は省略されています)
この特許をJ-PlatPat(特許庁公式サイト)で参照する
関連特許
株式会社西部技研
除湿装置
13日前
株式会社日本触媒
ドロー溶質
7日前
ユニチカ株式会社
複合中空糸膜
27日前
サンノプコ株式会社
消泡剤
5日前
東レ株式会社
中空糸膜モジュール
26日前
個人
攪拌装置
1か月前
株式会社笹山工業所
濁水処理システム
1か月前
ヤマシンフィルタ株式会社
フィルタ装置
28日前
松岡紙業 株式会社
油吸着体の製造方法
7日前
大和ハウス工業株式会社
反応装置
20日前
個人
気液混合装置
5日前
富士電機株式会社
ガス処理システム
2日前
大陽日酸株式会社
CO2の回収方法
22日前
本田技研工業株式会社
ガス回収装置
22日前
株式会社フクハラ
圧縮空気圧回路ユニット
5日前
株式会社明電舎
成膜装置
2日前
杉山重工株式会社
回転円筒型反応装置
1か月前
本田技研工業株式会社
二酸化炭素回収装置
15日前
本田技研工業株式会社
二酸化炭素回収装置
20日前
本田技研工業株式会社
二酸化炭素回収装置
20日前
本田技研工業株式会社
二酸化炭素回収装置
20日前
本田技研工業株式会社
分離システム
1か月前
ノリタケ株式会社
触媒材料およびその利用
20日前
ノリタケ株式会社
触媒材料およびその利用
20日前
本田技研工業株式会社
二酸化炭素回収装置
20日前
本田技研工業株式会社
二酸化炭素回収装置
26日前
本田技研工業株式会社
二酸化炭素回収装置
28日前
本田技研工業株式会社
二酸化炭素回収装置
28日前
本田技研工業株式会社
二酸化炭素回収装置
28日前
本田技研工業株式会社
二酸化炭素回収装置
22日前
ノリタケ株式会社
触媒材料およびその利用
20日前
日東電工株式会社
吸着材
26日前
個人
フッ化炭素糸物にフッ素をコーティングした浄水手段
5日前
株式会社プロテリアル
触媒複合物および触媒前駆体複合物
21日前
セイコーエプソン株式会社
気体分離膜
1か月前
東京応化工業株式会社
ろ過処理方法、及び多孔質膜
20日前
続きを見る
他の特許を見る