TOP
|
特許
|
意匠
|
商標
特許ウォッチ
Twitter
他の特許を見る
10個以上の画像は省略されています。
公開番号
2025161735
公報種別
公開特許公報(A)
公開日
2025-10-24
出願番号
2025023206
出願日
2025-02-17
発明の名称
物理量検出装置及び物理量検出装置の製造方法
出願人
セイコーエプソン株式会社
代理人
個人
,
個人
,
個人
主分類
G01C
19/5607 20120101AFI20251017BHJP(測定;試験)
要約
【課題】検出腕の検出信号の個別の測定と感度向上を実現できる物理量検出装置等の提供。
【解決手段】物理量検出装置1は物理量検出素子10と支持基板30と回路装置20を含む。物理量検出素子10は第1検出電極、第2検出電極を有する第1検出腕と、第3検出電極、第4検出電極を有する第2検出腕を含む。回路装置20の検出回路110は、第1検出電極、第4検出電極からの第1検出信号、第4検出信号が入力される第1増幅回路121と、第3検出電極、第2検出電極からの第3検出信号、第2検出信号が入力される第2増幅回路122を含む。支持基板30は、第1検出電極、第2検出電極、第3検出電極、第4検出電極に接続される第1配線、第2配線、第3配線、第4配線を含む。支持基板30において、第2配線は検査時にグランドに接続され、動作時に第3配線に接続され、第4配線は検査時にグランドに接続され、動作時に第1配線に接続される。
【選択図】図8
特許請求の範囲
【請求項1】
複数の検出腕と複数の駆動腕と基部とを有する物理量検出素子と、
前記物理量検出素子を前記基部において支持する支持基板と、
前記物理量検出素子の前記複数の検出腕からの複数の検出信号に基づいて物理量を検出する検出回路を有する回路装置と、
を含み、
前記物理量検出素子は、前記複数の検出腕として、
第1検出電極及び第2検出電極を有し、前記基部から延びる第1検出腕と、
第3検出電極及び第4検出電極を有し、前記基部から前記第1検出腕と反対方向に延びる第2検出腕と、
を含み、
前記回路装置の前記検出回路は、
動作時に、前記第1検出電極からの第1検出信号と前記第4検出電極からの第4検出信号とが、第1入力ノードに入力され、前記第3検出電極からの第3検出信号と前記第2検出電極からの第2検出信号とが、第2入力ノードに入力される増幅回路を含み、
前記支持基板は、
前記第1検出電極に一端が接続される第1配線と、
前記第2検出電極に一端が接続される第2配線と、
前記第3検出電極に一端が接続される第3配線と、
前記第4検出電極に一端が接続される第4配線と、
を含み、
前記第2配線は、
前記支持基板において、検査時にグランドに接続され、動作時に前記第3配線に接続され、
前記第4配線は、
前記支持基板において、検査時にグランドに接続され、動作時に前記第1配線に接続されていることを特徴とする物理量検出装置。
続きを表示(約 1,300 文字)
【請求項2】
請求項1に記載された物理量検出装置において、
前記支持基板は、
第1グランド配線と、
第2グランド配線と、
を含み、
検査時に、前記第1グランド配線と前記第2配線とが接続され、前記第2グランド配線と前記第4配線とが接続されていることを特徴とする物理量検出装置。
【請求項3】
請求項2に記載された物理量検出装置において、
前記支持基板は、
前記第2配線と前記第1グランド配線との間に第1切断跡を有し、
前記第4配線と前記第2グランド配線との間に第2切断跡を有することを特徴とする物理量検出装置。
【請求項4】
請求項3に記載された物理量検出装置において、
前記第1切断跡及び前記第2切断跡は、平面視において、前記物理量検出素子に重ならないことを特徴とする物理量検出装置。
【請求項5】
請求項3に記載された物理量検出装置において、
前記第1切断跡及び前記第2切断跡は、平面視において、前記回路装置と重ならないことを特徴とする物理量検出装置。
【請求項6】
請求項1に記載された物理量検出装置において、
前記支持基板は、
前記増幅回路の前記第1入力ノードに接続するための第1端子と、
前記増幅回路の前記第2入力ノードに接続するための第2端子と、
を含み、
前記第1端子は、前記第1配線に接続され、
前記第2端子は、前記第3配線に接続されていることを特徴とする物理量検出装置。
【請求項7】
請求項6に記載された物理量検出装置において、
前記第2配線は、検査時において前記第2端子に非接続であり、
前記第4配線は、検査時において前記第1端子に非接続であることを特徴とする物理量検出装置。
【請求項8】
請求項1に記載された物理量検出装置において、
前記支持基板は、
前記第1配線に接続される第1パッドと、
前記第2配線に接続される第2パッドと、
前記第3配線に接続される第3パッドと、
前記第4配線に接続される第4パッドと、
を含み、
動作時において、前記第2パッドと前記第3パッドとが接続され、前記第4パッドと前記第1パッドとが接続されていることを特徴とする物理量検出装置。
【請求項9】
請求項8に記載された物理量検出装置において、
前記第2パッドと前記第3パッドとは第1ボンディングワイヤーにより接続され、
前記第4パッドと前記第1パッドとは第2ボンディングワイヤーにより接続されていることを特徴とする物理量検出装置。
【請求項10】
請求項8に記載された物理量検出装置において、
前記第1パッド、前記第2パッド、前記第3パッド及び前記第4パッドは、平面視において、前記物理量検出素子に重ならないことを特徴とする物理量検出装置。
(【請求項11】以降は省略されています)
発明の詳細な説明
【技術分野】
【0001】
本発明は、物理量検出装置及び物理量検出装置の製造方法等に関する。
続きを表示(約 3,300 文字)
【背景技術】
【0002】
特許文献1には、検出腕の正負電極の一方を接地せずに、正負電極の両方からの検出信号を検出回路に入力して、検出感度を向上させた物理量検出装置が開示されている。
【先行技術文献】
【特許文献】
【0003】
特開2015-184124号公報
【発明の概要】
【発明が解決しようとする課題】
【0004】
しかしながら、特許文献1の物理量検出装置では、第1検出腕の第1検出電極からの検出信号と、第2検出腕の第4検出電極からの検出信号を、第1増幅回路に入力するために、第1検出腕の第1検出電極と、第2検出腕の第4検出電極とが電気的に接続されていた。また第1検出腕の第2検出電極からの検出信号と、第2検出腕の第3検出電極からの検出信号を、第2増幅回路に入力するために、第1検出腕の第2検出電極と、第2検出腕の第3検出電極とが電気的に接続されていた。従って、不要信号が第1検出腕と第2検出腕のいずれから発生したのかが分からないことから、第1検出腕と第2検出腕の振動特性を個別に測定することができなかった。このため適切なバランスチューニング等を実現できず、物理量検出装置の性能向上が困難であった。
【課題を解決するための手段】
【0005】
本開示の一態様は、複数の検出腕と複数の駆動腕と基部とを有する物理量検出素子と、前記物理量検出素子を前記基部において支持する支持基板と、前記物理量検出素子の前記複数の検出腕からの複数の検出信号に基づいて物理量を検出する検出回路を有する回路装置と、を含み、前記物理量検出素子は、前記複数の検出腕として、第1検出電極及び第2検出電極を有し、前記基部から延びる第1検出腕と、第3検出電極及び第4検出電極を有し、前記基部から前記第1検出腕と反対方向に延びる第2検出腕と、を含み、前記回路装置の前記検出回路は、動作時に、前記第1検出電極からの第1検出信号と前記第4検出電極からの第4検出信号とが、第1入力ノードに入力され、前記第3検出電極からの第3検出信号と前記第2検出電極からの第2検出信号とが、第2入力ノードに入力される増幅回路を含み、前記支持基板は、前記第1検出電極に一端が接続される第1配線と、前記第2検出電極に一端が接続される第2配線と、前記第3検出電極に一端が接続される第3配線と、前記第4検出電極に一端が接続される第4配線と、を含み、前記第2配線は、前記支持基板において、検査時にグランドに接続され、動作時に前記第3配線に接続され、前記第4配線は、前記支持基板において、検査時にグランドに接続され、動作時に前記第1配線に接続されている物理量検出装置に関係する。
【0006】
本開示の他の態様は、複数の検出腕と複数の駆動腕と基部とを有する物理量検出素子と、前記物理量検出素子を前記基部において支持する支持基板と、前記物理量検出素子の前記複数の検出腕からの複数の検出信号に基づいて物理量を検出する検出回路を有する回路装置と、を含む物理量検出装置の製造方法であって、前記物理量検出素子は、前記複数の検出腕として、第1検出電極及び第2検出電極を有し、前記基部から延びる第1検出腕と、第3検出電極及び第4検出電極を有し、前記基部から前記第1検出腕と反対方向に延びる第2検出腕と、を含み、前記回路装置の前記検出回路は、動作時に、前記第1検出電極からの第1検出信号と前記第4検出電極からの第4検出信号とが、第1入力ノードに入力され、前記第3検出電極からの第3検出信号と前記第2検出電極からの第2検出信号とが、第2入力ノードに入力される増幅回路を含み、前記支持基板は、前記第1検出電極に一端が接続される第1配線と、前記第2検出電極に一端が接続される第2配線と、前記第3検出電極に一端が接続される第3配線と、前記第4検出電極に一端が接続される第4配線と、を含み、前記物理量検出素子と前記支持基板とを用意する第1工程と、前記支持基板に前記物理量検出素子を取り付ける第2工程と、前記複数の駆動腕の少なくとも1つを調整する第3工程と、前記第2配線とグランドとの間の接続及び前記第4配線とグランドとの間の接続を切断する第4工程と、前記第2配線を前記第3配線に接続し、前記第4配線を前記第1配線に接続する第5工程と、を含む製造方法に関係する。
【図面の簡単な説明】
【0007】
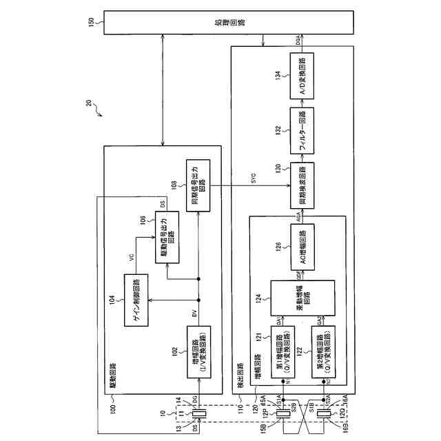
本実施形態の物理量検出装置の構成例を示す断面図。
物理量検出素子の動作説明図。
回路装置の構成例。
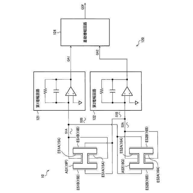
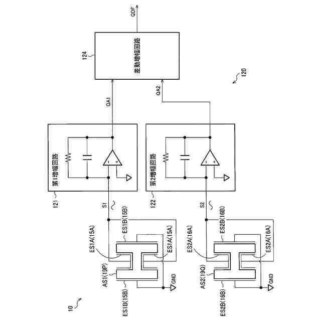
増幅回路の説明図。
増幅回路の動作を説明する信号波形図。
増幅回路の説明図。
物理量検出素子の平面図。
上面側から見た支持基板の平面図。
上面側から見た支持基板の平面図。
下面側から見た支持基板の平面図。
検査時における配線接続を模式的に示す図。
動作時における配線接続を模式的に示す図。
上面側から見た第2配線例の支持基板の平面図。
下面側から見た第2配線例の支持基板の平面図。
検査時における第2配線例の配線接続を模式的に示す図。
動作時における第2配線例の配線接続を模式的に示す図。
切断跡の説明図。
切断跡、パッドと物理量検出素子、回路装置との配置関係の説明図。
物理量検出装置の製造方法を示すフローチャート。
【発明を実施するための形態】
【0008】
以下、本実施形態について説明する。なお、以下に説明する本実施形態は、特許請求の範囲の記載内容を不当に限定するものではない。また本実施形態で説明される構成の全てが必須構成要件であるとは限らない。
【0009】
1.物理量検出装置
図1は本実施形態の物理量検出装置1の構成例を示す断面図である。図1に示すように本実施形態の物理量検出装置1は、物理量検出素子10と、物理量検出素子10を支持する支持基板30と、回路装置20を含む。また物理量検出装置1は、物理量検出素子10、支持基板30及び回路装置20を収容するパッケージ4を含むことができる。なお物理量検出装置1は図1の構成に限定されず、これらの一部の構成要素を省略したり、他の構成要素を追加するなどの種々の変形実施が可能である。また本実施形態では図1に示すように互いに直交する方向を方向DR1及び方向DR2とし、方向DR1及び方向DR2に直交する方向を方向DR3としている。方向DR1、DR2、DR3は、各々、第1方向、第2方向、第3方向である。またDR1、DR2、DR3の各方向の矢印先端側をプラス側ともいい、反対側をマイナス側とも言う。図1は物理量検出装置1を方向DR2での側面視で見た側面図である。
【0010】
物理量検出素子10は、物理量を検出するための素子であり、例えば物理量トランスデューサー又は振動素子と言うこともできる。物理量検出素子は、例えば振動片を有し、この振動片の振動を利用して物理量が検出される。例えば物理量検出素子がジャイロセンサー素子である場合には、物理量として角速度が検出される。ジャイロセンサー素子としては、例えば水晶などの圧電材料の薄板から形成される圧電型振動片を有するセンサー素子などがある。具体的にはジャイロセンサー素子は、Zカットなどの水晶基板により形成されたダブルT字型、音叉型又はH型等の振動片を有するセンサー素子である。或いはジャイロセンサー素子としてMEMS(Micro Electro Mechanical Systems)型のセンサー素子を用いてもよい。また物理量検出素子により検出される物理量は、角速度以外の例えば角加速度、角度、加速度、速度、移動距離又は圧力等の物理量であってもよい。
(【0011】以降は省略されています)
この特許をJ-PlatPat(特許庁公式サイト)で参照する
関連特許
個人
メジャー文具
1か月前
日本精機株式会社
検出装置
3日前
個人
採尿及び採便具
9日前
個人
アクセサリー型テスター
25日前
個人
高精度同時多点測定装置
24日前
甲神電機株式会社
電流検出装置
3日前
ユニパルス株式会社
ロードセル
1か月前
株式会社ミツトヨ
測定器
15日前
アズビル株式会社
圧力センサ
1か月前
アズビル株式会社
電磁流量計
18日前
ダイキン工業株式会社
監視装置
29日前
エイブリック株式会社
磁気センサ回路
1か月前
株式会社ヨコオ
ソケット
1か月前
株式会社チノー
放射光測温装置
1か月前
株式会社ヨコオ
ソケット
1か月前
トヨタ自動車株式会社
監視装置
1か月前
双庸電子株式会社
誤配線検査装置
4日前
TDK株式会社
ガスセンサ
1か月前
長崎県
形状計測方法
25日前
個人
システム、装置及び実験方法
18日前
個人
非接触による電磁パルスの測定方法
1日前
ローム株式会社
半導体装置
23日前
TDK株式会社
磁気センサ
1か月前
TDK株式会社
ガスセンサ
1か月前
愛知電機株式会社
軸部材の外観検査装置
12日前
大和製衡株式会社
組合せ計量装置
12日前
大和製衡株式会社
組合せ計量装置
12日前
株式会社東芝
重量測定装置
1か月前
ローム株式会社
半導体装置
23日前
日本信号株式会社
距離画像センサ
1日前
TDK株式会社
ガスセンサ
1か月前
愛知時計電機株式会社
ガスメータ
15日前
三菱マテリアル株式会社
温度センサ
1か月前
富士電機株式会社
エンコーダ
1か月前
日本特殊陶業株式会社
センサ
29日前
日本特殊陶業株式会社
センサ
29日前
続きを見る
他の特許を見る