TOP
|
特許
|
意匠
|
商標
特許ウォッチ
Twitter
他の特許を見る
10個以上の画像は省略されています。
公開番号
2025168097
公報種別
公開特許公報(A)
公開日
2025-11-07
出願番号
2024073228
出願日
2024-04-26
発明の名称
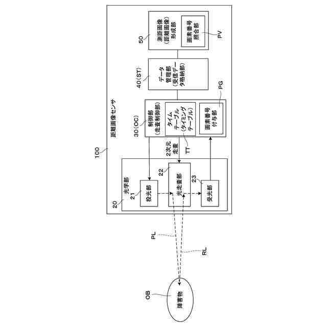
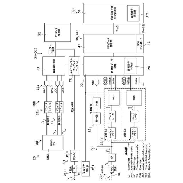
距離画像センサ
出願人
日本信号株式会社
代理人
個人
主分類
G01S
17/89 20200101AFI20251030BHJP(測定;試験)
要約
【課題】 光走査における同期のずれを自己診断し、自動復帰することができる距離画像センサを提供すること。
【解決手段】 距離画像センサ100は、光走査により取得した光射出から光受信までの時間差を示す受信データに基づき測距画像を形成するものであって、光走査における1回の光射出を測距画像における1つの画素位置と対応付けた画素番号を設定しておき、取得した受信データに画素番号を付与する画素番号付与部PGと、1フレーム分の受信データごとに画素番号の照合を行う画素番号照合部PVとを備える。
【選択図】図1
特許請求の範囲
【請求項1】
光走査により取得した光射出から光受信までの時間差を示す受信データに基づき測距画像を形成する距離画像センサであって、
光走査における1回の光射出を前記測距画像における1つの画素位置と対応付けた画素番号を設定しておき、取得した前記受信データに前記画素番号を付与する画素番号付与部と、
1フレーム分の前記受信データごとに前記画素番号の照合を行う画素番号照合部と
を備える距離画像センサ。
続きを表示(約 590 文字)
【請求項2】
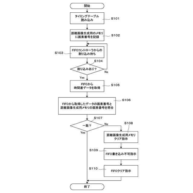
前記画素番号照合部は、前記画素番号に不一致がある場合、測距異常ありと判定する、請求項1に記載の距離画像センサ。
【請求項3】
前記画素番号照合部において、測距異常ありと判定された場合、新たな1フレーム分の光走査開始までに取得した前記受信データを消去する、請求項2に記載の距離画像センサ。
【請求項4】
前記画素番号付与部において前記画素番号を付与された前記受信データを、逐次格納する受信データ格納部を備え、
前記受信データ格納部は、先入れ先出し方式で、1フレーム分ごとに前記受信データを前記画素番号照合部に出力する、請求項1に記載の距離画像センサ。
【請求項5】
光走査による前記測距画像の形成に際して2次元走査を行う、請求項1に記載の距離画像センサ。
【請求項6】
1フレームの光走査開始から終了までにおける光源からの光射出のタイミングとミラーの反射による走査方向とを対応付けたタイミングテーブルに基づき走査制御を行う走査制御部を備え、
前記走査制御部において、前記タイミングテーブル中の光射出のタイミングのデータに前記画素番号が付与されており、
前記画素番号付与部は、前記タイミングテーブルに基づいて前記受信データに前記画素番号を付与する、請求項1に記載の距離画像センサ。
発明の詳細な説明
【技術分野】
【0001】
本発明は、監視対象に向けて射出した光の反射成分に基づき監視対象までの距離を測定した距離画像を生成する距離画像センサに関する。
続きを表示(約 1,200 文字)
【背景技術】
【0002】
例えば、光走査により測距を行う測距装置として、装置内の所定個所で自己診断用の測距を行うべく、透過反射を切り替える切替機構を利用して、測距状態の変化に基づく故障診断を行うものが知られている(特許文献1参照)。
【先行技術文献】
【特許文献】
【0003】
特開2020-91221号公報
【発明の概要】
【発明が解決しようとする課題】
【0004】
しかしながら、上記特許文献1では、専用の切替機構が必要になり、また、光走査における同期の狂い方によっては、異常を見過ごしてしまう可能性もある。
【0005】
本発明は上記した点に鑑みてなされたものであり、光走査における同期のずれを自己診断し、自動復帰することができる距離画像センサを提供することを目的とする。
【課題を解決するための手段】
【0006】
上記目的を達成するための距離画像センサは、光走査により取得した光射出から光受信までの時間差を示す受信データに基づき測距画像を形成する距離画像センサであって、光走査における1回の光射出を測距画像における1つの画素位置と対応付けた画素番号を設定しておき、取得した受信データに画素番号を付与する画素番号付与部と、1フレーム分の受信データごとに画素番号の照合を行う画素番号照合部とを備える。
【0007】
上記距離画像センサでは、画素位置と対応付けた画素番号を設定しておいた上で、受信データに当該画素番号を付与し、1フレーム分の受信データごとに画素番号の照合を行うことで、光走査において同期タイミングが狂った場合にこれを簡易かつ確実に検知できるので、異常の検出と修復とが可能となり、装置の信頼性向上が図れる。
【0008】
本発明の具体的な側面では、画素番号照合部は、画素番号に不一致がある場合、測距異常ありと判定する。この場合、画素番号の照合に基づき迅速かつ的確に異常の判断ができる。
【0009】
本発明の別の側面では、画素番号照合部において、測距異常ありと判定された場合、新たな1フレーム分の光走査開始までに取得した受信データを消去する。この場合、異常な状態にある受信データの使用を回避するとともに、フレーム単位で更新された受信データの取得開始が可能となる。
【0010】
本発明のさらに別の側面では、画素番号付与部において画素番号を付与された受信データを、逐次格納する受信データ格納部を備え、受信データ格納部は、先入れ先出し方式で、1フレーム分ごとに受信データを画素番号照合部に出力する。この場合、異常な状態にある受信データの使用を回避するとともに、フレーム単位で更新された受信データの取得開始が可能となる。
(【0011】以降は省略されています)
この特許をJ-PlatPat(特許庁公式サイト)で参照する
関連特許
日本信号株式会社
検査装置
9日前
日本信号株式会社
制御システム
1日前
日本信号株式会社
距離画像センサ
1日前
日本信号株式会社
可視光通信システム
1か月前
日本信号株式会社
検査装置及び検査方法
10日前
日本信号株式会社
列車接近警報システム
16日前
日本信号株式会社
運行管理システム及び方法
15日前
日本信号株式会社
地中レーダ装置及びその埋設物探査方法
10日前
日本信号株式会社
距離画像装置、距離画像の補正方法及び画像処理プログラム
9日前
個人
メジャー文具
1か月前
日本精機株式会社
検出装置
3日前
個人
採尿及び採便具
9日前
個人
アクセサリー型テスター
25日前
個人
高精度同時多点測定装置
24日前
ユニパルス株式会社
ロードセル
1か月前
株式会社ミツトヨ
測定器
15日前
甲神電機株式会社
電流検出装置
3日前
アズビル株式会社
電磁流量計
18日前
株式会社ヨコオ
ソケット
1か月前
トヨタ自動車株式会社
監視装置
1か月前
株式会社ヨコオ
ソケット
1か月前
エイブリック株式会社
磁気センサ回路
1か月前
ダイキン工業株式会社
監視装置
29日前
株式会社チノー
放射光測温装置
1か月前
個人
システム、装置及び実験方法
18日前
長崎県
形状計測方法
25日前
愛知時計電機株式会社
ガスメータ
15日前
TDK株式会社
磁気センサ
1か月前
TDK株式会社
ガスセンサ
1か月前
株式会社東芝
重量測定装置
1か月前
双庸電子株式会社
誤配線検査装置
4日前
ローム株式会社
半導体装置
23日前
ローム株式会社
半導体装置
23日前
個人
非接触による電磁パルスの測定方法
1日前
日本信号株式会社
距離画像センサ
1日前
TDK株式会社
ガスセンサ
1か月前
続きを見る
他の特許を見る