TOP
|
特許
|
意匠
|
商標
特許ウォッチ
Twitter
他の特許を見る
公開番号
2025162396
公報種別
公開特許公報(A)
公開日
2025-10-27
出願番号
2024065668
出願日
2024-04-15
発明の名称
鋼製ブラケットの取付装置
出願人
戸田建設株式会社
代理人
個人
主分類
E01D
19/02 20060101AFI20251020BHJP(道路,鉄道または橋りょうの建設)
要約
【課題】橋梁への鋼製ブラケットの取付作業を安全にかつ効率よく行うことができるようにする。
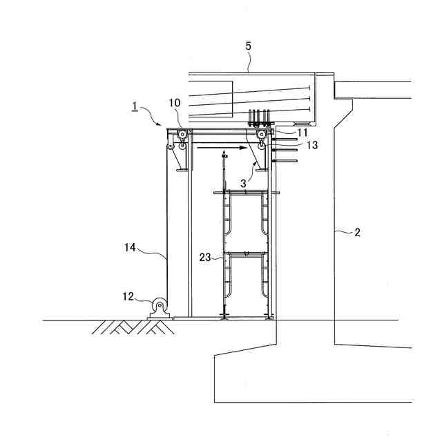
【解決手段】鋼製ブラケット取付位置に向けて水平方向に延びる梁鋼材10と、梁鋼材10に沿って走行可能な移動手段11と、移動手段11を介して鋼製ブラケット3を地上から鉛直方向に揚重する揚重手段12とからなり、揚重手段12によって鋼製ブラケット3を揚重した状態で、移動手段11を梁鋼材10に沿って走行させることで、鋼製ブラケット3を取付位置に移動する。梁鋼材10は、鋼製ブラケット3設置のための足場23の外側から、鋼製ブラケット取付位置に向けて水平方向に延びている。梁鋼材10が鋼製ブラケット3の両側にそれぞれ1本ずつ互いに平行して設けられるとともに、各梁鋼材に移動手段11及び揚重手段12が設けられ、鋼製ブラケット3の両側で揚重手段12によって鋼製ブラケット3が揚重される。
【選択図】図5
特許請求の範囲
【請求項1】
落橋防止装置における鋼製ブラケットの取付装置であって、
鋼製ブラケット取付位置に向けて水平方向に延びる梁鋼材と、前記梁鋼材に沿って走行可能な移動手段と、前記移動手段を介して前記鋼製ブラケットを地上から鉛直方向に揚重する揚重手段とからなり、
前記揚重手段によって前記鋼製ブラケットを揚重した状態で、前記移動手段を前記梁鋼材に沿って走行させることで、前記鋼製ブラケットを取付位置に移動することを特徴とする鋼製ブラケットの取付装置。
続きを表示(約 240 文字)
【請求項2】
前記梁鋼材は、前記鋼製ブラケット設置のための足場の外側から、鋼製ブラケット取付位置に向けて水平方向に延びている請求項1記載の鋼製ブラケットの取付装置。
【請求項3】
前記梁鋼材が前記鋼製ブラケットの両側にそれぞれ1本ずつ互いに平行して設けられるとともに、各梁鋼材に前記移動手段及び前記揚重手段が設けられ、前記鋼製ブラケットの両側で前記揚重手段によって前記鋼製ブラケットが揚重されるようになっている請求項1記載の鋼製ブラケットの取付装置。
発明の詳細な説明
【技術分野】
【0001】
本発明は、地震時などに橋脚・橋台から橋桁が落下するのを防止するための落橋防止装置における鋼製ブラケットの取付装置に関する。
続きを表示(約 1,600 文字)
【背景技術】
【0002】
地震時などに橋脚や橋台(下部工)と橋桁(上部工)との間に大きな相対変位が生じ、橋脚や橋台から橋桁が落下するのを防止する落橋防止装置として、例えば下記特許文献1に開示されるように、突起状のストッパと、これが係合するポット部とからなる変位制限装置や、可動支点部に設置した固定壁に水平力を分担させるようにした水平力分担構造(横変位拘束構造)、橋脚や橋台の桁かかり長を拡幅する橋座拡幅工などが知られている。
【0003】
前記変位制限装置では、前記ストッパは橋脚や橋台に固定された鋼製ブラケット上に設置され、前記ポット部は橋桁に設置されることが多い。また、前記水平力分担構造では、橋脚や橋台との間に遊間を確保しつつ橋桁の下面から突出する鋼製ブラケットが設置されるとともに、橋桁との間に遊間を確保しつつ橋脚や橋台の橋座面から突出するコンクリートブロックが設置される。前記橋座拡幅工では、橋脚や橋台の桁かかり長を拡幅するため、橋脚や橋台の前面に複数の鋼製ブラケットが設置される。
【0004】
このように、落橋防止装置の設置作業は、橋脚や橋台、橋桁に鋼製ブラケットを取り付ける作業を伴う。
【先行技術文献】
【特許文献】
【0005】
特開2012-184567号公報
【発明の概要】
【発明が解決しようとする課題】
【0006】
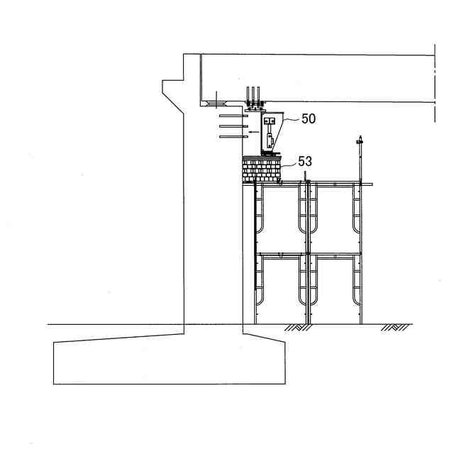
前記鋼製ブラケットは、重量が数百kg~数トンと非常に重く、形状が逆台形をしているため重心が取りにくい構造となっている。また、前記鋼製ブラケットの取り付け位置が桁下であることから、大型のクレーンなどを用いた吊り作業では直接取り付け施工できない。このため、従来の鋼製ブラケットの取り付けは、図6~図8に示されるように、チェーンブロックなどを用いて手間と時間をかけて人力で行われていた。
【0007】
具体的な従来の取付方法について説明すると、図6に示されるように、トラッククレーンなどの揚重装置51によって足場上に鋼製ブラケット50を搬入した後、図7に示されるように、低床台車52などによって足場上を設置位置近傍まで水平移動し、図8に示されるように、桁下面に固定したチェーンブロックやウインチ、ジャッキなどの小型の揚重装置を用いて高さ調整した受け架台53に受け替えた後、所定の固定位置にセットし、固定するという手順で行われていた。
【0008】
ところが、桁下の狭い場所にて、人力作業で重量物を取り扱うことにより、手間と時間がかかる欠点があった。また、取付時に微調整が必要であり、チェーンブロックやウインチ等の誘導に技術を要する。さらに、桁下面にアンカー固定したチェーンブロック等で鋼製ブラケットを吊り施工するため、上部工や下部工との接触による破損や、人(手指等)の挟まれ等の危険性が高まるという問題もあった。
【0009】
そこで本発明の主たる課題は、橋梁への鋼製ブラケットの取付作業を安全にかつ効率よく行うことができる鋼製ブラケットの取付装置を提供することにある。
【課題を解決するための手段】
【0010】
前記課題を解決するために請求項1に係る本発明として、落橋防止装置における鋼製ブラケットの取付装置であって、
鋼製ブラケット取付位置に向けて水平方向に延びる梁鋼材と、前記梁鋼材に沿って走行可能な移動手段と、前記移動手段を介して前記鋼製ブラケットを地上から鉛直方向に揚重する揚重手段とからなり、
前記揚重手段によって前記鋼製ブラケットを揚重した状態で、前記移動手段を前記梁鋼材に沿って走行させることで、前記鋼製ブラケットを取付位置に移動することを特徴とする鋼製ブラケットの取付装置が提供される。
(【0011】以降は省略されています)
この特許をJ-PlatPat(特許庁公式サイト)で参照する
関連特許
戸田建設株式会社
建築物
1か月前
戸田建設株式会社
建築物
1か月前
戸田建設株式会社
設計方法
28日前
戸田建設株式会社
天井構造
1か月前
戸田建設株式会社
柱設置方法
1か月前
戸田建設株式会社
凍結破砕管
29日前
戸田建設株式会社
空調制御システム
1か月前
戸田建設株式会社
コンクリート構造
10日前
戸田建設株式会社
照明制御システム
1か月前
戸田建設株式会社
議事録作成システム
1か月前
戸田建設株式会社
基礎フーチング設計方法
1か月前
戸田建設株式会社
鋼製ブラケットの取付装置
10日前
戸田建設株式会社
鋼製ブラケットの取付装置
10日前
戸田建設株式会社
建物改修方法及び雑壁構造
1か月前
戸田建設株式会社
身体冷却装置及び身体冷却服
21日前
戸田建設株式会社
植栽選定システム及び植栽選定方法
1か月前
フクビ化学工業株式会社
折板屋根
1か月前
戸田建設株式会社
杭基礎形成方法及びアタッチメント
1か月前
戸田建設株式会社
高炉スラグ微粉末を主材とした充填材
28日前
戸田建設株式会社
バイブロハンマ及びこれを用いた杭の引抜方法
28日前
戸田建設株式会社
情報処理方法、プログラムおよび情報処理装置
1か月前
戸田建設株式会社
情報処理方法、プログラムおよび情報処理装置
1か月前
戸田建設株式会社
情報処理方法、プログラムおよび情報処理装置
1か月前
戸田建設株式会社
超高強度吹付けコンクリート及びその吹付け方法
23日前
戸田建設株式会社
形鋼と鉄筋からなる主鋼材の建込み構造及び建込み方法
10日前
戸田建設株式会社
排水窓付型枠及びそれを用いたコンクリートの打設方法
20日前
戸田建設株式会社
仮想輸送経路の提案方法及び仮想輸送経路の提案システム
1か月前
戸田建設株式会社
仮想輸送経路の提案方法及び仮想輸送経路の提案システム
27日前
戸田建設株式会社
杭と柱梁仕口組立体の接合方法及び杭と柱梁仕口組立体の接合構造
1か月前
戸田建設株式会社
学習済みモデル、情報処理装置、情報処理方法、情報処理プログラム
27日前
戸田建設株式会社
報知送受信装置、報知システム、消火器スタンド、報知送信装置、及び報知受信装置
28日前
株式会社熊谷組
床版
28日前
株式会社熊谷組
床版
28日前
個人
折り畳み式標識具
1か月前
白出商事株式会社
縁石銘板(名板)
1か月前
株式会社熊谷組
床版接合構造
1か月前
続きを見る
他の特許を見る