TOP
|
特許
|
意匠
|
商標
特許ウォッチ
Twitter
他の特許を見る
10個以上の画像は省略されています。
公開番号
2025162389
公報種別
公開特許公報(A)
公開日
2025-10-27
出願番号
2024065661
出願日
2024-04-15
発明の名称
コンクリート構造
出願人
戸田建設株式会社
代理人
個人
主分類
E01D
19/02 20060101AFI20251020BHJP(道路,鉄道または橋りょうの建設)
要約
【課題】埋設型枠の製造コストを低減するとともに、埋設型枠の施工を簡略化し、かつ強度特性に優れ、劣化のおそれを低減する。
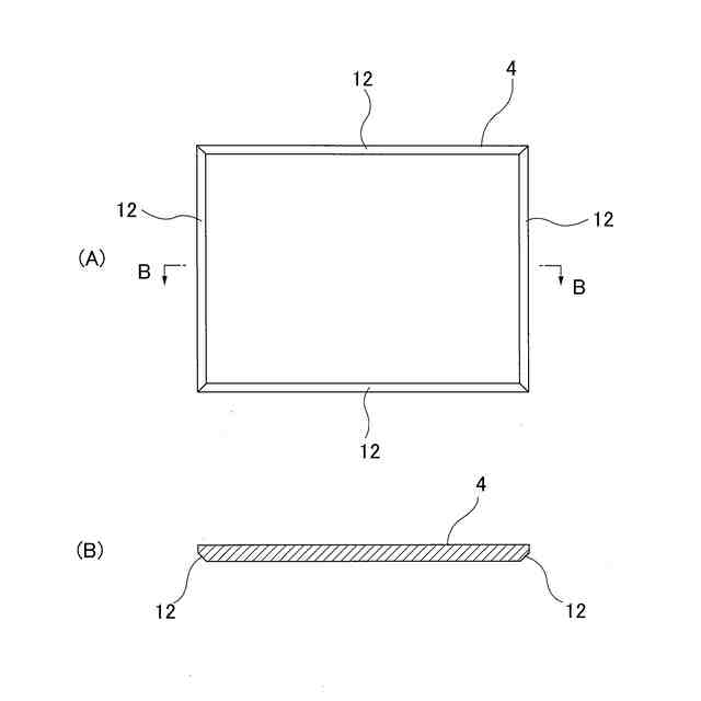
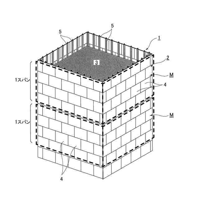
【解決手段】コンクリート構造1は、構造物の外殻を構成するプレキャストコンクリート製の埋設型枠2と、埋設型枠2の内部に現場打ちされる中詰めコンクリート3とからなる。埋設型枠2は、中詰めコンクリート3の1スパンの打設高さ毎にユニット化されたユニット型枠Mが順次積層されて構成される。ユニット型枠Mは、縦方向及び横方向にそれぞれ分割された複数の分割埋設型枠4を組み立てて構成され、複数の分割埋設型枠4が、内面側で、縦方向に沿うとともに横方向に間隔を空けて複数配置されたパネル固定用鋼材5に固定される。
【選択図】図1
特許請求の範囲
【請求項1】
構造物の外殻を構成するプレキャストコンクリート製の埋設型枠と、前記埋設型枠の内部に現場打ちされる中詰めコンクリートとからなるコンクリート構造であって、
前記埋設型枠は、前記中詰めコンクリートの1スパンの打設高さ毎にユニット化されたユニット型枠が順次積層されて構成されており、
前記ユニット型枠は、前記中詰めコンクリートの1スパンの打設高さに対して、縦方向及び横方向にそれぞれ分割された複数の分割埋設型枠が組み立てられるとともに、前記複数の分割埋設型枠が、内面側で、少なくとも縦方向に沿うとともに横方向に間隔を空けて複数配置されたパネル固定用鋼材に固定されて構成されていることを特徴とするコンクリート構造。
続きを表示(約 630 文字)
【請求項2】
前記分割埋設型枠が縦方向の1段置きに横方向にずらした千鳥配置とされており、
1枚の分割埋設型枠に対して、横方向に離隔した複数箇所に前記パネル固定用鋼材が配置され、これらのパネル固定用鋼材は、縦方向に隣接する前記分割埋設型枠の段において、横方向に隣り合う異なる前記分割埋設型枠に固定されたものを有している請求項1記載のコンクリート構造。
【請求項3】
前記パネル固定用鋼材として断面略コ字形の溝形鋼又はC形鋼が用いられるとともに、その両端縁にエンドプレートが固定され、一方の前記エンドプレートに凸部が形成され、他方の前記エンドプレートに前記凸部が係合可能な開孔が形成されており、
前記パネル固定用鋼材同士の軸方向の連結において、一方の前記パネル固定用鋼材に形成された前記凸部と、他方の前記パネル固定用鋼材に形成された前記開孔とを係合させている請求項1記載のコンクリート構造。
【請求項4】
新設のユニット型枠を既設のユニット型枠の上部に接続したとき、新設のユニット型枠と既設のユニット型枠との間に隙間が形成されるとともに、前記隙間に充填材が充填されている請求項1記載のコンクリート構造。
【請求項5】
前記分割埋設型枠の内面側の周縁に、全周に亘って切欠き部が形成され、隣接する前記分割埋設型枠との間で、前記切欠き部にコーキング材が施されている請求項1記載のコンクリート構造。
発明の詳細な説明
【技術分野】
【0001】
本発明は、構造物の外殻を構成するプレキャストコンクリート製の埋設型枠と、前記埋設型枠の内部に現場打ちされる中詰めコンクリートとからなるコンクリート構造に関する。
続きを表示(約 1,600 文字)
【背景技術】
【0002】
従来より、埋設型枠の内部に中詰めコンクリートを現場打ちして構築されるコンクリート構造として、例えば下記特許文献1に開示されるように、鉛直鋼材を立設し、型枠と躯体を兼ねた帯鉄筋を埋設したプレキャスト版からなる型枠を組立て、この型枠内にコンクリートを打設する塔構造物が知られている。
【0003】
また、従来より、複数の小型のプレキャストコンクリート製パネルからなる埋設型枠を、芋継ぎや専用の接続金具などによって縦横に接続し、この埋設型枠の内部に中詰めコンクリートを現場打ちして構築されるコンクリート構造が知られている。
【先行技術文献】
【特許文献】
【0004】
特開平11-152899号公報
【発明の概要】
【発明が解決しようとする課題】
【0005】
しかしながら、上記特許文献1などに開示される埋設型枠51の内部に中詰めコンクリート52を現場打ちして成る従来のコンクリート構造50では、図13に示されるように、中詰めコンクリート52の1スパンの打設高さに対して、連続する1枚の大型の埋設型枠51で構成されているため、コンクリート構造の寸法や形状に応じて、個別に埋設型枠51を製造する必要があり、コストが嵩む欠点があった。また、運搬には必ずクレーンなどの重機が必要となるため、施工費用が高くなる要因となっていた。
【0006】
また、従来の大型の埋設型枠51を使用したコンクリート構造では、運搬中や揚重作業中、施工作業中などに埋設型枠51の一部に欠損やひび割れなどの不具合が生じた場合、予備のパネルを準備しておくことが難しいため、パネルを作り直す必要があり、工期の遅れやコストの増大を招く可能性が高い。
【0007】
また、複数の小型のパネルを芋継ぎなどによって接続する埋設型枠の場合、継目が線状の弱部となるため、補強が必要になる場合がある。更に、専用の接続金具などによってパネル同士を縦横に接続する必要があるため、固定用の鋼材量が増加するとともに、場所によっては接続金具で接続できない箇所も生じるおそれがある。
【0008】
そこで本発明の主たるの課題は、埋設型枠の製造コストを低減するとともに、埋設型枠の施工を簡略化し、かつ強度特性に優れ、劣化のおそれを低減したコンクリート構造を提供することにある。
【課題を解決するための手段】
【0009】
前記課題を解決するために請求項1に係る本発明として、構造物の外殻を構成するプレキャストコンクリート製の埋設型枠と、前記埋設型枠の内部に現場打ちされる中詰めコンクリートとからなるコンクリート構造であって、
前記埋設型枠は、前記中詰めコンクリートの1スパンの打設高さ毎にユニット化されたユニット型枠が順次積層されて構成されており、
前記ユニット型枠は、前記中詰めコンクリートの1スパンの打設高さに対して、縦方向及び横方向にそれぞれ分割された複数の分割埋設型枠が組み立てられるとともに、前記複数の分割埋設型枠が、内面側で、少なくとも縦方向に沿うとともに横方向に間隔を空けて複数配置されたパネル固定用鋼材に固定されて構成されていることを特徴とするコンクリート構造が提供される。
【0010】
上記請求項1記載の発明では、埋設型枠が、中詰めコンクリートの1スパンの打設高さ毎にユニット化されたユニット型枠を順次積層して構成されており、前記ユニット型枠として、中詰めコンクリートの1スパンの打設高さに対して、縦方向及び横方向にそれぞれ分割された複数の分割埋設型枠を組み立てて構成するとともに、前記複数の分割埋設型枠が、内面側で、少なくとも縦方向に沿うとともに横方向に間隔を空けて複数配置されたパネル固定用鋼材に固定されることにより構成している。
(【0011】以降は省略されています)
この特許をJ-PlatPat(特許庁公式サイト)で参照する
関連特許
株式会社熊谷組
床版
28日前
株式会社熊谷組
床版
28日前
個人
折り畳み式標識具
1か月前
株式会社セイトク
防雪パネル
20日前
北越消雪機械工業株式会社
消雪装置
1か月前
白出商事株式会社
縁石銘板(名板)
1か月前
株式会社NIPPO
斜面用ローラ
29日前
株式会社NIPPO
斜面用ローラ
29日前
株式会社ササキコーポレーション
作業機
27日前
株式会社NIPPO
距離補正装置
28日前
戸田建設株式会社
コンクリート構造
10日前
株式会社NIPPO
切削用制御装置
28日前
三信工業株式会社
床版架設装置
27日前
桑名金属工業株式会社
融雪マットおよび融雪方法
27日前
東亜グラウト工業株式会社
防護柵の支柱構造
28日前
戸田建設株式会社
鋼製ブラケットの取付装置
10日前
戸田建設株式会社
鋼製ブラケットの取付装置
10日前
日鉄神鋼建材株式会社
補強金具、及び支柱取付構造
28日前
株式会社NIPPO
アスファルトスタッカ制御装置
29日前
西尾レントオール株式会社
コーンベット型電源装置
22日前
株式会社NIPPO
バンク用建設機械サポータ装置
29日前
鹿島建設株式会社
床版架設方法
13日前
日立建機株式会社
転圧機械
28日前
日鉄建材株式会社
吊り材で支持された足場用床パネル
27日前
オリエンタル白石株式会社
補強鋼板及び排土方法
20日前
株式会社日本コンポジット工業
壁用構造体
27日前
三井住友建設株式会社
床版拡幅工法
29日前
宮地エンジニアリング株式会社
ワイヤブリッジの設置方法
16日前
株式会社NIPPO
コンクリートスタッカ
1か月前
鹿島建設株式会社
橋、および橋の製造方法
21日前
株式会社プロテックエンジニアリング
衝撃吸収柵
23日前
東日本旅客鉄道株式会社
横取り方法
1か月前
オリエンタル白石株式会社
馬蹄形ジベルの合成床版撤去工法
14日前
株式会社NIPPO
スコップ加熱器
27日前
株式会社NIPPO
土壌改質材及びそれを含む土壌
28日前
日本製鉄株式会社
橋脚構造
27日前
続きを見る
他の特許を見る