TOP
|
特許
|
意匠
|
商標
特許ウォッチ
Twitter
他の特許を見る
公開番号
2025162623
公報種別
公開特許公報(A)
公開日
2025-10-28
出願番号
2024065899
出願日
2024-04-16
発明の名称
密閉型電池
出願人
トヨタ自動車株式会社
代理人
個人
主分類
H01M
50/342 20210101AFI20251021BHJP(基本的電気素子)
要約
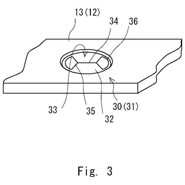
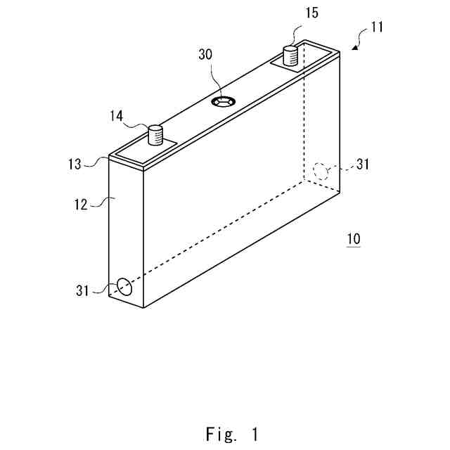
【課題】安全弁に排出物が詰まった場合でも、過昇温を抑制することが可能な密閉型電池を提供すること。
【解決手段】本開示に係る密閉型電池は、電極体を収容したケースと、ケースの上面に設けられ、ケースの内圧が第1基準値(第1開放圧力値)以上になったときに開放する安全弁と、ケースの側面に設けられ、ケースの内圧が第1基準値(第1開放圧力値)よりも高い第2基準値(第2開放圧力値)になったときに開放するガス排出弁と、を備える。
【選択図】図1
特許請求の範囲
【請求項1】
電極体を収容したケースと、
前記ケースの上面に設けられ、前記ケースの内圧が第1基準値以上になったときに開放する安全弁と、
前記ケースの側面に設けられ、前記ケースの内圧が前記第1基準値よりも高い第2基準値になったときに開放するガス排出弁と、
を備える
密閉型電池。
発明の詳細な説明
【技術分野】
【0001】
本開示は、密閉型電池に関する。
続きを表示(約 1,300 文字)
【背景技術】
【0002】
リチウムイオン電池等の密閉型電池は、車載用電源或いはパソコンや携帯端末等の電源として広く利用されている。密閉型電池には、過充電等によりケースの内圧が過剰に上昇した場合に、該内圧を開放する内圧開放機構が設けられている。内圧開放機構の一例として、特許文献1には、ケースの一部に形成された他の部分よりも厚みの小さい薄肉部で構成され、該ケースの内圧が所定値(開放圧力)以上になると、当該薄肉部が破断(開口)して内圧を開放する、安全弁が開示されている。
【先行技術文献】
【特許文献】
【0003】
特開2010-282850号公報
【発明の概要】
【発明が解決しようとする課題】
【0004】
電池の内部短絡に対する耐性を確認する安全性評価試験として、例えば、電池に釘を突刺して内部短絡を模擬的に発生させ、電池の発熱の度合を調べて、電池の安全性を確認する釘刺し試験がある。電池セルへの釘刺しにより電池セルが熱暴走すると、該電池セルの内部に排出物が発生する。
【0005】
電池パックは、一般的に複数の電池セルを接続して組み合わせることにより構成されている。試験によって意図的に電池パック内の1つの電池セルを発熱させる場合、安全弁に排出物が詰まると、当該電池セルの温度が上昇し、隣接した電池セルに熱が伝搬してさらに熱暴走し爆発等の事故につながる恐れがある。
【0006】
本発明は、このような問題に鑑みてなされたものであり、本発明の目的は、安全弁に排出物が詰まった場合でも、過昇温を抑制することが可能な密閉型電池を提供することを目的とする。
【課題を解決するための手段】
【0007】
本開示に係る密閉型電池は、電極体を収容したケースと、前記ケースの上面に設けられ、前記ケースの内圧が第1基準値以上になったときに開放する安全弁と、前記ケースの側面に設けられ、前記ケースの内圧が前記第1基準値よりも高い第2基準値になったときに開放するガス排出弁と、を備える。
【発明の効果】
【0008】
本発明によれば、安全弁に排出物が詰まった場合でも、過昇温を抑制することが可能な密閉型電池を提供することが可能となる。
【図面の簡単な説明】
【0009】
実施形態に係る密閉型電池の外形を示す図である。
図1の密閉型電池の内部構成を説明する図である。
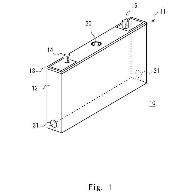
図2の安全弁、ガス排出弁の形状を示す図である。
【発明を実施するための形態】
【0010】
以下、図面を参照して本発明の実施形態について説明する。なお、以下の実施形態は、ここで開示される技術を限定することを意図したものではない。説明の明確化のため、以下の記載及び図面は、適宜、省略、及び簡略化がなされている。各図における寸法関係(長さ、幅、厚み等)は実際の寸法関係を反映するものではない。また、各図面において、同一の要素には同一の符号が付されており、必要に応じて重複説明は省略される。
(【0011】以降は省略されています)
この特許をJ-PlatPat(特許庁公式サイト)で参照する
関連特許
トヨタ自動車株式会社
車体
15日前
トヨタ自動車株式会社
電池
19日前
トヨタ自動車株式会社
方法
14日前
トヨタ自動車株式会社
車両
14日前
トヨタ自動車株式会社
車両
13日前
トヨタ自動車株式会社
方法
13日前
トヨタ自動車株式会社
車両
6日前
トヨタ自動車株式会社
車両
今日
トヨタ自動車株式会社
車両
6日前
トヨタ自動車株式会社
方法
13日前
トヨタ自動車株式会社
車両
12日前
トヨタ自動車株式会社
治具
7日前
トヨタ自動車株式会社
電池
12日前
トヨタ自動車株式会社
方法
12日前
トヨタ自動車株式会社
電池
今日
トヨタ自動車株式会社
車両
19日前
トヨタ自動車株式会社
車両
8日前
トヨタ自動車株式会社
電動機
12日前
トヨタ自動車株式会社
正極層
12日前
トヨタ自動車株式会社
モータ
20日前
トヨタ自動車株式会社
モータ
9日前
トヨタ自動車株式会社
モータ
14日前
トヨタ自動車株式会社
サーバ
9日前
トヨタ自動車株式会社
自動車
13日前
トヨタ自動車株式会社
飛行体
19日前
トヨタ自動車株式会社
充電装置
14日前
トヨタ自動車株式会社
冷却構造
14日前
トヨタ自動車株式会社
蓄電セル
12日前
トヨタ自動車株式会社
燃料電池
14日前
トヨタ自動車株式会社
蓄電セル
12日前
トヨタ自動車株式会社
バッテリ
12日前
トヨタ自動車株式会社
蓄電装置
12日前
トヨタ自動車株式会社
蓄電装置
6日前
トヨタ自動車株式会社
報知装置
14日前
トヨタ自動車株式会社
蓄電セル
12日前
トヨタ自動車株式会社
通知装置
12日前
続きを見る
他の特許を見る