TOP
|
特許
|
意匠
|
商標
特許ウォッチ
Twitter
他の特許を見る
公開番号
2025158253
公報種別
公開特許公報(A)
公開日
2025-10-17
出願番号
2024060617
出願日
2024-04-04
発明の名称
車両
出願人
トヨタ自動車株式会社
代理人
弁理士法人深見特許事務所
主分類
B60W
30/00 20060101AFI20251009BHJP(車両一般)
要約
【課題】減速制御の実行中にホーン及び/又はハザードランプを作動させるか否かを、走行中の地域その他の状況に応じて適切に設定可能とする。
【解決手段】VP100は、VCIB110とADK200との間に通信の異常が生じた場合に、減速制御を実行するように構成される。VCIB110は、減速制御の実行時にVP100のホーンを作動させるホーン制御、又は上記減速制御の実行時にVP100のハザードランプを作動させるハザードランプ制御を実行するか否かの指令を、ADK200から受信するように構成される。
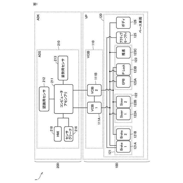
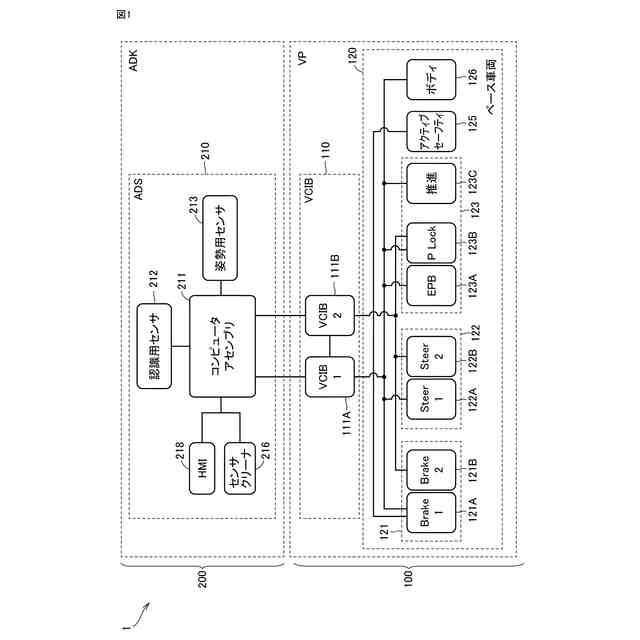
【選択図】図1
特許請求の範囲
【請求項1】
自動運転を行うための指令を生成する自動運転キットを搭載可能に構成された車両であって、
前記自動運転キットからの前記指令に従って車両制御を実行するベース車両と、
前記自動運転キットと通信を行う車両制御インターフェースボックスとを備え、
前記車両は、前記車両制御インターフェースボックスと前記自動運転キットとの間の通信に異常が生じた場合に、減速制御を実行するように構成され、
前記車両制御インターフェースボックスは、前記減速制御の実行時に前記ベース車両のホーンを作動させるホーン制御、又は前記減速制御の実行時に前記ベース車両のハザードランプを作動させるハザードランプ制御を実行するか否かの指令を、前記自動運転キットから受信するように構成される、車両。
続きを表示(約 420 文字)
【請求項2】
前記車両制御インターフェースボックスは、前記ホーン制御における前記ホーンの作動パターンを指示する指令を前記自動運転キットから受信するように構成される、請求項1に記載の車両。
【請求項3】
前記車両制御インターフェースボックスは、前記ホーン制御における前記ホーンの作動終了タイミングを指示する指令を前記自動運転キットから受信するように構成される、請求項1又は請求項2に記載の車両。
【請求項4】
前記作動終了タイミングを指示する指令は、前記作動終了タイミングが前記車両の固定時であることを指示する指令、又は前記作動終了タイミングが前記車両のシステムオフ時であることを指示する指令を含む、請求項3に記載の車両。
【請求項5】
前記ベース車両は、前記ハザードランプ制御が実行された場合に、前記車両の利用者による前記ハザードランプの停止操作を受付可能に構成される、請求項1に記載の車両。
発明の詳細な説明
【技術分野】
【0001】
本開示は、自動運転システムを備える車両に関する。
続きを表示(約 1,600 文字)
【背景技術】
【0002】
特開2018-132015号公報(特許文献1)には、自動運転システムを搭載した車両が開示されている。この車両は、動力システムと、電源システムと、自動運転システムとを搭載している。動力システムは、車両の動力を統括的に管理する。電源システムは、車両の電源を統括的に管理する。自動運転システムは、車両の自動運転制御を統括的に実行する。動力システム、電源システム、及び自動運転システムの各ECU(Electronic Control Unit)は、車載ネットワークを通じて互いに通信可能に接続されている(特許文献1参照)。
【先行技術文献】
【特許文献】
【0003】
特開2018-132015号公報
【発明の概要】
【発明が解決しようとする課題】
【0004】
自動運転システム(自動運転キット)を車両本体(車両プラットフォーム)に外付けすることが考えられる。この場合、自動運転キットを車両プラットフォームと通信で接続し、自動運転キットからの指令に従って車両を制御することで自動運転が実現される。自動運転中に自動運転キットと車両プラットフォームとの通信に異常が生じると、車両プラットフォームにおいて車両を停車させるための減速制御が実行される。
【0005】
減速制御の実行中に、車両周囲への注意喚起を目的にホーンやハザードランプを作動させることが考えられる。しかしながら、ホーンは、例えば北米の州によってはフリーウェイ(freeway)での使用が禁止されており、無条件でホーンを作動させると違法となる可能性がある。また、走行中のハザードランプの点灯は、ブレーキランプの効果(規定ランプ効果)を阻害するおそれがあり、無条件でハザードランプを作動させることも違法となる可能性がある。
【0006】
本開示は、かかる問題を解決するためになされたものであり、本開示の目的は、自動運転中に自動運転キットとの通信の異常が生じた場合に実行される減速制御時に、ホーン及び/又はハザードランプを作動させるか否かを、走行中の地域その他の状況に応じて適切に設定可能とすることである。
【課題を解決するための手段】
【0007】
本開示の車両は、自動運転キット(ADK(Autonomous Driving Kit))を搭載可能に構成された車両であって、車両を制御するベース車両と、ADKと通信を行う車両制御インターフェースボックス(VCIB(Vehicle Control Interface Box))とを備える。車両は、VCIBとADKとの間の通信に異常が生じた場合に、減速制御を実行するように構成される。VCIBは、上記減速制御の実行時に車両のホーンを作動させるホーン制御、又は上記減速制御の実行時に車両のハザードランプを作動させるハザードランプ制御を実行するか否かの指令を、ADKから受信するように構成される。
【0008】
このような構成により、ADKとの通信に異常が生じた場合の減速制御の実行時にホーン制御又はハザードランプ制御を実行するか否かを、ADKから設定することができる。これにより、減速制御の実行時にホーン又はハザードランプを作動させるか否かを、走行中の地域その他の状況に応じてADKから適宜設定することが可能となる。
【0009】
VCIBは、上記ホーン制御におけるホーンの作動パターンを指示する指令をADKから受信するように構成されてもよい。
【0010】
また、VCIBは、上記ホーン制御におけるホーンの作動終了タイミングを指示する指令をADKから受信するように構成されてもよい。
(【0011】以降は省略されています)
この特許をJ-PlatPat(特許庁公式サイト)で参照する
関連特許
個人
上部一体型自動車
15日前
個人
マスタシリンダ
22日前
日本精機株式会社
画像投映装置
11日前
日本精機株式会社
車載表示装置
1か月前
株式会社ニフコ
収納装置
1か月前
井関農機株式会社
作業車両
29日前
日本精機株式会社
車両用投影装置
29日前
株式会社SUBARU
車両
9日前
日本精機株式会社
車両用投射装置
16日前
日本精機株式会社
車両用表示装置
11日前
ダイハツ工業株式会社
変速機
1か月前
日本化薬株式会社
ガス発生器
9日前
日本化薬株式会社
ガス発生器
11日前
帝人株式会社
衝撃吸収構造体
1か月前
ダイハツ工業株式会社
変速機
1か月前
日産自動車株式会社
伝動部材
16日前
ダイハツ工業株式会社
変速機
1か月前
エムケー精工株式会社
車両処理装置
19日前
エムケー精工株式会社
車両処理装置
1か月前
日本化薬株式会社
ガス発生器
1か月前
個人
自動車の非常ブレーキアシスト
1か月前
日本化薬株式会社
ガス発生器
1か月前
ダイハツ工業株式会社
変速機
1か月前
トヨタ自動車株式会社
電動車両
15日前
トヨタ自動車株式会社
制御装置
10日前
株式会社アイシン
空気袋
19日前
極東開発工業株式会社
タンク車
1日前
豊田合成株式会社
乗員保護装置
9日前
株式会社小糸製作所
車両用灯具
16日前
トヨタ紡織株式会社
車両
1か月前
株式会社SUBARU
車体構造
24日前
トヨタ自動車株式会社
制御装置
1か月前
井関農機株式会社
作業車両
8日前
日本精機株式会社
車両用投射型表示装置
17日前
和光工業株式会社
昇降装置
3日前
トヨタ自動車株式会社
車両
8日前
続きを見る
他の特許を見る