TOP
|
特許
|
意匠
|
商標
特許ウォッチ
Twitter
他の特許を見る
公開番号
2025163822
公報種別
公開特許公報(A)
公開日
2025-10-30
出願番号
2024067365
出願日
2024-04-18
発明の名称
車両
出願人
トヨタ自動車株式会社
代理人
弁理士法人深見特許事務所
主分類
B60W
50/02 20120101AFI20251023BHJP(車両一般)
要約
【課題】自動運転システムとの通信に異常が発生した場合に適切な操舵を実施する。
【解決手段】VCIBは、ADKとの間で通信異常が発生したか否かを判定するステップ(S100)と、ADKとの間で通信異常が発生したと判定される場合(S100にてYES)、ADKの操舵要求があるか否かを判定するステップ(S102)と、ADKの操舵要求があると判定する場合(S102にてYES)、ADKの操舵要求を無効化するステップ(S104)とを含む、処理を実行する。
【選択図】図3
特許請求の範囲
【請求項1】
自動運転システムと、
前記自動運転システムからの指令に従って車両制御を実行する車両プラットフォームと、
前記車両プラットフォームと前記自動運転システムとの間のインターフェースを行なう車両制御インターフェースとを備え、
前記車両制御インターフェースは、前記自動運転システムと前記車両制御インターフェースとの間で通信異常となる場合には、前記通信異常になる前の操舵要求を受け付けない、車両。
続きを表示(約 260 文字)
【請求項2】
前記車両制御インターフェースは、前記通信異常となる場合には、アクセルオフ状態に対応する制御を継続する、請求項1に記載の車両。
【請求項3】
前記車両プラットフォームは、ステアリングアクチュエータを含み、
前記車両制御インターフェースは、前記通信異常となる場合には、前記ステアリングアクチュエータを用いた操舵制御をオフ状態にする、請求項1に記載の車両。
【請求項4】
前記自動運転システムは、前記車両プラットフォームに対して脱着可能に構成される、請求項1に記載の車両。
発明の詳細な説明
【技術分野】
【0001】
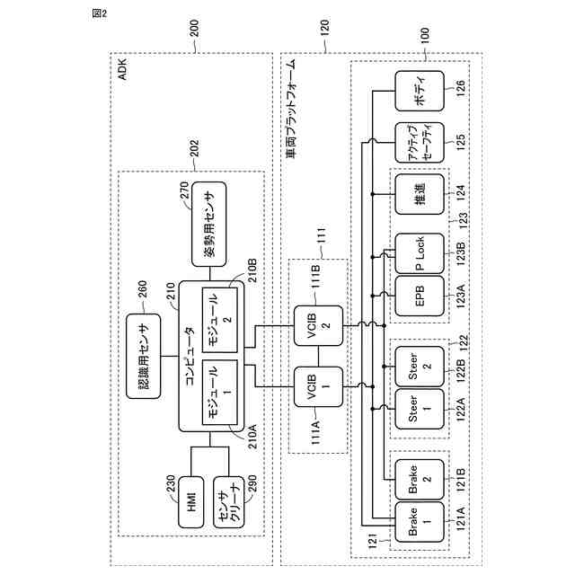
本開示は、車両に関する。
続きを表示(約 1,200 文字)
【背景技術】
【0002】
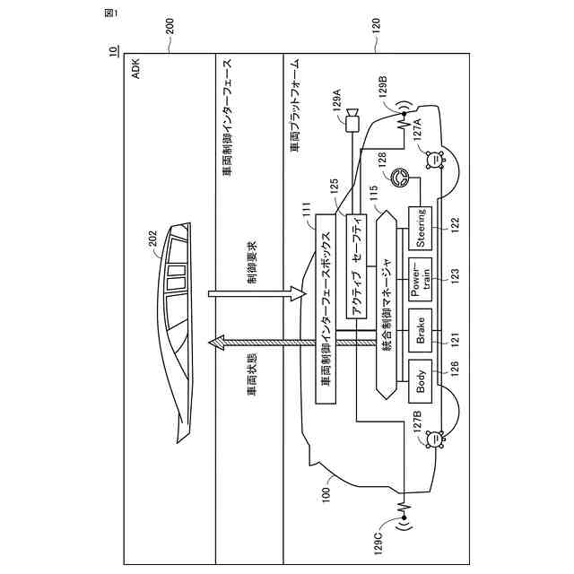
近年、ユーザの操作を受け付けることなく車両を走行させる自動運転システムの開発が進められている。自動運転システムは、たとえば、既存の車両に搭載可能にするためにインターフェースを介して車両とは別個に設けられる場合がある。
【0003】
自動運転システムについて、たとえば、特開2021-123140号公報(特許文献1)には、車両プラットフォームが自動運転システムから車両制御インターフェースを介して受信するタイヤ回転角度コマンドに従って操舵される技術が開示される。
【先行技術文献】
【特許文献】
【0004】
特開2021-123140号公報
【発明の概要】
【発明が解決しようとする課題】
【0005】
上述のような車両においては、自動運転システムとの通信に異常が発生すると自動運転システムによる車両の制御に異常が生じる場合がある。このような異常が生じる場合には、自動運転システムから車両プラットフォームが車両の制御を引き継ぐ。この場合に、自動運転システムによる車両の制御に異常が生じてから車両プラットフォームが車両の制御を引き継ぐまでの間に適切な操舵を実施することが求められる。
【0006】
本開示は、上述した課題を解決するためになされたものであって、その目的は、自動運転システムとの通信に異常が発生した場合に適切な操舵を実施する車両を提供することである。
【課題を解決するための手段】
【0007】
本開示のある局面に係る車両は、自動運転システムと、自動運転システムからの指令に従って車両制御を実行する車両プラットフォームと、車両プラットフォームと自動運転システムとの間のインターフェースを行なう車両制御インターフェースとを備える。車両制御インターフェースは、自動運転システムと車両制御インターフェースとの間で通信異常となる場合には、通信異常になる前の操舵要求を受け付けない。
【0008】
このようにすると、通信異常となることで自動運転システムによる車両プラットフォームの制御ができない状況となる場合に、通信異常になる前の操舵要求に従った操舵制御が抑制される。そのため、その後に行なわれる制御(たとえば、退避制御)を操舵要求に干渉されることなく実行することができる。
【0009】
ある実施の形態においては、車両制御インターフェースは、通信異常となる場合には、アクセルオフ状態に対応する制御を継続する。
【0010】
このようにすると、通信異常となった後に行なわれるアクセルオフ状態に対応する制御を通信異常となる前に受け付けた操舵要求に干渉されることなく実行することができる。
(【0011】以降は省略されています)
この特許をJ-PlatPat(特許庁公式サイト)で参照する
関連特許
トヨタ自動車株式会社
車両
1日前
トヨタ自動車株式会社
方法
17日前
トヨタ自動車株式会社
車両
7日前
トヨタ自動車株式会社
車両
14日前
トヨタ自動車株式会社
車両
21日前
トヨタ自動車株式会社
車両
1日前
トヨタ自動車株式会社
方法
8日前
トヨタ自動車株式会社
電池
24日前
トヨタ自動車株式会社
方法
8日前
トヨタ自動車株式会社
車両
16日前
トヨタ自動車株式会社
電池
23日前
トヨタ自動車株式会社
車両
28日前
トヨタ自動車株式会社
電池
7日前
トヨタ自動車株式会社
車両
28日前
トヨタ自動車株式会社
方法
7日前
トヨタ自動車株式会社
車両
8日前
トヨタ自動車株式会社
方法
17日前
トヨタ自動車株式会社
車両
22日前
トヨタ自動車株式会社
電池
14日前
トヨタ自動車株式会社
車両
3日前
トヨタ自動車株式会社
車両
9日前
トヨタ自動車株式会社
車体
10日前
トヨタ自動車株式会社
方法
9日前
トヨタ自動車株式会社
治具
2日前
トヨタ自動車株式会社
椅子
17日前
トヨタ自動車株式会社
固定子
22日前
トヨタ自動車株式会社
電動車
28日前
トヨタ自動車株式会社
電動車
28日前
トヨタ自動車株式会社
電動機
7日前
トヨタ自動車株式会社
モータ
4日前
トヨタ自動車株式会社
モータ
15日前
トヨタ自動車株式会社
電動車
24日前
トヨタ自動車株式会社
サーバ
4日前
トヨタ自動車株式会社
電動車
17日前
トヨタ自動車株式会社
ケース
23日前
トヨタ自動車株式会社
電磁弁
17日前
続きを見る
他の特許を見る