TOP
|
特許
|
意匠
|
商標
特許ウォッチ
Twitter
他の特許を見る
公開番号
2025163588
公報種別
公開特許公報(A)
公開日
2025-10-29
出願番号
2024067005
出願日
2024-04-17
発明の名称
画像形成装置
出願人
シャープ株式会社
代理人
弁理士法人あーく事務所
主分類
G03G
21/08 20060101AFI20251022BHJP(写真;映画;光波以外の波を使用する類似技術;電子写真;ホログラフイ)
要約
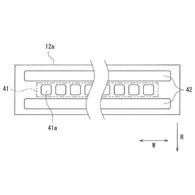
【課題】画像形成に用いられる部分をカバーするように、除電することができる画像形成装置を提供する。
【解決手段】画像形成装置は、感光体ドラムと、感光体ドラムに対向し、複数の発光素子を有するパネル部材12aとを備える。複数の発光素子は、感光体ドラムを露光して画像形成を行う画像露光部41と、除電を行う除電部42とを含む。除電部42は、画像露光部41よりも感光体ドラムを露光する面積が大きい。
【選択図】図2
特許請求の範囲
【請求項1】
感光体と、
前記感光体に対向し、複数の発光素子を有するパネル部材とを備える画像形成装置であって、
前記複数の発光素子は、前記感光体を露光して画像形成を行う画像露光部と、除電を行う除電部とを含み、
前記除電部は、前記画像露光部よりも前記感光体を露光する面積が大きいこと
を特徴とする画像形成装置。
続きを表示(約 550 文字)
【請求項2】
請求項1に記載の画像形成装置であって、
前記除電部は、前記画像露光部よりも前記感光体の回転軸に沿った軸方向での長さが長いこと
を特徴とする画像形成装置。
【請求項3】
請求項2に記載の画像形成装置であって、
前記除電部と前記画像露光部とは、前記軸方向と直交する方向に隣接して配置されること
を特徴とする画像形成装置。
【請求項4】
請求項3に記載の画像形成装置であって、
前記パネル部材は、前記画像露光部が設けられた面と前記除電部が設けられた面とが交差するように屈曲していること
を特徴とする画像形成装置。
【請求項5】
請求項2に記載の画像形成装置であって、
前記除電部は、前記画像露光部を間に挟むように、前記画像露光部の前記軸方向での両端に隣接して配置され、
前記画像露光部は、前記除電部と併せて除電を行うこと
を特徴とする画像形成装置。
【請求項6】
請求項2に記載の画像形成装置であって、
前記画像露光部は、前記軸方向と直交する方向に隣接して配置された複数列の前記発光素子で構成されていること
を特徴とする画像形成装置。
発明の詳細な説明
【技術分野】
【0001】
本開示は、複数の発光素子を有するパネル部材を備える画像形成装置に関する。
続きを表示(約 1,200 文字)
【背景技術】
【0002】
従来、レーザ光などを利用して感光体に静電潜像を形成し、この静電潜像を現像、転写、定着処理する工程を経て、用紙に画像を形成する電子写真方式の画像形成装置が広く用いられている。近年、感光体を露光する光源として、発光素子等の点光源が線状に配列された線状光源が用いられることがある。また、画像形成装置では、除電処理において線状光源を用いることがあり、その際に消費電流の低減を図る方法が提案されている(例えば、特許文献1参照)。
【先行技術文献】
【特許文献】
【0003】
特開2016-173555号公報
【発明の概要】
【発明が解決しようとする課題】
【0004】
従来の画像形成装置は、複数の発光素子が線状に配列されて構成された光源装置を発光制御して感光体上に静電潜像を形成しており、画像情報を取得する画像情報取得部と、画像情報に基づいて発光制御すると共に、感光体上の電荷を除去する除電処理を行う光源制御部とを含み、光源制御部は、除電処理において発光制御する際、複数の発光素子の一部を消灯状態とすると共に、静電潜像を形成するための発光制御における発光時間よりも、1回の発光制御における発光時間を長くする。
【0005】
上述した画像形成装置では、発光時間を長くして露光量を増やすことで、感光体表面の全体を露光するようにしているが、除電処理における処理時間が長くなるという課題がある。そのため、異なる方法によって、感光体表面の全体を除電することが求められている。
【0006】
本開示は、上記の課題を解決するためになされたものであり、画像形成に用いられる部分をカバーするように、除電することができる画像形成装置を提供することを目的とする。
【課題を解決するための手段】
【0007】
本開示に係る画像形成装置は、感光体と、前記感光体に対向し、複数の発光素子を有するパネル部材とを備える画像形成装置であって、前記複数の発光素子は、前記感光体を露光して画像形成を行う画像露光部と、除電を行う除電部とを含み、前記除電部は、前記画像露光部よりも前記感光体を露光する面積が大きいことを特徴とする。
【0008】
本開示に係る画像形成装置では、前記除電部は、前記画像露光部よりも前記感光体の回転軸に沿った軸方向での長さが長い構成としてもよい。
【0009】
本開示に係る画像形成装置では、前記除電部と前記画像露光部とは、前記軸方向と直交する方向に隣接して配置される構成としてもよい。
【0010】
本開示に係る画像形成装置では、前記パネル部材は、前記画像露光部が設けられた面と前記除電部が設けられた面とが交差するように屈曲している構成としてもよい。
(【0011】以降は省略されています)
この特許をJ-PlatPat(特許庁公式サイト)で参照する
関連特許
シャープ株式会社
端末装置
10日前
シャープ株式会社
加熱機器
8日前
シャープ株式会社
走行装置
15日前
シャープ株式会社
端末装置
15日前
シャープ株式会社
表示装置
23日前
シャープ株式会社
通信端末
17日前
シャープ株式会社
筐体構造
8日前
シャープ株式会社
表示装置
9日前
シャープ株式会社
画像形成装置
10日前
シャープ株式会社
アンテナ装置
9日前
シャープ株式会社
画像形成装置
22日前
シャープ株式会社
画像形成装置
3日前
シャープ株式会社
画像形成装置
3日前
シャープ株式会社
イオン発生装置
15日前
シャープ株式会社
緩衝材及び梱包体
10日前
シャープ株式会社
端末装置および通信方法
16日前
シャープ株式会社
端末装置および測定方法
5日前
シャープ株式会社
トナー及びその製造方法
22日前
シャープ株式会社
端末および端末の制御方法
22日前
シャープ株式会社
情報処理装置及び設定方法
8日前
シャープ株式会社
決済システム及び決済方法
11日前
シャープ株式会社
定着装置および画像形成装置
16日前
シャープ株式会社
動画像符号化装置、復号装置
8日前
シャープ株式会社
給紙装置および画像形成装置
16日前
シャープ株式会社
動画像符号化装置、復号装置
11日前
シャープ株式会社
端末装置、および、基地局装置
16日前
シャープ株式会社
端末装置、および、基地局装置
10日前
シャープ株式会社
給油管理装置、及び給油システム
8日前
シャープ株式会社
端末装置、方法、および、集積回路
10日前
シャープ株式会社
UE(User Equipment)
10日前
シャープ株式会社
端末装置、基地局装置、および、通信方法
15日前
シャープ株式会社
端末装置、基地局装置、および、通信方法
15日前
シャープ株式会社
画像形成装置の定着装置及び画像形成装置
5日前
シャープ株式会社
端末装置、基地局装置、および、通信方法
16日前
シャープ株式会社
画像処理装置及び画像処理装置の制御方法
8日前
シャープ株式会社
機器梱包セットおよびそれに用いられる緩衝材
22日前
続きを見る
他の特許を見る