TOP
|
特許
|
意匠
|
商標
特許ウォッチ
Twitter
他の特許を見る
公開番号
2025165171
公報種別
公開特許公報(A)
公開日
2025-11-04
出願番号
2024069115
出願日
2024-04-22
発明の名称
水素生成装置
出願人
パナソニックIPマネジメント株式会社
代理人
弁理士法人青藍国際特許事務所
主分類
C01B
3/38 20060101AFI20251027BHJP(無機化学)
要約
【課題】水素生成装置の熱回収効率を向上させるための技術を提供する。
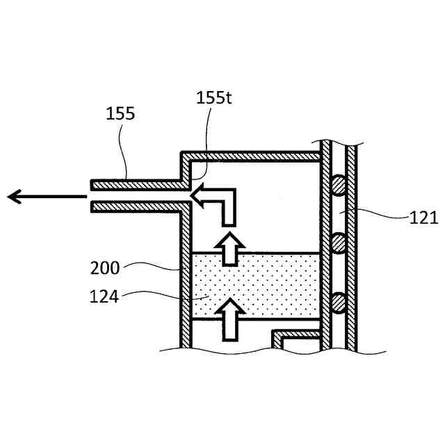
【解決手段】本開示の水素生成装置100は、容器10、加熱部20、蒸発部21、改質器22、CO除去器24、排出流路44及び出口配管55を備えている。排出流路44は、蒸発部21の周囲に設けられ、CO除去器24から容器10の外部に水素含有ガスを導く流路である。出口配管55は、排出流路44に向けて開口する開口端部55tを含む。出口配管55が取り付けられた位置における容器10の外周面10pとCO除去器24が配置された位置における容器10の外周面10pとが面一であり、開口端部55tが蒸発部21と容器10の内周面10qとの間に位置するように出口配管55が容器10の内周面10qから蒸発部21に向かって突出している。
【選択図】図1
特許請求の範囲
【請求項1】
容器と、
前記容器の内部に配置された加熱部と、
前記加熱部の周囲に配置され、前記加熱部の熱によって水を蒸発させて水蒸気を生成する蒸発部と、
前記水蒸気の流れ方向において前記蒸発部の下流に配置され、原料ガスと前記水蒸気とから水素含有ガスを生成する改質器と、
前記水素含有ガスの流れ方向において前記改質器の下流に配置され、前記水素含有ガスにおける一酸化炭素の濃度を低減するCO除去器と、
前記蒸発部の周囲に設けられ、前記CO除去器から前記容器の外部に前記水素含有ガスを導く排出流路と、
前記排出流路に向けて開口する開口端部を含み、前記容器に取り付けられた出口配管と、
を備え、
前記出口配管が取り付けられた位置における前記容器の外周面と前記CO除去器が配置された位置における前記容器の外周面とが面一であり、
前記開口端部が前記蒸発部と前記容器の内周面との間に位置するように前記出口配管が前記容器の内周面から前記蒸発部に向かって突出している、
水素生成装置。
続きを表示(約 470 文字)
【請求項2】
前記CO除去器は、前記容器の内周面と前記蒸発部との間に位置し、
前記出口配管が前記CO除去器の上方に位置し、
前記出口配管の前記開口端部が前記CO除去器の内縁よりも前記蒸発部の近くに位置している、
請求項1に記載の水素生成装置。
【請求項3】
前記容器の内周面と前記蒸発部との間に配置された隔壁をさらに備え、
前記CO除去器は、前記容器の内周面と前記隔壁との間に位置し、
前記隔壁と前記蒸発部との間の空間の上方に前記出口配管の前記開口端部が位置している、
請求項2に記載の水素生成装置。
【請求項4】
前記出口配管が取り付けられた位置における前記容器の外周面と前記CO除去器が配置された位置における前記容器の外周面とにまたがって前記容器の外周面を被覆する断熱部材をさらに備えた、
請求項1に記載の水素生成装置。
【請求項5】
前記断熱部材がグラスウール製の単一部材である、
請求項4に記載の水素生成装置。
発明の詳細な説明
【技術分野】
【0001】
本開示は、水素生成装置に関する。
続きを表示(約 1,400 文字)
【背景技術】
【0002】
特許文献1には、水素生成装置の一例が記載されている。特許文献1に記載された水素生成装置は、バーナで触媒を加熱して原料ガス及び水から水素含有ガスを生成するように構成されている。
【先行技術文献】
【特許文献】
【0003】
特開2021-14373号公報
【発明の概要】
【発明が解決しようとする課題】
【0004】
特許文献1に記載された水素生成装置によれば、水素含有ガスを外部に導くための出口配管が外筒に取り付けられている。出口配管が取り付けられた位置における外筒の直径は、CO除去器が配置された位置における外筒の直径よりも小さい。この構造は、水素含有ガスと水との間の熱交換を促進するので、熱回収効率の向上に有利であると考えられる。
【0005】
この種の水素生成装置において、バーナなどの加熱部で生成された熱の一部は、外筒を通じて周囲雰囲気に放出される。周囲雰囲気に放出される熱が少なければ少ないほど、熱回収効率が上昇する。熱回収効率が向上すれば、加熱部の消費エネルギーを抑制できる。したがって、水素生成装置は、周囲雰囲気への放熱を抑制して熱回収効率を向上させるための断熱部材を必要とする。
【0006】
特許文献1に記載された水素生成装置のように、出口配管が取り付けられた位置における外筒の外周面とCO除去器が配置された位置における外筒の外周面との間に段差があることは、断熱部材で外筒を隙間無く覆って周囲雰囲気への放熱を抑制する観点から望ましくない。
【0007】
本開示は、水素生成装置の熱回収効率を向上させるための技術を提供する。
【課題を解決するための手段】
【0008】
本開示は、
容器と、
前記容器の内部に配置された加熱部と、
前記加熱部の周囲に配置され、前記加熱部の熱によって水を蒸発させて水蒸気を生成する蒸発部と、
前記水蒸気の流れ方向において前記蒸発部の下流に配置され、原料ガスと前記水蒸気とから水素含有ガスを生成する改質器と、
前記水素含有ガスの流れ方向において前記改質器の下流に配置され、前記水素含有ガスにおける一酸化炭素の濃度を低減するCO除去器と、
前記蒸発部の周囲に設けられ、前記CO除去器から前記容器の外部に前記水素含有ガスを導く排出流路と、
前記排出流路に向けて開口する開口端部を含み、前記容器に取り付けられた出口配管と、
を備え、
前記出口配管が取り付けられた位置における前記容器の外周面と前記CO除去器が配置された位置における前記容器の外周面とが面一であり、
前記開口端部が前記蒸発部と前記容器の内周面との間に位置するように前記出口配管が前記容器の内周面から前記蒸発部に向かって突出している、
水素生成装置を提供する。
【発明の効果】
【0009】
本開示の技術によれば、水素生成装置の熱回収効率を向上させることができる。
【図面の簡単な説明】
【0010】
実施の形態1の水素生成装置の縦断面図
実施の形態1の水素生成装置における作用を説明するための部分拡大図
参考例の水素生成装置における作用を説明するための部分拡大図
【発明を実施するための形態】
(【0011】以降は省略されています)
この特許をJ-PlatPat(特許庁公式サイト)で参照する
関連特許
個人
一酸化炭素の製造方法
2日前
株式会社タクマ
固体炭素化設備
22日前
三菱重工業株式会社
加熱装置
22日前
東ソー株式会社
CHA型ゼオライトの製造方法
1か月前
株式会社トクヤマ
酸性次亜塩素酸水の製造方法
10日前
東ソー株式会社
CHA型ゼオライトの製造方法
1か月前
日揮触媒化成株式会社
珪酸液およびその製造方法
25日前
デンカ株式会社
窒化ケイ素粉末
24日前
デンカ株式会社
窒化ケイ素粉末
24日前
株式会社三井E&S
アンモニア改質装置
1か月前
住友化学株式会社
無機アルミニウム化合物粉末
9日前
デンカ株式会社
窒化ケイ素粉末の製造方法
29日前
三菱ケミカル株式会社
槽の洗浄方法及びシリカ粒子の製造方法
1か月前
デンカ株式会社
セラミックス粉末の製造方法
29日前
大阪瓦斯株式会社
酸化物複合体
1か月前
浅田化学工業株式会社
アルミナ水分散液の製造方法
1日前
JFEエンジニアリング株式会社
ドライアイス製造システム
10日前
トヨタ自動車株式会社
光触媒を用いた水素ガス製造装置
17日前
トヨタ自動車株式会社
光触媒を用いた水素ガス製造装置
1か月前
トヨタ自動車株式会社
光触媒を用いた水素ガス製造装置
22日前
デンカ株式会社
窒化ホウ素粉末の製造方法
1か月前
大阪瓦斯株式会社
水素製造装置及びその運転方法
1か月前
アサヒプリテック株式会社
濃縮方法
1か月前
トヨタ自動車株式会社
光触媒を用いた水素ガス製造装置
1か月前
アサヒプリテック株式会社
濃縮方法
1か月前
日揮触媒化成株式会社
粉体及びその製造方法、並びに樹脂組成物
29日前
株式会社レゾナック
球状アルミナ粉末
29日前
東ソー株式会社
アルカリ金属の除去方法
1か月前
日本電気株式会社
繊維状カーボンナノホーン集合体の接着分離方法
25日前
エヌ・イーケムキャット株式会社
ゼオライトの製造方法
24日前
株式会社大阪チタニウムテクノロジーズ
四塩化チタン製造方法
29日前
デンカ株式会社
窒化ホウ素粉末、及び樹脂成形体
25日前
デンカ株式会社
窒化ホウ素粉末、及び樹脂成形体
25日前
デンカ株式会社
窒化ケイ素粉末、及びその製造方法
29日前
日揮触媒化成株式会社
多孔質の三次粒子を含む粉体、及びその製造方法
25日前
デンカ株式会社
無機粉末及びそれを用いた樹脂組成物
1日前
続きを見る
他の特許を見る