TOP
|
特許
|
意匠
|
商標
特許ウォッチ
Twitter
他の特許を見る
公開番号
2025150951
公報種別
公開特許公報(A)
公開日
2025-10-09
出願番号
2024052119
出願日
2024-03-27
発明の名称
光触媒を用いた水素ガス製造装置
出願人
トヨタ自動車株式会社
代理人
個人
,
個人
主分類
C01B
3/04 20060101AFI20251002BHJP(無機化学)
要約
【課題】 光触媒を用いた水素ガス製造装置1に於いて、水槽2内の水の純度の低下に伴う水素発生量の低下を補償できるようにする。
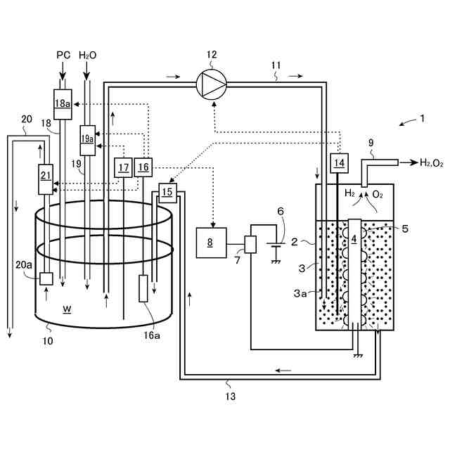
【解決手段】 水素ガス製造装置は、水を貯留する水槽部2と、水槽部内の水中に分散又は配置された光触媒体にして、光が照射されると、励起電子と正孔を発生し、水分子を水素と酸素とに分解する水の分解反応を起こし水素ガスを発生する光触媒物質を有する光触媒体3aと、光触媒体へ照射されて水の分解反応を惹起する光を発する光源装置4と、水槽部内の水の純度を検知する手段16aと、水の純度の低下に応答して水素ガスの発生量の低下を補償する手段16とを含む。水素ガス発生量低下の補償は、照射光量の増大、光触媒体の量の増大又は水の交換のいずれかにより達成されてよい。
【選択図】 図1
特許請求の範囲
【請求項1】
水素ガス製造装置であって、
水を貯留する水槽部と、
前記水槽部内の水中に分散又は配置された光触媒体にして、光が照射されると、励起電子と正孔を発生し、水分子を水素と酸素とに分解する水の分解反応を起こし水素ガスを発生する光触媒物質を有する光触媒体と、
前記光触媒体へ照射されて前記水の分解反応を惹起する光を発する光源装置と、
前記水槽部内の水の純度を検知する水純度検知手段と、
前記水純度検知手段の検知した前記水の純度の低下に応答して前記水素ガスの発生量の低下を補償する水素発生量補償手段と
を含む装置。
続きを表示(約 490 文字)
【請求項2】
請求項1の装置であって、前記水素発生量補償手段が前記光源装置から発せられる光の光量を制御する手段であり、前記水の純度の低下に応答して前記光源装置から発せられる光の光量を増大させるよう構成されている装置。
【請求項3】
請求項1の装置であって、前記水素発生量補償手段が前記水槽内の水中に分散又は配置される前記光触媒体の量を制御する手段であり、前記水の純度の低下に応答して前記光触媒体の量を増大するよう構成されている装置。
【請求項4】
請求項1の装置であって、更に、前記水槽内の水を排水する排水手段と、前記水槽内へ純水を追加する純水追加手段とを有し、前記水素発生量補償手段が前記水の純度の低下に応答して前記排水手段に前記水槽内の水を排水させ、その後、前記純水追加手段に前記水槽内へ純水を追加させるよう構成されている装置。
【請求項5】
請求項1の装置であって、前記水純度検知手段が水の電気伝導度を検出する手段であり、前記電気伝導度が所定の閾値を上回ると、前記水の純度が低下したと検知するよう構成されている装置。
発明の詳細な説明
【技術分野】
【0001】
本発明は、水素ガス製造装置に係り、より詳細には、光触媒を用いた水の分解反応により水素ガスを製造する装置に係る。
続きを表示(約 3,200 文字)
【背景技術】
【0002】
燃焼しても二酸化炭素を生じないクリーンな次世代の燃料としての利用が期待されている水素ガスは、光触媒を用いた光エネルギーによる水の分解反応により生成できるので、光触媒を用いた水素ガスの製造技術が種々提案されている。例えば、特許文献1には、水を受容する容器部と、容器部内の水中に分散又は配置された光触媒体にして、光が照射されると、励起電子と正孔を発生し、水を水素と酸素とに分解する水の分解反応を起こし水素ガスを発生する光触媒物質を有する光触媒体と、光触媒体へ照射されて水の分解反応を惹起する光を発する光源と、光源を担持する筐体とを含み、筐体が容器内の水中に配置されて、水が筐体の表面から放出される光源の排熱によって加温されると共に、筐体の水に接触する表面が光触媒物質にて被覆されている構成の水素ガス製造装置が提案されている。特許文献2には、光により水を分解する助触媒担持水分解用触媒を有し、水分解用触媒に水を供給することにより、水素及び/又は酸素を発生させる光触媒モジュールの運転方法に於いて、光触媒の活性が低下したときに、助触媒の前駆体である含金属化合物の液を該モジュール内に存在させ、光照射により光触媒上に光触媒用助触媒を析出させる方法が開示されている。
【先行技術文献】
【特許文献】
【0003】
特開2023-094488
特開2023-106958
【発明の概要】
【発明が解決しようとする課題】
【0004】
水槽内に光触媒の分散又は配置された水を貯留し、その水へLEDなどの光源装置からの光を照射して水分解反応を惹起して水素ガスを製造する装置の場合、任意の場所に設置できる点で、有利である。また、かかる構成の水素ガス製造装置に於いて、水素ガスの単位時間当たり又は適宜設定されてよい所定時間当たりの水素ガスの発生量(以下、単に「水素発生量」と称する。)は、水に照射される光の強度によって変化するので、照射光強度を調節することにより装置に於ける水素発生量を調節することが可能である。更に、水槽内の水は、水分解反応による水素ガスの発生と共に低減するので、連続的な水素ガスの製造を可能にすべく、水素ガス製造装置に於いては、水槽内へ水を連続的に供給するための機構(貯水タンク、タンクから水槽へ水を送出するための配管とポンプ等)が備わっていると便利である。そして、上記の水素ガス製造装置に於いて水槽内から水を送出して貯水タンクへ戻すことを可能する構成を設け、水槽と貯水タンクとの間で水を循環できるようにすると、水槽内の水の状態の管理が可能となる。(図1参照)。
【0005】
ところで、上記の如き水素ガス製造装置に於いては、光触媒やその他の部分の劣化を防止するべく、水分解反応のための水には、純度の高い水が使用されるところ、水槽内の水の純度が低下すると、水素発生量が低下する。従って、水の純度が低下したときには、水素発生量の低下を補償できるようになっていると有利である。
【0006】
かくして、本発明の主な課題は、光触媒を用いた水素ガス製造装置に於いて、水槽内の水の純度の低下に伴う水素発生量の低下を補償できる構成を提供することである。
【課題を解決するための手段】
【0007】
本発明の一つの態様によれば、上記の課題は、水素ガス製造装置であって、
水を貯留する水槽部と、
前記水槽部内の水中に分散又は配置された光触媒体にして、光が照射されると、励起電子と正孔を発生し、水分子を水素と酸素とに分解する水の分解反応を起こし水素ガスを発生する光触媒物質を有する光触媒体と、
前記光触媒体へ照射されて前記水の分解反応を惹起する光を発する光源装置と、
前記水槽部内の水の純度を検知する水純度検知手段と、
前記水純度検知手段の検知した前記水の純度の低下に応答して前記水素ガスの発生量の低下を補償する水素発生量補償手段と
を含む装置によって達成される。
【0008】
上記の構成に於いて、「光触媒物質」は、上記の如く、光を照射されると、水の分解反応を惹起して、水を還元して水素ガスを発生することのできる物質であってよい。「光触媒体」は、かかる光触媒物質から成り、水中に分散される粒子、或いは、光触媒物質そのもので形成された部材又は任意の基板又は基質上に光触媒物質を固定してなり、水中の任意の位置に配置されたもの、若しくは、それらの両方であってよい(以下、本明細書に於いて、単に「光触媒」という場合には、光触媒物質を指すものとする。)。「光源装置」は、典型的には、電力の供給を受けて、光触媒物質に吸収されて水の分解反応を惹起させる光を発する任意の形式の装置であってよい。光源装置の発光波長は、光触媒へ照射される光が効率的に光触媒に吸収されて励起電子と正孔とを生成するように、好適には、光触媒の量子収率が(任意に選択されてよい)所定の閾値を超える波長帯域に入るように選択される。この点に関し、典型的な光触媒の量子収率は、照射光の波長が或る波長付近を下回ると急激に増大する。従って、光源の発光波長が、かかる光触媒の量子収率の急激な増大が生ずる波長よりも短波長側となるように、光源が選択されてよい。本発明に於いて利用可能な光触媒としては、例えば、SrTiO3(チタン酸ストロンチウム)、La2Ti2O7(チタン酸ランタン)、Ga2O3(酸化ガリウム)、GaN(窒化ガリウム)、NaTaO3(タンタル酸ナトリウム)、TiO2(酸化チタン)などが利用可能である。なお、これらの光触媒は、適宜、助触媒が付加されて使用されてよい。光源装置の発光素子としては、種々の発光ダイオード(LED)が採用されてよく、具体的には、インジウム窒化ガリウム(InGaN)、ダイヤモンド(紫外)、窒化ガリウム(GaN)/アルミニウム窒化ガリウム(AlGaN)(紫外、青)、セレン化亜鉛(青)、酸化亜鉛(近紫外、紫、青)を用いたものが利用可能である。「水純度検知手段」は、任意の手法で水の純度を検知する手段であってよい。具体的には、水純度検知手段は、水の電気伝導度を検出する手段であってよく、水の電気伝導度が所定の閾値を上回ると、水の純度が低下したと検知するよう構成されていてよい。「所定の閾値」は、有意な水素発生量の低下が生ずる純度に対応する電気伝導度であり、使用者により適宜設定されてよい。「水素発生量補償手段」は、水素発生量がそれまでよりも増大する任意の手法による作動を実行する手段であってよい。
【0009】
上記の本発明の装置に於いては、不純物の混入、装置の構成部品の溶解や劣化などの何等かの理由で水槽部内の水の純度が低下して、水素発生量が低下すると、それに応答して、これまでより水素発生量を増大する作動が実行される。これにより、水の純度低下による水素発生量低下が補償されることとなる。
【0010】
具体的には、本発明の装置の一つの態様として、水素発生量補償手段は、光源装置から発せられる光の光量を制御する手段であってよく、水の純度の低下に応答して光源装置から発せられる光の光量を増大させるよう構成されていてよい。光源装置の発する光の光量の増大は、光源装置へ供給する電力又は電流の増大により達成される。光源装置から発せられる光の光量の増大により、光触媒体へ照射される光の量が増大し、これにより、水の分解反応がより多く発生し、水素発生量を増大する、即ち、水素発生量の低下を補償することとなる。
(【0011】以降は省略されています)
この特許をJ-PlatPat(特許庁公式サイト)で参照する
関連特許
トヨタ自動車株式会社
車両
今日
トヨタ自動車株式会社
固定子
1日前
トヨタ自動車株式会社
加熱器
今日
トヨタ自動車株式会社
車両構造
今日
トヨタ自動車株式会社
製造装置
1日前
トヨタ自動車株式会社
蓄電装置
今日
トヨタ自動車株式会社
車載装置
今日
トヨタ自動車株式会社
通話装置
今日
トヨタ自動車株式会社
監視装置
1日前
トヨタ自動車株式会社
制御装置
今日
トヨタ自動車株式会社
三角表示板
今日
トヨタ自動車株式会社
ガスタンク
今日
トヨタ自動車株式会社
情報処理装置
今日
トヨタ自動車株式会社
情報処理装置
今日
トヨタ自動車株式会社
車載システム
今日
トヨタ自動車株式会社
情報処理装置
1日前
トヨタ自動車株式会社
電池システム
今日
トヨタ自動車株式会社
被膜形成装置
1日前
トヨタ自動車株式会社
制御システム
今日
トヨタ自動車株式会社
電極の製造方法
1日前
トヨタ自動車株式会社
熱管理システム
今日
トヨタ自動車株式会社
車両の制御装置
今日
トヨタ自動車株式会社
車両の制御装置
今日
トヨタ自動車株式会社
燃料電池システム
今日
トヨタ自動車株式会社
バッテリ制御装置
1日前
トヨタ自動車株式会社
車両用ホイール構造
今日
トヨタ自動車株式会社
システムの動作方法
今日
トヨタ自動車株式会社
車車間充電用ケーブル
今日
トヨタ自動車株式会社
スロット紙の成形装置
1日前
トヨタ自動車株式会社
車両および検証システム
今日
トヨタ自動車株式会社
燃料電池車両の制御装置
今日
トヨタ自動車株式会社
設定値セットの生成装置
今日
トヨタ自動車株式会社
サスペンションロアアーム
今日
トヨタ自動車株式会社
ハイブリッド車両の制御装置
今日
トヨタ自動車株式会社
カイトの離着陸用ガイド装置
今日
トヨタ自動車株式会社
セルスタック及びその製造方法
今日
続きを見る
他の特許を見る