TOP
|
特許
|
意匠
|
商標
特許ウォッチ
Twitter
他の特許を見る
10個以上の画像は省略されています。
公開番号
2025008165
公報種別
公開特許公報(A)
公開日
2025-01-20
出願番号
2023110104
出願日
2023-07-04
発明の名称
熱処理設備
出願人
大同特殊鋼株式会社
代理人
個人
,
個人
,
個人
主分類
F27B
7/06 20060101AFI20250109BHJP(炉,キルン,窯;レトルト)
要約
【課題】1500℃以上の温度域で被処理物を撹拌しながら熱処理することが可能な熱処理設備を提供する。
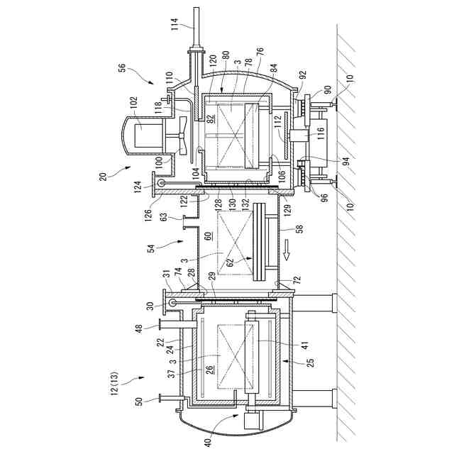
【解決手段】熱処理設備1は、(A)被処理物が内部に収容される筒状のレトルト3と、(B)内部と外部とが気密に区画される真空容器として構成され、その内部にレトルト3を収容する処理室26が設けられたバッチ式の熱処理チャンバ12と、(C)熱処理チャンバ12との間でレトルト3の受け渡しを行う搬送ユニット20と、を備えている。熱処理チャンバ12は断熱壁25により取り囲まれた処理室26と、レトルト3を支持しレトルト3を軸心周りに回転させる回転機構部40とを備えて、被処理物を所定の温度に加熱する加熱チャンバであり、加熱チャンバ12の処理室26に配設される回転機構部40の構成部品およびレトルト3は炭素材料で形成されている。
【選択図】 図5
特許請求の範囲
【請求項1】
(A)被処理物が内部に収容される筒状のレトルトと、
(B)内部と外部とが気密に区画される真空容器として構成され、その内部に前記レトルトを収容する処理室が設けられたバッチ式の熱処理チャンバと、
(C)前記熱処理チャンバとの間で前記レトルトの受け渡しを行う搬送ユニットと、
を備えた熱処理設備であって、
前記熱処理チャンバの少なくとも1つは、断熱壁により取り囲まれた前記処理室と、前記処理室に収容された前記レトルトを支持し前記レトルトを軸心周りに回転させる回転機構部とを備えて、前記被処理物を所定の温度に加熱する加熱チャンバであり、
前記加熱チャンバの前記処理室に配設される前記回転機構部の構成部品および前記レトルトが炭素材料で形成されている、熱処理設備。
続きを表示(約 400 文字)
【請求項2】
前記回転機構部は、前記加熱チャンバの開口部側から前記加熱チャンバの奥行き方向に延びる態様若しくは前記奥行き方向と交差する左右方向に延びる態様で前記処理室内に間隔を隔てて並設された一対のロールと、該ロールを回転自在に保持する軸受け部材と、を含んで構成されている、請求項1に記載の熱処理設備。
【請求項3】
前記レトルトは、その軸心が通る端部中央に内外を連通させるガス導入開口が形成されており、
前記加熱チャンバは、前記処理室に収容された前記レトルトの前記ガス導入開口にガスを送気するガス送気手段を備えている、請求項1に記載の熱処理設備。
【請求項4】
搬送軌道に沿って複数の前記熱処理チャンバが配置され、
前記搬送ユニットは、前記搬送軌道を移動し前記熱処理チャンバ間での前記レトルトの受渡しを行なう、請求項1に記載の熱処理設備。
発明の詳細な説明
【技術分野】
【0001】
この発明は被処理物に対して熱処理を施す熱処理設備に関する。
続きを表示(約 1,900 文字)
【背景技術】
【0002】
ファインセラミックス等の粉体を1500℃以上の温度で熱処理する場合には、トレー上に置いたカーボン製の鞘に粉体を充填し、トレープッシャー式等の連続炉にて熱処理を行うことが一般的であった。なお、下記特許文献1にはこれに関連した技術が開示されている。
【0003】
しかしながら、セラミックの窒化等、炉内の雰囲気と反応させることで目標の物質を合成させる処理の場合、以下の問題があった。
(1)鞘に粉体を充填すると雰囲気と触れる面積が限られるため、小型の鞘を多段積みする等の措置が不可避となる。また小分けにしたとしても雰囲気と触れる面積は限られるため、熱処理に長い時間が必要となってしまう。
(2)上記問題の解決にはロータリーキルン等で撹拌しながら処理して反応面積を稼ぐ手法が一般的であるが、ロータリーキルンは機構的に撹拌部を金属製とする必要があり、1500℃以上の温度域では同機構を用いる事が出来ない(撹拌部を金属製とした場合の使用限界温度は1300℃程度となる)。
【先行技術文献】
【特許文献】
【0004】
特開2021-123508号公報
【発明の概要】
【発明が解決しようとする課題】
【0005】
本発明は以上のような事情を背景とし、1500℃以上の温度域で被処理物を撹拌しながら熱処理することが可能な熱処理設備を提供することを目的とする。
【課題を解決するための手段】
【0006】
而してこの発明の第1の局面の熱処理設備は次のように規定される。即ち、
(A)被処理物が内部に収容される筒状のレトルトと、
(B)内部と外部とが気密に区画される真空容器として構成され、その内部に前記レトルトを収容する処理室が設けられたバッチ式の熱処理チャンバと、
(C)前記熱処理チャンバとの間で前記レトルトの受け渡しを行う搬送ユニットと、
を備えた熱処理設備であって、
前記熱処理チャンバの少なくとも1つは、断熱壁により取り囲まれた前記処理室と、前記処理室に収容された前記レトルトを支持し前記レトルトを軸心周りに回転させる回転機構部とを備えて、前記被処理物を所定の温度に加熱する加熱チャンバであり、
前記加熱チャンバの前記処理室に配設される前記回転機構部の構成部品および前記レトルトが炭素材料で形成されている。
【0007】
このように規定された第1の局面の熱処理設備によれば、加熱チャンバの処理室に配設される回転機構部の構成部品およびレトルトが炭素材料で形成されているため、これらが金属製の場合に生じる強度低下の問題を回避して、1500℃以上の温度域で被処理物を撹拌しながら熱処理することができる。
【0008】
ここで、前記回転機構部は、前記加熱チャンバの開口部側から前記加熱チャンバの奥行き方向に延びる態様若しくは前記奥行き方向と交差する左右方向に延びる態様で前記処理室内に間隔を隔てて並設された一対のロールと、該ロールを回転自在に保持する軸受け部材と、を含んで構成することができる(第2の局面)。
このようにすれば、ロールを回転させることで、ロールにより支持されているレトルトを回転させることができる。
【0009】
またこの発明では、前記レトルトの、その軸心が通る端部中央に、内外を連通させるガス導入開口を形成し、
前記処理室に収容された前記レトルトの前記ガス導入開口にガスを送気するガス送気手段を前記加熱チャンバに設けることができる(第3の局面)。
レトルトの端部中央に形成されたガス導入開口は、レトルトが回転した場合でも位置が変化しない。このためレトルトが軸心周りに回転している場合でも、ガス導入開口を通じてレトルトの内部にフレッシュなガスを継続的に送気することができ、レトルト内に収容された被処理物と雰囲気ガスとの反応を促進させることができる。
【0010】
またこの発明では、搬送軌道に沿って複数の前記熱処理チャンバを配置し、
前記搬送ユニットが、前記搬送軌道を移動し前記熱処理チャンバ間での前記レトルトの受渡しを行なうように構成することができる(第4の局面)。
このようにすれば、異なる温度で加熱処理を引き続き行う場合などに、複数の熱処理チャンバ間を移動させながら条件が異なる複数の工程を含む一連の熱処理を被処理物に施すことができる。
【図面の簡単な説明】
(【0011】以降は省略されています)
この特許をJ-PlatPat(特許庁公式サイト)で参照する
関連特許
大同特殊鋼株式会社
軟磁性合金
2日前
大同特殊鋼株式会社
疵判定方法
16日前
大同特殊鋼株式会社
棒材計数方法
2日前
大同特殊鋼株式会社
介在物評価方法
2日前
大同特殊鋼株式会社
炉蓋の支持構造
8日前
大同特殊鋼株式会社
超音波探傷方法
1か月前
大同特殊鋼株式会社
連続式真空ホットプレス装置
1か月前
大同特殊鋼株式会社
熱処理設備および浸炭焼入れ方法
2日前
大同特殊鋼株式会社
レーザ積層造形用粉末およびその製造方法
2日前
大同特殊鋼株式会社
変位量測定治具およびピーリングマシンにおける芯出し方法
10日前
株式会社サンコー
浸漬ヒーター
23日前
東京窯業株式会社
セッター
4か月前
中外炉工業株式会社
熱処理炉
12日前
株式会社プロテリアル
スラグ除滓装置
9か月前
ノリタケ株式会社
冷却炉
4日前
ノリタケ株式会社
加熱炉
4日前
中外炉工業株式会社
処理炉
3か月前
ノリタケ株式会社
熱処理装置
1か月前
ノリタケ株式会社
連続加熱炉
5か月前
ノリタケ株式会社
熱処理装置
2か月前
ノリタケ株式会社
熱処理装置
2か月前
ノリタケ株式会社
熱処理装置
2か月前
ノリタケ株式会社
熱処理装置
2か月前
ノリタケ株式会社
連続加熱炉
6か月前
ファーネス重工株式会社
熱風循環炉
5か月前
株式会社不二越
搬送システム
5か月前
ノリタケ株式会社
熱処理装置
4か月前
ノリタケ株式会社
連続加熱炉
6か月前
ノリタケ株式会社
サヤ
3か月前
有限会社ヨコタテクニカ
リフロー炉
2か月前
DiV株式会社
赤外線加熱装置
4か月前
特殊電極株式会社
インゴット予熱装置
5か月前
中外炉工業株式会社
連続処理炉
4か月前
成都大学
合金粉末酸化防止熱処理装置
6か月前
株式会社不二越
圧力制御システム
5か月前
大同特殊鋼株式会社
溶解炉
10か月前
続きを見る
他の特許を見る