TOP
|
特許
|
意匠
|
商標
特許ウォッチ
Twitter
他の特許を見る
公開番号
2025054479
公報種別
公開特許公報(A)
公開日
2025-04-08
出願番号
2023163540
出願日
2023-09-26
発明の名称
連続加熱炉
出願人
ノリタケ株式会社
代理人
個人
,
個人
主分類
F27B
9/24 20060101AFI20250331BHJP(炉,キルン,窯;レトルト)
要約
【課題】ターンローラのメンテナンス性向上。
【解決手段】連続加熱炉1は、炉体10と、複数の搬送ローラ20と、駆動機構40とを備えている。搬送ローラ20を駆動する駆動機構40は、一対の支持板41,42と、複数のシャフト43と、複数のスプロケット44と、チェーン45と、ターンローラ48と、支持部材70とを備えている。支持部材70は、支持軸71と、保持部材72と、固定部材73とを備えている。支持軸71は、ターンローラ48に挿通されている。保持部材72は、支持軸71の一方の端部71aを保持している。固定部材73は、支持軸71の他方の端部71bに接続されている。保持部材72は、一対の支持板41,42のうち一方の支持板41において、他方の支持板42と対向する対向面41aに取り付けられている。固定部材73は、他方の支持板42に固定されている。
【選択図】図4
特許請求の範囲
【請求項1】
搬送方向に沿った空間を囲うトンネル状の炉体と、
前記トンネル状の炉体をそれぞれ横断し、前記搬送方向に沿って並べられた複数の搬送ローラと、
前記炉体の一方の側方に配置され、前記複数の搬送ローラを駆動させる駆動機構と
を備え、
前記駆動機構は、一対の支持板と、複数のシャフトと、複数のスプロケットと、チェーンと、ターンローラと、支持部材とを備え、
一対の支持板は、前記炉体の一方の側方において、前記炉体に対向するように配置され、かつ、互いに間隔を空けて対向しており、
前記複数のシャフトは、
前記複数の搬送ローラの端部に対応するように前記搬送方向に沿って並べられ、
前記一対の支持板にそれぞれ掛け渡され、
軸受を介して回転可能に前記一対の支持板にそれぞれ支持されており、かつ、
前記炉体の外部において前記複数の搬送ローラのうち対応する1つの搬送ローラの一端をそれぞれ支持し、
前記複数のスプロケットは、前記一対の支持板の間において、前記複数のシャフトにそれぞれ取り付けられ、前記搬送方向に沿って並べられており、
前記チェーンは、前記一対の支持板の間において、前記搬送方向に沿って並んだ前記複数のスプロケットに噛み合うように経路が設定されており、
前記ターンローラは、前記一対の支持板の間に配置され、前記チェーンが巻き掛けられ、前記チェーンを所定の方向に折り返すローラであり、
前記支持部材は、
前記ターンローラに挿通される支持軸と、
前記支持軸の一方の端部を保持する保持部材と、
前記支持軸の他方の端部に接続されている固定部材と
を備え、
前記保持部材は、前記一対の支持板のうち一方の支持板において、他方の支持板と対向する対向面に取り付けられ、
前記固定部材は、前記他方の支持板に固定される、
連続加熱炉。
続きを表示(約 430 文字)
【請求項2】
前記他方の支持板には、前記支持軸が挿通される貫通孔が形成されている、請求項1に記載された連続加熱炉。
【請求項3】
前記貫通孔は、前記ターンローラの外径よりも大きい大径部と、前記ターンローラの外径よりも小さい小径部とが繋がった孔であり、
前記固定部材は、前記小径部に前記支持軸が挿通された状態で前記他方の支持板に固定される、請求項2に記載された連続加熱炉。
【請求項4】
前記固定部材は、前記小径部に前記支持軸が挿通された際に前記大径部を覆うカバーを有する、請求項3に記載された連続加熱炉。
【請求項5】
前記保持部材は、前記一方の支持板のうち、前記炉体と近い側の支持板に設けられている、請求項1~4のいずれか一項に記載された連続加熱炉。
【請求項6】
前記保持部材は、前記一方の支持板に対して着脱可能に取り付けられている、請求項1~4のいずれか一項に記載された連続加熱炉。
発明の詳細な説明
【技術分野】
【0001】
本開示は、連続加熱炉に関する。
続きを表示(約 2,300 文字)
【背景技術】
【0002】
特開2019-172436号公報には、炉体と、炉体の長手方向に所定間隔で配置された複数の搬送ローラを備えた加熱炉が開示されている。複数の搬送ローラの基端部には、それぞれスプロケットホイールが取り付けられている。スプロケットホイールには、チェーンが巻き掛けられている。各搬送ローラは、チェーンを介して回転駆動され、同方向へ等速回転するとされている。チェーンの経路は、ガイドスプロケットホイール等によって設定されている。
【先行技術文献】
【特許文献】
【0003】
特開2019-172436号公報
【発明の概要】
【発明が解決しようとする課題】
【0004】
複数の搬送ローラを回転駆動させるチェーンは、ターンローラに巻き掛けられている。連続加熱炉の使用時、ターンローラを支持する支持軸には、負荷がかかりやすい。
【課題を解決するための手段】
【0005】
ここで開示される連続加熱炉は、炉体と、複数の搬送ローラと、駆動機構とを備えている。炉体は、搬送方向に沿った空間を囲うトンネル状である。複数の搬送ローラは、トンネル状の炉体をそれぞれ横断し、搬送方向に沿って並べられている。駆動機構は、炉体の一方の側方に配置され、複数の搬送ローラを駆動させる。駆動機構は、一対の支持板と、複数のシャフトと、複数のスプロケットと、チェーンと、ターンローラと、支持部材とを備えている。一対の支持板は、炉体の一方の側方において、炉体に対向するように配置され、かつ、互いに間隔を空けて対向している。複数のシャフトは、複数の搬送ローラの端部に対応するように搬送方向に沿って並べられている。複数のシャフトは、一対の支持板にそれぞれ掛け渡されている。複数のシャフトは、軸受を介して回転可能に一対の支持板にそれぞれ支持されている。複数のシャフトは、炉体の外部において複数の搬送ローラのうち対応する1つの搬送ローラの一端をそれぞれ支持している。複数のスプロケットは、一対の支持板の間において、複数のシャフトにそれぞれ取り付けられ、搬送方向に沿って並べられている。チェーンは、一対の支持板の間において、搬送方向に沿って並んだ複数のスプロケットに噛み合うように経路が設定されている。ターンローラは、一対の支持板の間に配置され、チェーンが巻き掛けられ、チェーンを所定の方向に折り返すローラである。支持部材は、ターンローラに挿通される支持軸と、支持軸の一方の端部を保持する保持部材と、支持軸の他方の端部に接続されている固定部材とを備えている。保持部材は、一対の支持板のうち一方の支持板において、他方の支持板と対向する対向面に取り付けられている。固定部材は、他方の支持板に固定されている。かかる連続加熱炉では、支持軸の強度を向上させることができる。
【図面の簡単な説明】
【0006】
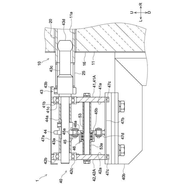
図1は、連続加熱炉1の断面図である。
図2は、連続加熱炉1の側面図である。
図3は、搬送ローラ20の、駆動側の支持構造を示す模式図である。
図4は、ターンローラ48の支持構造を示す模式図である。
図5は、ターンローラ48の支持構造を示す模式図である。
図6は、搬送ローラ20の、従動側の支持構造を示す模式図である。
【発明を実施するための形態】
【0007】
以下、本開示における実施形態の1つについて、図面を参照しつつ詳細に説明する。なお、以下の図面においては、同じ作用を奏する部材・部位には同じ符号を付して説明している。また、各図における寸法関係(長さ、幅、厚み等)は実際の寸法関係を反映するものではない。上、下、左、右、前、後の向きは、図中、U、D、L、R、F、Rrの矢印でそれぞれ表されている。ここで、上、下、左、右、前、後の向きは、説明の便宜上、定められているに過ぎず、特に言及されない限りにおいて本願発明を限定しない。
【0008】
図1は、連続加熱炉1の断面図である。図1では、搬送方向に沿った、連続加熱炉1の縦断面が模式的に示されている。図2は、連続加熱炉1の側面図である。図2では、連続加熱炉1の側面のうち、駆動側の側面が示されている。図3は、搬送ローラ20の、駆動側の支持構造を示す模式図である。
【0009】
〈連続加熱炉1〉
連続加熱炉1は、図1および図2に示されているように、炉体10と、複数の搬送ローラ20と、駆動機構40とを備えている。連続加熱炉1は、被処理物Aを搬送方向に沿って搬送しつつ、連続的に加熱処理する加熱炉である。連続加熱炉1は、搬送ローラの回転によって被処理物を搬送方向(後方Rrから前方F)に搬送しつつ加熱する、いわゆるローラハースキルンである。図中の矢印は、被処理物Aが搬送される搬送方向を示している。
【0010】
〈炉体10〉
炉体10は、図1に示されているように、被処理物Aが搬送方向に沿って搬送される空間10iを囲っている。炉体10は、トンネル状に形成されている。炉体10は、側壁11と、側壁12(図6参照)と、底壁13と、天井壁14とを有している。炉体10内の空間10iには、搬送ローラ20と、ヒータ30とが設けられている。被処理物Aは、搬送ローラ20によって空間10iを搬送されつつヒータ30によって加熱処理される。
(【0011】以降は省略されています)
この特許をJ-PlatPat(特許庁公式サイト)で参照する
関連特許
ノリタケ株式会社
焼成炉
3日前
ノリタケ株式会社
焼成炉
3日前
ノリタケ株式会社
焼成炉
3日前
ノリタケ株式会社
熱処理装置
2か月前
ノリタケ株式会社
金ペースト
5日前
ノリタケ株式会社
熱処理装置
2か月前
ノリタケ株式会社
熱処理装置
1か月前
ノリタケ株式会社
熱処理設備
1か月前
ノリタケ株式会社
熱処理設備
1か月前
ノリタケ株式会社
ガス吸収シート
16日前
ノリタケ株式会社
インクジェットインク
1か月前
ノリタケ株式会社
砥材及びその製造方法
1日前
ノリタケ株式会社
搬送装置および熱処理装置
1日前
ノリタケ株式会社
搬送装置および熱処理装置
1日前
ノリタケ株式会社
砥粒内包型高強度研磨パッド
5日前
ノリタケ株式会社
シリコンウエーハの研磨方法
1か月前
ノリタケ株式会社
導電性インク用インクジェット装置
17日前
ノリタケ株式会社
冷却装置およびそれを備えた熱処理装置
15日前
ノリタケ株式会社
砥材、砥材の製造方法及び砥石の製造方法
1日前
ノリタケ株式会社
半導体基板の平面研磨方法及び平面研磨装置
1日前
ノリタケ株式会社
導電ペーストおよび導電ペーストの製造方法
29日前
ノリタケ株式会社
樹脂フィルム処理装置および樹脂フィルムの熱処理方法
2か月前
ノリタケ株式会社
熱処理装置
2か月前
ノリタケ株式会社
タンパク質吸着方法、タンパク質精製方法、ならびにタンパク質精製装置
15日前
東邦チタニウム株式会社
ニッケル含有粒子、ニッケル含有粒子の製造方法及び、スラリー
25日前
ノリタケ株式会社
タンパク質吸着方法、タンパク質精製方法、ならびにタンパク質精製装置
15日前
ノリタケ株式会社
ビトリファイド砥石の製造方法、それに用いる砥材、および、ビトリファイド砥石
1か月前
株式会社サンコー
浸漬ヒーター
16日前
東京窯業株式会社
セッター
4か月前
中外炉工業株式会社
熱処理炉
5日前
株式会社プロテリアル
スラグ除滓装置
9か月前
中外炉工業株式会社
処理炉
3か月前
ノリタケ株式会社
熱処理装置
2か月前
ノリタケ株式会社
連続加熱炉
5か月前
有限会社ヨコタテクニカ
リフロー炉
2か月前
ノリタケ株式会社
連続加熱炉
5か月前
続きを見る
他の特許を見る