TOP
|
特許
|
意匠
|
商標
特許ウォッチ
Twitter
他の特許を見る
公開番号
2025072866
公報種別
公開特許公報(A)
公開日
2025-05-12
出願番号
2023183281
出願日
2023-10-25
発明の名称
搬送システム
出願人
株式会社不二越
代理人
個人
,
個人
主分類
F27D
3/12 20060101AFI20250501BHJP(炉,キルン,窯;レトルト)
要約
【課題】鋼部材の熱処理装置において、油槽に搬送される鋼部材の保温及び温度調整を行い、熱処理後の鋼部材の性質の信頼性を確保する。
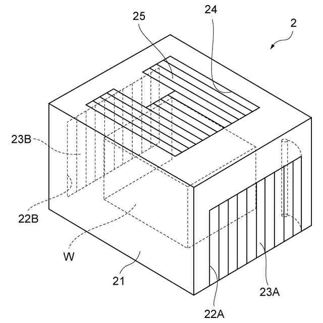
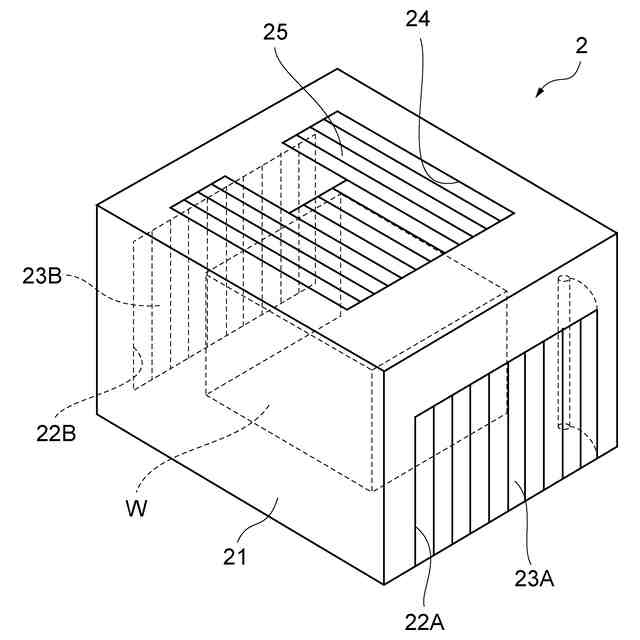
【解決手段】鋼部材Wに少なくとも加熱処理を行う第一室6A,6B,7と加熱処理された鋼部材Wに焼入れ処理を行う第二室8A,8B,8Cとの間に設けられる搬送室3と、搬送室3において、鋼部材Wを第一室6A,6B,7から第二室8A,8B,8Cに搬送する搬送装置2と、を備え、搬送装置2は、鋼部材Wを収納する空間を内部に有する箱状部材の収納部21と、第一室6A,6B,7又は第二室8A,8B,8Cと収納部21との間で鋼部材Wが出し入れされる第一開口部22A,22Bと、第一開口部22A,22Bを開状態又は閉状態とするように動作する第一開閉部23A,23Bと、を備える。
【選択図】図2A
特許請求の範囲
【請求項1】
鋼部材に少なくとも加熱処理を行う第一室と前記鋼部材に焼入れ処理を行う第二室との間に設けられる搬送室と、
前記搬送室において、前記鋼部材を前記第一室から前記第二室に搬送する搬送装置と、
を備え、
前記搬送装置は、
前記鋼部材を収納する空間を内部に有する箱状部材の収納部と、
前記第一室又は前記第二室と前記収納部との間で前記鋼部材が出し入れされる第一開口部と、
前記第一開口部を開状態又は閉状態とするように動作する第一開閉部と、
を備えることを特徴とする搬送システム。
続きを表示(約 540 文字)
【請求項2】
前記搬送装置は、
前記収納部のうち前記第一開口部とは異なる位置に形成される第二開口部と、
前記第二開口部を開状態又は閉状態とするように動作する第二開閉部と、
を更に備えることを特徴とする請求項1に記載の搬送システム。
【請求項3】
前記第二開口部は、前記収納部の天井部に形成されることを特徴とする請求項2に記載の搬送システム。
【請求項4】
前記収納部の少なくとも一部、及び、前記第一開閉部及び前記第二開閉部が、遮熱板で構成されることを特徴とする請求項1から3のいずれか1項に記載の搬送システム。
【請求項5】
前記第二室は複数であり、
前記鋼部材を搬送する際の前記第一開閉部と前記第二開閉部との動作を、前記第二室毎に制御する制御装置を更に備えることを特徴とする請求項4に記載の搬送システム。
【請求項6】
搬送中の前記鋼部材の温度を測定する温度測定部と、
前記鋼部材を搬送する際の前記第一開閉部と前記第二開閉部との動作を、前記温度測定部の測定結果に応じて制御する制御装置と、
を更に備えることを特徴とする請求項4に記載の搬送システム。
発明の詳細な説明
【技術分野】
【0001】
本発明は、鋼部材の熱処理装置に設けられる搬送システムに関する。
続きを表示(約 1,000 文字)
【背景技術】
【0002】
鋼部材の熱処理装置は、高温状態の鋼部材を油槽において急速冷却する。これは一般的に焼入れ処理と呼称される。焼入れ処理を行うことによって、鋼部材にマルテンサイトが形成され、鋼部材の硬度が高まる。
【先行技術文献】
【特許文献】
【0003】
特開2017-218655号公報
【発明の概要】
【発明が解決しようとする課題】
【0004】
従来の熱処理装置においては、鋼部材を油槽まで搬送している間に鋼部材の温度が低下し、焼入れ処理後の鋼部材の性質が劣化してしまうことがある。したがって、上記特許文献1には、鋼部材をチャンバに入れて保温した状態で油槽へ搬送する搬送装置が開示されている。
【0005】
しかしながら、上記特許文献1に開示された搬送装置は、鋼部材の温度調整ができないため、鋼部材毎に熱処理後の性質がばらつく可能性がある。
【0006】
上述の問題に鑑み、本発明は、熱処理装置において、油槽に搬送される鋼部材の保温及び温度調整を行い、熱処理後の鋼部材の性質の信頼性を確保することができる搬送システムを提供することを目的とする。
【課題を解決するための手段】
【0007】
上記課題を解決するために、本発明に係る搬送システムは、鋼部材に少なくとも加熱処理を行う第一室と前記鋼部材に焼入れ処理を行う第二室との間に設けられる搬送室と、前記搬送室において、加熱処理された前記鋼部材を前記第一室から前記第二室に搬送する搬送装置と、を備え、前記搬送装置は、前記鋼部材を収納する空間を内部に有する箱状部材の収納部と、前記第一室又は前記第二室と前記収納部との間で前記鋼部材が出し入れされる第一開口部と、前記第一開口部を開状態又は閉状態とするように動作する第一開閉部と、を備える。
【0008】
また、前記搬送装置は、前記収納部のうち前記第一開口部とは異なる位置に形成される第二開口部と、前記第二開口部を開状態又は閉状態とするように動作する第二開閉部と、を更に備える。
【0009】
また、前記第二開口部は、前記収納部の天井部に形成される。
【0010】
また、前記収納部の少なくとも一部、及び、前記第一開閉部及び前記第二開閉部が、遮熱板で構成される。
(【0011】以降は省略されています)
この特許をJ-PlatPat(特許庁公式サイト)で参照する
関連特許
株式会社不二越
ロボット
9日前
株式会社不二越
硬質材料
22日前
株式会社不二越
電磁切替弁
1か月前
株式会社不二越
射出成形機
1か月前
株式会社不二越
ブローチ盤
22日前
株式会社不二越
駆動伝達装置
1か月前
株式会社不二越
アクチュエータ
1か月前
株式会社不二越
熱処理システム
1か月前
株式会社不二越
ロボットシステム
1か月前
株式会社不二越
ロボット操作装置
1か月前
株式会社不二越
ロボットシステム
1か月前
株式会社不二越
油圧駆動システム
1か月前
株式会社不二越
ロボットシステム
1か月前
株式会社不二越
エッジ仕上げ装置
22日前
株式会社不二越
ノンリーク三方弁
12日前
株式会社不二越
垂直多関節ロボット
23日前
株式会社不二越
複合アクチュエータ
12日前
株式会社不二越
スカイビング加工機
1か月前
株式会社不二越
スカイビング加工機
1か月前
株式会社不二越
移動ロボットシステム
12日前
株式会社不二越
斜板式ピストンポンプ
3日前
株式会社不二越
可変容量制御ピストンポンプ
12日前
株式会社不二越
X線回折測定装置及びプログラム
12日前
株式会社不二越
センサ及びセンサを備えるロボット
1か月前
株式会社不二越
マルテンサイト系ステンレス鋼焼結体
1か月前
株式会社不二越
マルテンサイト系ステンレス鋼焼結体
1か月前
株式会社不二越
データ修復機能を有する回路システム
1か月前
株式会社不二越
歯車加工用合金鋼およびそれを用いた歯車
22日前
株式会社不二越
転がり軸受用転動体およびそれを用いた転がり軸受
1か月前
株式会社サンコー
浸漬ヒーター
23日前
東京窯業株式会社
セッター
4か月前
中外炉工業株式会社
熱処理炉
12日前
株式会社プロテリアル
スラグ除滓装置
9か月前
ノリタケ株式会社
冷却炉
4日前
ノリタケ株式会社
加熱炉
4日前
中外炉工業株式会社
処理炉
3か月前
続きを見る
他の特許を見る