TOP
|
特許
|
意匠
|
商標
特許ウォッチ
Twitter
他の特許を見る
10個以上の画像は省略されています。
公開番号
2025028473
公報種別
公開特許公報(A)
公開日
2025-03-03
出願番号
2023133308
出願日
2023-08-18
発明の名称
設計システム、コンピュータ実装方法、及びコンピュータプログラム
出願人
学校法人立命館
代理人
個人
主分類
G06F
30/27 20200101AFI20250221BHJP(計算;計数)
要約
【課題】モータ等の構造体を自動設計する際に、崩壊した形状などの不適切な形状が生成されることを抑制する。
【解決手段】開示の設計システムは、有形の構造体の形状を生成する生成器と、前記生成器によって生成された形状に基づいて前記構造体の特性を評価する評価器と、を備える。前記生成器は、前記構造体の形状をノード及びエッジを有するグラフで表現したグラフデータを生成するよう構成されている。前記評価器は、前記グラフデータを前記生成器から取得し、前記グラフデータに基づいて、前記構造体の特性を評価するよう構成されている。
【選択図】図1
特許請求の範囲
【請求項1】
有形の構造体の形状を生成する生成器と、
前記生成器によって生成された形状に基づいて前記構造体の特性を評価する評価器と、
を備え、
前記生成器は、前記構造体の形状をノード及びエッジを有するグラフで表現したグラフデータを生成するよう構成され、
前記評価器は、前記グラフデータを前記生成器から取得し、前記グラフデータに基づいて、前記構造体の前記特性を評価するよう構成されている
設計システム。
続きを表示(約 790 文字)
【請求項2】
前記グラフデータは、前記グラフを表現する行列と、前記グラフに含まれる前記ノードの位置座標を少なくとも示す特徴ベクトルと、を有する
請求項1に記載の設計システム。
【請求項3】
前記特徴ベクトルは、前記ノードに関連付けられた材料を示す材料データを更に有する
請求項2に記載の設計システム。
【請求項4】
前記ノードに関連付けられる前記材料は、永久磁石を含む
請求項3に記載の設計システム。
【請求項5】
前記材料データは、前記永久磁石の着磁方向を示すデータを含む
請求項4に記載の設計システム。
【請求項6】
前記ノードは、前記構造体に含まれる頂点を示す
請求項1に記載の設計システム。
【請求項7】
前記ノードは、前記構造体に含まれる部分領域を示す
請求項1に記載の設計システム。
【請求項8】
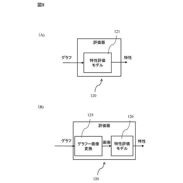
前記評価器は、前記構造体の形状を示す前記グラフデータが入力されると、前記構造体の前記特性を出力するよう機械学習された評価モデルを備える
請求項1に記載の設計システム。
【請求項9】
前記評価器は、
前記構造体の形状を示す前記グラフデータを前記構造体の形状を示す画像に変換する変換器と、
前記構造体の形状を示す前記画像が入力されると、前記構造体の前記特性を出力するよう機械学習された評価モデルと、
を備え、
前記変換器から出力された前記画像は、前記評価モデルの入力に与えられる
請求項1に記載の設計システム。
【請求項10】
前記構造体は、電気機械である
請求項1に記載の設計システム。
(【請求項11】以降は省略されています)
発明の詳細な説明
【技術分野】
【0001】
本開示は、モータ等の構造体の設計システム、コンピュータ実装方法、及びコンピュータプログラムに関する。
続きを表示(約 1,400 文字)
【背景技術】
【0002】
非特許文献1は、埋込磁石同期モータの自動設計システムを開示している。この自動設計システムは、モータの回転子の形状を示す画像を生成する生成モデルと、生成した画像からモータ特性を予測する予測モデルと、を備える。
【先行技術文献】
【非特許文献】
【0003】
清水 悠生、“深層生成モデルを活用したIPMSMの効率に関するロバスト最適化”、電気学会研究会資料.SA、電気学会静止器研究会[編]、2022 (80-100)、7-12、2022-09-30
清水 悠生、“モータ研究者の技術解説”、[online]、[令和5年8月7日検索]、インターネット<URL:https://yuyumoyuyu.com/2023/01/15/paperintroduction2/>
【発明の概要】
【0004】
非特許文献1の自動設計システムは、図10(A)に示すように、モータの形状を示す画像400を生成する生成モデル310と、生成された画像400からモータ特性450を予測する特性予測モデル320と、を備える。この自動設計システムによれば、形状の生成と生成された形状の特性の予測(評価)と、を繰り返し実行することで、モータの最適化構造(最適解)を自動的に設計することができる。
【0005】
しかし、非特許文献1の自動設計システムにおいては、生成モデルが、図10(B)に示すような製造不可能な形状(崩壊した形状)を生成し、その形状が最適解として選択されるおそれがある。
【0006】
したがって、モータ等の構造体を自動設計する際に、崩壊した形状などの不適切な形状が生成されることを抑制することが望まれる。
【0007】
画像は、表現自由度が高すぎるため、生成モデルが、製造不可能な形状を生成するおそれがある。したがって、表現自由度を抑えた表現形式を採用することで、不適切な形状が生成されることを抑制することができる。
【0008】
本開示においては、表現自由度を抑えた表現形式として、グラフが利用される。ここでのグラフは、グラフ理論におけるグラフである。グラフは、ノード(頂点)の集合と、ノードに接続するエッジ(辺)の集合と、で構成される。
【0009】
グラフは、画像よりは表現自由度が低いが、構造体の2次元形状又は3次元形状を表現するのに十分な表現自由度を有する。したがって、グラフは、生成される形状の表現形式として好適であり、崩壊した形状などの不適切な形状が生成されることを抑制することができる。
【0010】
本開示のある側面は、システムである。開示のシステムは、有形の構造体の形状を生成する生成器と、前記生成器によって生成された形状に基づいて前記構造体の特性を評価する評価器と、を備える設計システムであり得る。前記生成器は、前記構造体の形状をノード及びエッジを有するグラフで表現したグラフデータを生成するよう構成され得る。前記評価器は、前記グラフデータを前記生成器から取得し、前記グラフデータに基づいて、前記構造体の特性を評価するよう構成され得る。
(【0011】以降は省略されています)
この特許をJ-PlatPat(特許庁公式サイト)で参照する
関連特許
学校法人立命館
光演算装置
4か月前
学校法人立命館
液面レベルセンサ
1か月前
学校法人立命館
情報埋め込み方法
2か月前
学校法人立命館
バイオ炭の分析方法
1か月前
学校法人立命館
センサ及びセンサシステム
1か月前
学校法人立命館
運動誘導装置、運動誘導方法
6か月前
学校法人立命館
流路構造、流路構造製造方法
5か月前
トヨタ自動車株式会社
色処理方法
7か月前
株式会社東洋レーベル
入眠促進装置
5か月前
株式会社豊田自動織機
電力変換装置
7日前
三洋化成工業株式会社
金属回収方法
3か月前
学校法人立命館
フェーズドアレーアンテナ装置及び無線通信装置
3か月前
学校法人立命館
筋組織カルシウム蓄積を抑制するビタミンD作用
6か月前
学校法人立命館
個人認証装置、個人認証方法、個人認証プログラム
2か月前
Patentix株式会社
霧化装置及び製膜装置。
6か月前
学校法人立命館
処理装置、音響システム、先行音効果を生じさせる方法
1か月前
兵庫県
強化炭素繊維、炭素繊維シート及び炭素繊維強化剤
10日前
学校法人立命館
異種タンパク質の大量生産が可能なナス科植物の四重変異体
5か月前
学校法人立命館
メッシュ生成システム、コンピュータ実装方法及びコンピュータプログラム
5か月前
Patentix株式会社
積層構造体、半導体装置、電子機器及びシステム
6か月前
Patentix株式会社
積層構造体、半導体装置、電子機器及びシステム
6か月前
Patentix株式会社
積層構造体、半導体装置、電子機器及びシステム
6か月前
Patentix株式会社
積層構造体、半導体装置、電子機器及びシステム
6か月前
Patentix株式会社
積層構造体、半導体装置、電子機器及びシステム
6か月前
Patentix株式会社
積層構造体、半導体装置、電子機器及びシステム
6か月前
Patentix株式会社
積層構造体、半導体装置、電子機器及びシステム
6か月前
学校法人立命館
モデルの作成支援システム、コンピュータ実装方法及びコンピュータプログラム
7か月前
Patentix株式会社
結晶、積層構造体、半導体装置、電子機器及びシステム
6か月前
Patentix株式会社
結晶、積層構造体、半導体装置、電子機器及びシステム
6か月前
Patentix株式会社
結晶膜、積層構造体、半導体装置、電子機器及びシステム
6か月前
Patentix株式会社
結晶膜、積層構造体、半導体装置、電子機器及びシステム
6か月前
Patentix株式会社
結晶膜、積層構造体、半導体装置、電子機器及びシステム
6か月前
Patentix株式会社
結晶膜、積層構造体、半導体装置、電子機器及びシステム
6か月前
学校法人立命館
周波数損失関数を用いた画質改善方法、コンピュータシステム及びコンピュータプログラム
5か月前
Patentix株式会社
製造方法、結晶、積層構造体、半導体装置、電子機器及びシステム
6か月前
学校法人立命館
残差推定ネットワークを用いた画質改善方法、コンピュータシステム及びコンピュータプログラム
5か月前
続きを見る
他の特許を見る