TOP
|
特許
|
意匠
|
商標
特許ウォッチ
Twitter
他の特許を見る
10個以上の画像は省略されています。
公開番号
2025042625
公報種別
公開特許公報(A)
公開日
2025-03-27
出願番号
2024159634
出願日
2024-09-13
発明の名称
結晶膜、積層構造体、半導体装置、電子機器及びシステム
出願人
Patentix株式会社
,
学校法人立命館
代理人
主分類
C30B
29/32 20060101AFI20250319BHJP(結晶成長)
要約
【課題】半導体装置等に有用な優れた電気特性を有する結晶膜及び積層構造体を提供することを目的とする。
【解決手段】ルチル構造を有する酸化物半導体を主成分とする結晶を含み、前記結晶の面積が100μm
2
以上の結晶膜であって、前記酸化物半導体がゲルマニウムを含んでおり、電気抵抗率が10Ωcm以下であり、また、膜厚が1μm以上である結晶膜を用いて、例えば、半導体装置などに適用する。
【選択図】図1
特許請求の範囲
【請求項1】
ルチル構造を有する酸化物半導体を主成分とする結晶を含み、前記結晶の面積が100μm
2
以上の結晶膜であって、前記酸化物半導体がゲルマニウムを含んでおり、電気抵抗率が10Ωcm以下であることを特徴とする結晶膜。
続きを表示(約 530 文字)
【請求項2】
膜厚が1μm以上である請求項1記載の結晶膜。
【請求項3】
表面粗さが10nm以下である請求項1記載の結晶膜。
【請求項4】
単結晶膜である請求項1記載の結晶膜。
【請求項5】
前記電気抵抗率が、0.1Ωcm以下である請求項1記載の結晶膜。
【請求項6】
金属層との間にオーミックコンタクトを形成する請求項1記載の結晶膜。
【請求項7】
結晶基板上に直接又は他の層を介して結晶膜が積層されている積層構造体であって、前記結晶膜が請求項1記載の結晶膜であることを特徴とする積層構造体。
【請求項8】
金属層と結晶膜との間でオーミックコンタクトとが形成されている積層構造体であって、前記結晶膜が請求項1記載の結晶であることを特徴とする積層構造体。
【請求項9】
前記金属層が周期律表dブロック金属元素及び/又はpブロック金属元素から選ばれる1種又は2種以上の金属元素を含む請求項8記載の積層構造体。
【請求項10】
前記金属層がインジウムを含む請求項8記載の積層構造体。
(【請求項11】以降は省略されています)
発明の詳細な説明
【技術分野】
【0001】
本発明は、半導体装置に有用な結晶膜及び積層構造体に関する。
続きを表示(約 3,500 文字)
【背景技術】
【0002】
従来、Ga
2
O
3
は、将来のパワーエレクトロニクス・デバイスに有望な超ワイドバンドギャップ(UWBG)半導体として注目されている。
【0003】
しかしながら、Ga
2
O
3
は、P型半導体が作製困難であるという課題があり、また、安価にすることが容易ではなく、普及するにはまだまだ課題が数多くあった。
近年においては、新規なUWBG半導体(バンドギャップが4.44-4.68eV)としてルチル型二酸化ゲルマニウム(r-GeO
2
)が研究されており、ルチル型二酸化ゲルマニウムは、n型及びp型半導体が実現可能であり、安価に作製することも実現可能であるため、Ga
2
O
3
に代わるUWBG半導体として期待されており、例えば、r-TiO
2
(001)基板上にr-GeO
2
結晶膜を積層した積層構造体が検討されている(非特許文献1、特許文献1)。しかしながら、非特許文献1は、非特許文献1の査読後に非特許文献2がErratumとして提出されており(非特許文献2)、非特許文献1及び特許文献1に記載の結晶粒(異常粒)が、ルチル型二酸化ゲルマニウム結晶であることが判明し、他の部分はアモルファス相であった。すなわち、アモルファス相が大部分に形成されるだけで、また結晶相ができても、結晶粒が一部に形成されるにすぎなかった。そのため、電気制御に優れた結晶膜を製造することができるような方策が待ち望まれていた。
【先行技術文献】
【非特許文献】
【0004】
Takane, K. Kaneko, “Establishment of a growth route of crystallized rutile GeO2 thin film (≧ 1 mm/h) and its structural properties” Applied Physics Letters Vol.119, pp.062104(1-6) (2021).
Takane, K. Kaneko, Erratum: “Establishment of a growth route of crystallized rutile GeO2 thin film (≧1 μm/h) and its structural properties” Applied Physics Letters Vol.120, 099903(1-3) (2022).
【特許文献】
【0005】
国際公開第2023/008454号
【発明の概要】
【発明が解決しようとする課題】
【0006】
本発明は、半導体装置等に有用な優れた電気特性を有する結晶膜及び積層構造体を提供することを目的とする。
【課題を解決するための手段】
【0007】
本発明者らは、上記目的を達成すべく鋭意検討した結果、ガイド隔壁を用いたミストCVD装置を新たに開発し、前記ガイド隔壁を用いたミストCVD装置を使用して、ルチル構造を有する酸化物半導体を主成分とする結晶を含み、前記結晶の面積が100μm
2
以上の結晶膜であって、前記酸化物半導体がゲルマニウムを含んでおり、電気抵抗率が10Ωcm以下である結晶膜の創製に成功し、得られた結晶が、優れた結晶性等を持ち、半導体装置等に有用であることを知見し、このような結晶が、上記した従来の問題を一挙に解決できるものであることを見出した。
また、本発明者らは、上記知見を得た後、さらに検討を重ねて、本発明を完成させるに至った。
【0008】
すなわち、本発明は、以下の発明に関する。
[1] ルチル構造を有する酸化物半導体を主成分とする結晶を含み、前記結晶の面積が100μm
2
以上の結晶膜であって、前記酸化物半導体がゲルマニウムを含んでおり、電気抵抗率が10Ωcm以下であることを特徴とする結晶膜。
[2] 膜厚が1μm以上である前記[1]記載の結晶膜。
[3] 表面粗さが10nm以下である前記[1]記載の結晶膜。
[4] 単結晶膜である前記[1]記載の結晶膜。
[5] 前記電気抵抗率が、0.1Ωcm以下である前記[1]記載の結晶膜。
[6] 金属層との間にオーミックコンタクトを形成する前記[1]記載の結晶膜。
[7] 結晶基板上に直接又は他の層を介して結晶膜が積層されている積層構造体であって、前記結晶膜が前記[1]記載の結晶膜であることを特徴とする積層構造体。
[8] 金属層と結晶膜との間でオーミックコンタクトとが形成されている積層構造体であって、前記結晶膜が前記[1]記載の結晶であることを特徴とする積層構造体。
[9] 前記金属層が周期律表dブロック金属元素及び/又はpブロック金属元素から選ばれる1種又は2種以上の金属元素を含む前記[8]記載の積層構造体。
[10] 前記金属層がインジウムを含む前記[8]記載の積層構造体。
[11] 結晶膜又は積層構造体を含む半導体装置であって、前記結晶膜が、前記[1]記載の結晶膜であり、前記積層構造体が前記[7]又は[8]に記載の積層構造体であることを特徴とする半導体装置。
[12] パワーデバイスである前記[11]記載の半導体装置。
[13] ショットキーバリアダイオード(SBD)、ジャンクションバリアショットキーダイオード(JBS)、高電子移動度トランジスタ(HEMT)、金属酸化膜半導体電界効果トランジスタ(MOSFET)、接合電界効果トランジスタ(JFET)、絶縁ゲート型バイポーラトランジスタ(IGBT)または発光ダイオード(LED)である前記[11]記載の半導体装置。
[14] 半導体装置を含む電子機器であって、前記半導体装置が前記[11]記載の半導体装置であることを特徴とする電子機器。
[15] 電子機器を含むシステムであって、前記電子機器が、前記[14]記載の電子機器であることを特徴とするシステム。
【発明の効果】
【0009】
本発明の結晶膜及び積層構造体は、半導体装置等に有用であり、優れた電気特性を奏する。
【図面の簡単な説明】
【0010】
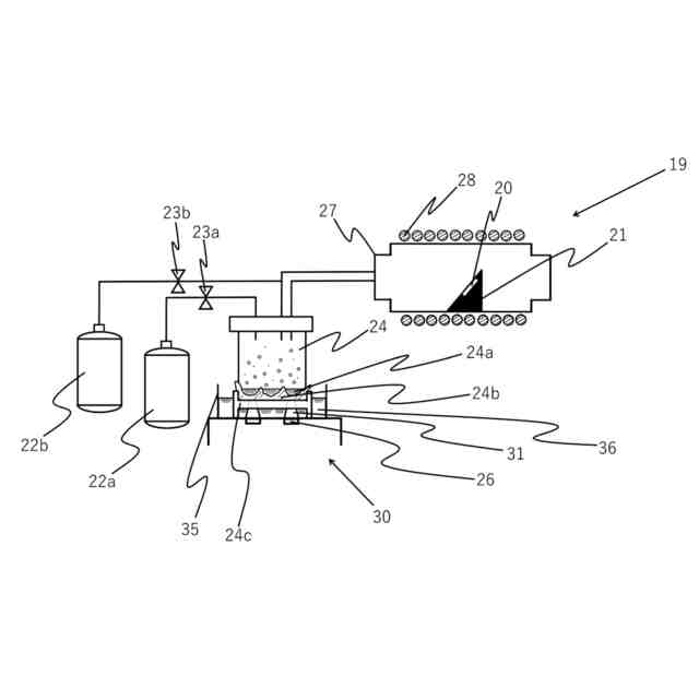
本発明において好適に用いられる成膜装置(ミストCVD)の概略構成図である。
本発明において好適に用いられる霧化装置を模式的に示す図である。
実施例1におけるXRD回折結果を示す図である。
実施例1におけるSEM像を示す図である。
実施例1におけるEDS像を示す図である。
実施例1におけるAFM像を示す図である。
実施例1における結晶膜上にオーミック電極を形成したサンプル模式的に示す図である。
図7のサンプルを用いたオーミック測定の結果を示す図である。
本発明のショットキーバリアダイオード(SBD)の好適な一例を模式的に示す図である。
本発明の高電子移動度トランジスタ(HEMT)の好適な一例を模式的に示す図である。
本発明の金属酸化膜半導体電界効果トランジスタ(MOSFET)の好適な一例を模式的に示す図である。
本発明の接合電界効果トランジスタ(JFET)の好適な一例を模式的に示す図である。
本発明の絶縁ゲート型バイポーラトランジスタ(IGBT)の好適な一例を模式的に示す図である。
本発明の発光素子(LED)の好適な一例を模式的に示す図である。
本発明のジャンクションバリアショットキーダイオード(JBS)の好適な一例を模式的に示す図である。
本発明において好適に用いられる霧化装置を横から見た断面図を模式的に示す図である。
実施例2におけるXRD回折結果を示す図である。
【発明を実施するための形態】
(【0011】以降は省略されています)
この特許をJ-PlatPat(特許庁公式サイト)で参照する
関連特許
SECカーボン株式会社
結晶成長装置
5か月前
株式会社CUSIC
SiC積層体の製造方法
4か月前
住友金属鉱山株式会社
結晶育成装置
2か月前
学校法人 東洋大学
マルチカラー結晶の結晶成長方法
4か月前
株式会社FLOSFIA
構造体および構造体の製造方法
1か月前
株式会社SUMCO
単結晶の製造方法
3か月前
信越化学工業株式会社
炭化金属被覆材料
3か月前
コマディール・エス アー
サファイア棒状体の製造方法
4か月前
セイコーエプソン株式会社
人工水晶製造装置
1か月前
株式会社C&A
処理装置および方法
4か月前
株式会社レゾナック
SiCエピタキシャルウェハ
5か月前
日本碍子株式会社
AlN単結晶基板及びデバイス
13日前
住友金属鉱山株式会社
圧電性酸化物単結晶基板の製造方法
5か月前
住友金属鉱山株式会社
圧電性酸化物単結晶基板の製造方法
3か月前
住友金属鉱山株式会社
単結晶の育成方法及びその装置
3日前
住友電気工業株式会社
炭化珪素基板の製造方法
2か月前
信越半導体株式会社
3C-SiC単結晶基板の評価方法
2か月前
住友化学株式会社
窒化物積層体の製造方法および窒化物積層体
2か月前
住友電気工業株式会社
炭化珪素基板の製造方法
2か月前
旭化成株式会社
結晶の製造方法、六方晶系半導体結晶及び素子
5か月前
株式会社Kanazawa Diamond
ダイヤモンド
4か月前
グローバルウェーハズ・ジャパン株式会社
半導体基板の製造方法
4か月前
サイクリスタル ゲーエムベーハー
バルクSiC結晶の製造方法
17日前
株式会社SUMCO
単結晶シリコンインゴットの製造方法
3か月前
信越半導体株式会社
ヘテロエピタキシャルウェーハの製造方法
3か月前
住友化学株式会社
窒化物結晶基板の製造方法、および窒化物結晶基板
5か月前
学校法人 名城大学
結晶成長用基板の作製方法
1か月前
住友化学株式会社
窒化物結晶基板、および窒化物結晶基板の製造方法
3か月前
株式会社レゾナック
SiCインゴット及びSiC基板の製造方法
3か月前
株式会社SUMCO
エピタキシャルシリコンウェーハ及びその製造方法
3か月前
学校法人 名城大学
半導体発光素子用エピウエハ
1か月前
株式会社レゾナック
SiCインゴット及びSiC基板の製造方法
3か月前
国立大学法人茨城大学
Mg3Sb2薄膜の製造方法、Mg3Sb2薄膜
1か月前
株式会社レゾナック
SiCインゴット及びSiCインゴットの製造方法
5か月前
SECカーボン株式会社
単結晶製造方法及び黒鉛坩堝
4か月前
国立大学法人東海国立大学機構
金属ナノワイヤ製造方法および金属ナノワイヤデバイス
2か月前
続きを見る
他の特許を見る