TOP
|
特許
|
意匠
|
商標
特許ウォッチ
Twitter
他の特許を見る
10個以上の画像は省略されています。
公開番号
2025032042
公報種別
公開特許公報(A)
公開日
2025-03-10
出願番号
2023137641
出願日
2023-08-26
発明の名称
ヒートパイプ
出願人
石川県公立大学法人
代理人
個人
,
個人
,
個人
主分類
F28D
15/02 20060101AFI20250303BHJP(熱交換一般)
要約
【課題】従来のヒートパイプは、ヒートパイプ間における熱の移動形態が熱伝導による大きな熱抵抗が発生し、下層(地中)から表層(地上)への熱移動量が抑制されていた。
【解決手段】2以上のサブパイプの内腔のそれぞれがメインパイプの内腔と直接又は間接的に連結しているヒートパイプのメインパイプとサブパイプ間の熱移動は、主に潜熱移動となり、熱抵抗を減らすことができることを見出した。さらに、本発明のヒートパイプは従来のヒートパイプと比較して、優れた熱輸送能力を有することを確認して、本発明を完成した。
【選択図】図1
特許請求の範囲
【請求項1】
以下を含むヒートパイプ、
メインパイプ、
2以上のサブパイプ、ここで、該2以上のサブパイプの末端は該メインパイプの上端に接続されておりかつ該メインパイプの長軸の遠位方向に放射線状に伸長しており、及び、該2以上のサブパイプの内腔のそれぞれが該メインパイプの内腔と直接又は間接的に連結しており、及び
作動液、ここで、該作動液は該メインパイプの内腔と該2以上のサブパイプの内腔を移動可能である、
ヒートパイプ。
続きを表示(約 400 文字)
【請求項2】
前記サブパイプがS字形状又はL字形状である、請求項1に記載のヒートパイプ。
【請求項3】
前記サブパイプがS字形状又はL字形状であり並びに4本である、請求項1に記載のヒートパイプ。
【請求項4】
さらに、サービスポートを前記メインパイプ及び前記2以上のサブパイプのいずれか1つの上端に1個有する、請求項1~3のいずれか1に記載のヒートパイプ。
【請求項5】
請求項1~3に記載のいずれか1以上のヒートパイプを含む植物生育用キット。
【請求項6】
以下の工程を含む、請求項1~3に記載のいずれか1以上のヒートパイプを使用した植物の生育方法、
1)少なくともサブパイプの末端及びメインパイプを地中に埋設させる工程、及び
2)植物の根を含む土を2以上のサブパイプの内側で形成される内空に設置する工程。
発明の詳細な説明
【技術分野】
【0001】
本発明は、ヒートパイプ現象を利用する複数のパイプを連結したヒートパイプに関する。
続きを表示(約 2,500 文字)
【背景技術】
【0002】
(ヒートパイプ)
ヒートパイプは、中空構造をした金属製パイプで、内部を真空状態にし、そこへ液体(作動液と呼ばれる)を封入して作られる。該パイプ両端に温度差が生じると、高温部で作動液は熱吸収して蒸発し、低温部への蒸気流が生じる。そして、低温部に到達した蒸気は、熱を放出すると同時に凝縮し、その液体は壁面を通じて高温部へ戻る。ヒートパイプは、高温部と低温部とで作動液が相変化を繰り返し循環するため、パイプ両端の温度差がなくなるまで永続的に熱を伝えることができる。
ヒートパイプの液体が高温部へ戻る仕組みには2つある。1つは、重力を利用する方法(サーモサイホン式ヒートパイプ)、もう1つは、毛管力を利用する方法(ウィック式ヒートパイプ)である。いずれのヒートパイプも温度差のみを駆動力とし、高い熱輸送能を持つため、地中熱を利用した融雪技術やノートパソコンのCPU冷却装置など、幅広い分野に応用されている。
【0003】
(先行特許文献)
ヒートパイプを利用した熱輸送装置は、下記のように複数報告されている。
特許文献1は、「真空容器と、その真空容器の内周面に外周面を沿わせて配置された銅粉からなる焼結金属体と、前記真空容器の内部に封入されかつ加熱されて蒸発するとともに放熱して凝縮する作動液とを備えたヒートパイプであって、前記真空容器の内周面と前記焼結金属体の外周面との境界部分に、前記作動液を流動させるための流路が形成されていることを特徴とするヒートパイプ」を開示している。
特許文献2は、「内部に作動流体を封入して真空状態に保持した管状本体と、該管状本体の基端側に形成された二重管状凹部を有する加熱部とから成り、該加熱部の加熱面積比率を高めた事を特徴とするヒートパイプ」を開示している。
特許文献3は、「土のヒートパイプ現象を利用した熱輸送装置」を開示している。
特許文献4は、「以下を含むヒートパイプ、作動液を封入したメインパイプ、及び2以上の作動液を封入したサブパイプ、ここで、該2以上のサブパイプの末端は該メインパイプの上端に接続されておりかつ該メインパイプの長軸の遠位方向に放射線状に伸長している、ヒートパイプ。」を開示している。
【0004】
上記先行特許文献では、本発明の複数のパイプを連結したヒートパイプの構成を開示又は示唆をしていない。
【先行技術文献】
【特許文献】
【0005】
特開2009-115346
特開2004-108749
特開2017-40376
特開2023-059776
【発明の概要】
【発明が解決しようとする課題】
【0006】
特許文献4に記載のヒートパイプは、ヒートパイプ間における熱の移動形態が熱伝導のため大きな熱抵抗が発生し、下層(地中)から表層(地上)への熱移動量が抑制されていた。
【課題を解決するための手段】
【0007】
本発明者らは、2以上のサブパイプの内腔のそれぞれがメインパイプの内腔と直接又は間接的に連結しているヒートパイプのメインパイプとサブパイプ間の熱移動は潜熱移動により熱抵抗を減らすことができることを見出し、さらに本発明のヒートパイプは特許文献4に記載のヒートパイプと比較して、優れた熱輸送能力を有することを確認して、本発明を完成した。
【0008】
本発明は以下の通りである。
1.以下を含むヒートパイプ、
メインパイプ、
2以上のサブパイプ、ここで、該2以上のサブパイプの末端は該メインパイプの上端に接続されておりかつ該メインパイプの長軸の遠位方向に放射線状に伸長しており、及び、該2以上のサブパイプの内腔のそれぞれが該メインパイプの内腔と直接又は間接的に連結しており、及び
作動液、ここで、該作動液は該メインパイプの内腔と該2以上のサブパイプの内腔を移動可能である、
ヒートパイプ。
2.前記サブパイプがS字形状又はL字形状である、前項1に記載のヒートパイプ。
3.前記サブパイプがS字形状又はL字形状であり並びに4本である、前項1に記載のヒートパイプ。
4.さらに、サービスポートを前記メインパイプ及び前記2以上のサブパイプのいずれか1つの上端に1個有する、前項1~3のいずれか1に記載のヒートパイプ。
5.前項1~3に記載のいずれか1以上のヒートパイプを含む植物生育用キット。
6.以下の工程を含む、前項1~3に記載のいずれか1以上のヒートパイプを使用した植物の生育方法、
1)少なくともサブパイプの末端及びメインパイプを地中に埋設させる工程、及び
2)植物の根を含む土を2以上のサブパイプの内側で形成される内空に設置する工程。
【発明の効果】
【0009】
本発明のヒートパイプは、特許文献4に記載のヒートパイプと比較して、以下のいずれか1以上の効果を有する。
(1)優れた熱輸送能力を有する。
(2)サービスポートが1つでも良い。
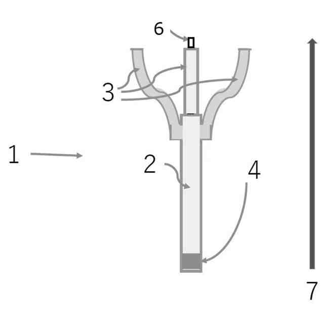
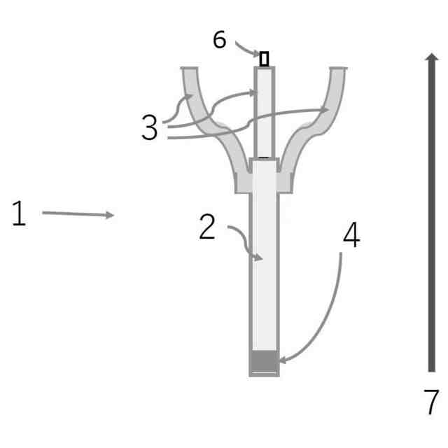
【図面の簡単な説明】
【0010】
ヒートパイプの断面概要図(メインパイプと4本のサブパイプ中2本のサブパイプを切断している形状)
ヒートパイプの断面概要図(メインパイプと2本のサブパイプから構成されている)
サブパイプの形状の概要図
ヒートパイプの使用例の説明図
本発明のヒートパイプの試作品(上:全体図、下:先端拡大図)
特許文献4に記載のヒートパイプの試作品(上:全体図、下:先端拡大図)
各ヒートパイプの全体写真(左:直管型ヒートパイプ、中央:特許文献4に記載のヒートパイプ、右:本発明のヒートパイプ)
各ヒートパイプのサブパイプの全体の熱画像
各ヒートパイプのサブパイプの上部の熱画像
(【0011】以降は省略されています)
特許ウォッチbot のツイートを見る
この特許をJ-PlatPat(特許庁公式サイト)で参照する
関連特許
個人
排熱回収装置
2か月前
個人
熱交換装置
5日前
個人
熱交換装置
5か月前
ホーコス株式会社
熱交換ユニット
8か月前
三恵技研工業株式会社
熱交換器
6か月前
三恵技研工業株式会社
熱交換器
6か月前
株式会社パイオラックス
熱交換器
8か月前
アンリツ株式会社
検査装置
5か月前
アンリツ株式会社
検査装置
5か月前
日産自動車株式会社
熱交換器
7か月前
株式会社ティラド
ラジエータ
9か月前
株式会社アイシン
水噴射冷却システム
8か月前
個人
熱交換器
11か月前
新光電気工業株式会社
蓄熱装置
1か月前
スズキ株式会社
熱交換器
11か月前
株式会社デンソー
熱交換器
4か月前
株式会社デンソー
熱交換器
5か月前
日新電機株式会社
化学蓄熱反応器
9か月前
サンデン株式会社
熱交換器
6か月前
サンデン株式会社
熱交換器
6か月前
栗田工業株式会社
冷却塔システム
8か月前
栗田工業株式会社
冷却塔システム
3か月前
サンデン株式会社
熱交換器
8か月前
株式会社デンソー
熱交換器
11か月前
サンデン株式会社
熱交換器
8か月前
サンデン株式会社
熱交換器
8か月前
株式会社デンソー
熱交換器
3か月前
株式会社デンソー
熱交換器
4か月前
株式会社アイシン
熱交換器
4か月前
ZACROS株式会社
熱交換装置
6か月前
株式会社神戸製鋼所
積層型熱交換器
4か月前
古河電気工業株式会社
ヒートパイプ
8か月前
TPR株式会社
熱電発電機能付き熱交換器
7か月前
中部抵抗器株式会社
密閉構造体用冷却装置
9か月前
新晃工業株式会社
熱交換器の底板構造
6か月前
愛知製鋼株式会社
化学蓄熱装置
10か月前
続きを見る
他の特許を見る