TOP
|
特許
|
意匠
|
商標
特許ウォッチ
Twitter
他の特許を見る
公開番号
2025051198
公報種別
公開特許公報(A)
公開日
2025-04-04
出願番号
2023160188
出願日
2023-09-25
発明の名称
熱交換器
出願人
三恵技研工業株式会社
代理人
個人
主分類
F28D
7/08 20060101AFI20250328BHJP(熱交換一般)
要約
【課題】熱交換する流体の種類に制限されずに高効率に熱交換することができる。
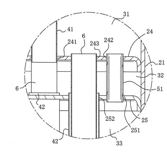
【解決手段】第1流体F1が内部を流れる第1流体管41が露出して設けられ、第1流体管41の外側である内部に第2流体F2が流される、第1流体F1の流れにおける上流側の第2流体区画部31と、第1流体F1が内部を流れる第1流体管42が露出して設けられ、第1流体管42の外側である内部に第2流体F2が流される、下流側の第2流体区画部33とが、隔壁で隔てられてシェル2に設けられ、上流側の第2流体区画部31と下流側の第2流体区画部33の相互間に連通して第2流体F2を流すバイパス管51が、上流側の第2流体区画部31の内部の第1流体管41を横切り、且つ下流側の第2流体区画部33の内部の第1流体管42を横切るように第2流体F2を流す位置に配置される熱交換器1。
【選択図】図6
特許請求の範囲
【請求項1】
第1流体が内部を流れる第1流体管が露出して設けられ、前記第1流体管の外側である内部に第2流体が流される、前記第1流体の流れにおける上流側の第2流体区画部と、
第1流体が内部を流れる第1流体管が露出して設けられ、前記第1流体管の外側である内部に第2流体が流される、前記第1流体の流れにおける下流側の第2流体区画部とが、隔壁で隔てられてシェルに設けられ、
前記上流側の第2流体区画部と前記下流側の第2流体区画部の相互間に連通するバイパス管が設けられ、
前記上流側の第2流体区画部の内部の前記第1流体管を横切り、且つ前記下流側の第2流体区画部の内部の前記第1流体管を横切るように前記第2流体を流す位置に、前記第2流体が内部を流れる前記バイパス管が配置されていることを特徴とする熱交換器。
続きを表示(約 870 文字)
【請求項2】
前記第2流体を前記シェルの内部に導入する第2流体導入口が前記シェルに1箇所設けられ、
前記第2流体を前記シェルの内部から導出する第2流体導出口が前記シェルに1箇所設けられていることを特徴とする請求項1記載の熱交換器。
【請求項3】
前記第2流体導入口が設けられて前記第2流体を外部から導入する第2流体導入区画部若しくは前記第2流体導出口が設けられて前記第2流体を外部に導出する第2流体導出区画部が、前記下流側の第2流体区画部の外側に配置されるようにして前記シェルに設けられ、
前記下流側の第2流体区画部と前記第2流体導入区画部若しくは前記第2流体導出区画部との相互間に連通する別のバイパス管が設けられ、
前記別のバイパス管の内部を前記第2流体が流れて、前記下流側の第2流体区画部と前記第2流体導入区画部若しくは前記第2流体導出区画部との間に前記第2流体が流れると共に、
前記下流側の第2流体区画部の内部の前記第1流体管を横切るように前記第2流体を流す位置に前記別のバイパス管が配置されていることを特徴とする請求項2記載の熱交換器。
【請求項4】
前記第1流体が前記第1流体管の流路から解放されて内部で混合される混合区画部が前記上流側の第2流体区画部と前記下流側の第2流体区画部との間に設けられ、
前記バイパス管の内部を流れる前記第2流体と、前記混合区画部の内部に位置する前記バイパス管の外側の前記第1流体とが、前記混合区画部で熱交換されることを特徴とする請求項1~3の何れかに記載の熱交換器。
【請求項5】
前記上流側の第2流体区画部と前記第2流体導入区画部若しくは前記第2流体導出区画部との間に前記第2流体を直接流す第2流体内挿管が設けられ、
前記第2流体内挿管が、前記混合区画部で露出するように設けられると共に、前記下流側の第2流体区画部に設けられる前記第1流体管に内挿されることを特徴とする請求項4記載の熱交換器。
発明の詳細な説明
【技術分野】
【0001】
本発明は、シェルの中に流体管が設けられ、流体管の内外を流れる流体相互の熱交換を行う熱交換器に関する。
続きを表示(約 2,500 文字)
【背景技術】
【0002】
従来、シェルの中に流体管が設けられ、流体管の内外を流れる流体相互の熱交換を行う熱交換器として特許文献1の熱交換器がある。この熱交換器は、熱交換を行う一方の流体が内側に流れる内管と、他方の流体が外側に流れる外管とからなる二重管構造で流体管を構成し、内管と外管との間に隙間を設け、腐食等で内管又は外管にピンホールや亀裂が発生したとしても、ピンホールや亀裂が発生していない外管又は内管によって流体管の内側と外側とを流れる2つの流体が接触しないようにしたものである。
【0003】
更に、この熱交換器では、長尺円筒状のシェルの上部に他方の流体である加熱流体の入口が設けられ、シェルの下部には熱交換後の加熱流体を導出する出口が設けられ、シェルの内部に上下方向に延びる多数の流体管が所定間隔を開けて配列されている。そして、多数の孔が穿設されてなる多孔板で構成される分散器を内管の上方に設け、分散器の上部に被加熱流体入口から一方の流体である被加熱流体を導入し、分散器を介して内管に流下する被加熱流体の均一化を図っている。
【先行技術文献】
【特許文献】
【0004】
特開2019-27619号公報
【発明の概要】
【発明が解決しようとする課題】
【0005】
ところで、特許文献1の熱交換器は、長尺円筒状のシェルの内部に上下方向に延びる流体管を延設し、長尺円筒状のシェルの上部入口からシェルの下部出口に向かって加熱流体のスチームを流す構成であるが、例えばシェルの上部入口からスチームでなく冷却水のような流体を導入して熱交換する場合には、冷却水がシェルの上部入口から下方に向かって直ぐに落下してしまい、熱交換機能を発揮することは困難である。そのため、熱交換する流体の種類に制限されずに高効率に熱交換することができる熱交換器が求められている。
【0006】
本発明は上記課題に鑑み提案するものであって、熱交換する流体の種類に制限されずに高効率に熱交換することができる熱交換器を提供することを目的とする。
【課題を解決するための手段】
【0007】
本発明の熱交換器は、第1流体が内部を流れる第1流体管が露出して設けられ、前記第1流体管の外側である内部に第2流体が流される、前記第1流体の流れにおける上流側の第2流体区画部と、第1流体が内部を流れる第1流体管が露出して設けられ、前記第1流体管の外側である内部に第2流体が流される、前記第1流体の流れにおける下流側の第2流体区画部とが、隔壁で隔てられてシェルに設けられ、前記上流側の第2流体区画部と前記下流側の第2流体区画部の相互間に連通するバイパス管が設けられ、前記上流側の第2流体区画部の内部の前記第1流体管を横切り、且つ前記下流側の第2流体区画部の内部の前記第1流体管を横切るように前記第2流体を流す位置に、前記第2流体が内部を流れる前記バイパス管が配置されていることを特徴とする。
これによれば、上流側の第2流体区画部の内部の第1流体管を横切り、且つ下流側の第2流体区画部の内部の第1流体管を横切るように第2流体を流す位置に第2流体が流れるバイパス管を配置することにより、例えば第2流体が冷却水のように大気中で重力落下する流体等である場合にも高効率且つ確実に熱交換することができ、熱交換する流体の種類に制限されずに高効率に熱交換することができる。
【0008】
本発明の熱交換器は、前記第2流体を前記シェルの内部に導入する第2流体導入口が前記シェルに1箇所設けられ、前記第2流体を前記シェルの内部から導出する第2流体導出口が前記シェルに1箇所設けられていることを特徴とする。
これによれば、シェルの外部に多数の第2流体導入管や第2流体導出管を複雑に設置する必要が無くなり、シェルの外部における第2流体の導入・導出経路を一本化することができる。
【0009】
本発明の熱交換器は、前記第2流体導入口が設けられて前記第2流体を外部から導入する第2流体導入区画部若しくは前記第2流体導出口が設けられて前記第2流体を外部に導出する第2流体導出区画部が、前記下流側の第2流体区画部の外側に配置されるようにして前記シェルに設けられ、前記下流側の第2流体区画部と前記第2流体導入区画部若しくは前記第2流体導出区画部との相互間に連通する別のバイパス管が設けられ、前記別のバイパス管の内部を前記第2流体が流れて、前記下流側の第2流体区画部と前記第2流体導入区画部若しくは前記第2流体導出区画部との間に前記第2流体が流れると共に、前記下流側の第2流体区画部の内部の前記第1流体管を横切るように前記第2流体を流す位置に前記別のバイパス管が配置されていることを特徴とする。
これによれば、上流側の第2流体区画部の内部の第1流体管を横切り、且つ下流側の第2流体区画部の内部の第1流体管を横切るように第2流体を流す位置にバイパス管と別のバイパス管を配置し、熱交換する流体の種類に制限されずに高効率な熱交換をより確実に行うことができる。
【0010】
本発明の熱交換器は、前記第1流体が前記第1流体管の流路から解放されて内部で混合される混合区画部が前記上流側の第2流体区画部と前記下流側の第2流体区画部との間に設けられ、前記バイパス管の内部を流れる前記第2流体と、前記混合区画部の内部に位置する前記バイパス管の外側の前記第1流体とが、前記混合区画部で熱交換されることを特徴とする。
これによれば、バイパス管の内部を流れる第2流体と、混合区画部の内部に位置するバイパス管の外側の第1流体とを混合区画部で熱交換することにより、第1流体の温度ムラを混合区画部の混合で解消し、第1流体の温度分布の均一化を図り、より効率的な熱交換を行うことができる。
(【0011】以降は省略されています)
この特許をJ-PlatPat(特許庁公式サイト)で参照する
関連特許
三恵技研工業株式会社
融雪レドーム
3日前
三恵技研工業株式会社
融雪レドーム及びその製造方法
1か月前
三恵技研工業株式会社
車載レーダー装置用レドーム及びその製造方法
3日前
個人
排熱回収装置
2か月前
個人
熱交換装置
2日前
個人
熱交換装置
5か月前
ホーコス株式会社
熱交換ユニット
8か月前
三恵技研工業株式会社
熱交換器
6か月前
三恵技研工業株式会社
熱交換器
6か月前
住友精密工業株式会社
熱交換器
12か月前
株式会社パイオラックス
熱交換器
8か月前
アンリツ株式会社
検査装置
5か月前
アンリツ株式会社
検査装置
5か月前
日産自動車株式会社
熱交換器
7か月前
株式会社ティラド
ラジエータ
8か月前
スズキ株式会社
熱交換器
11か月前
株式会社アイシン
水噴射冷却システム
8か月前
新光電気工業株式会社
蓄熱装置
1か月前
個人
熱交換器
11か月前
株式会社アイシン
熱交換器
4か月前
栗田工業株式会社
冷却塔システム
3か月前
株式会社デンソー
熱交換器
5か月前
サンデン株式会社
熱交換器
6か月前
栗田工業株式会社
冷却塔システム
8か月前
株式会社デンソー
熱交換器
4か月前
サンデン株式会社
熱交換器
8か月前
サンデン株式会社
熱交換器
8か月前
サンデン株式会社
熱交換器
6か月前
株式会社デンソー
熱交換器
4か月前
株式会社デンソー
熱交換器
3か月前
サンデン株式会社
熱交換器
8か月前
ZACROS株式会社
熱交換装置
6か月前
日新電機株式会社
化学蓄熱反応器
9か月前
株式会社デンソー
熱交換器
11か月前
株式会社神戸製鋼所
積層型熱交換器
4か月前
中部抵抗器株式会社
密閉構造体用冷却装置
9か月前
続きを見る
他の特許を見る