TOP
|
特許
|
意匠
|
商標
特許ウォッチ
Twitter
他の特許を見る
公開番号
2025035171
公報種別
公開特許公報(A)
公開日
2025-03-13
出願番号
2023142039
出願日
2023-09-01
発明の名称
人工突板の製造方法
出願人
大建工業株式会社
代理人
弁理士法人前田特許事務所
主分類
B27K
5/00 20060101AFI20250306BHJP(木材または類似の材料の加工または保存;釘打ち機またはステープル打ち機一般)
要約
【課題】大掛かりな設備を用いることなく染色された人工突板の製造方法を提供する。
【解決手段】
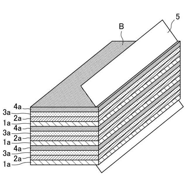
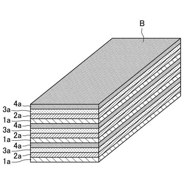
人工突板Aの製造方法であって、複数の木材(1,2,3、4)からそれぞれ複数の挽き板(1a,2a,3a,4a)を切り出す挽き板作製工程と、複数の挽き板(1a,2a,3a,4a)を、同一の木材(1,2,3、4)から切り出された挽き板(1a,2a,3a,4a)どうしが隣り合わないように積層し、積層した挽き板(1a,2a,3a,4a)を積層方向に圧締接着して積層材Bを作製する積層材作製工程と、積層材Bを、積層方向に平行にスライスすることにより、木質薄片A´を作製するスライス工程と、木質薄片A´を着色する着色工程とを含む、ことを特徴とする。
【選択図】図5
特許請求の範囲
【請求項1】
人工突板の製造方法であって、
複数の木材からそれぞれ複数の挽き板を切り出す挽き板作製工程と、
複数の前記挽き板を、同一の前記木材から切り出された前記挽き板どうしが隣り合わないように積層し、積層した前記挽き板を積層方向に圧締接着して積層材を作製する積層材作製工程と、
前記積層材を、積層方向に平行にスライスすることにより、木質薄片を作製するスライス工程と、
前記木質薄片を着色する着色工程とを含む、
ことを特徴とする人工突板の製造方法。
続きを表示(約 140 文字)
【請求項2】
請求項1に記載の人工突板の製造方法において、
前記着色工程では、着色剤を含む染色液を前記木質薄片に塗布する、または前記染色液中に前記木質薄片を浸漬することにより、前記着色剤を前記木質薄片に含浸させる
ことを特徴とする人工突板の製造方法。
発明の詳細な説明
【技術分野】
【0001】
人工突板の製造方法に関する。
続きを表示(約 1,200 文字)
【背景技術】
【0002】
特許文献1には、染色した木質単板を積層したフリッチを製造し、フリッチを積層面に交差する方向にスライスすることによって人工突板を製造する方法が開示されている。
【先行技術文献】
【特許文献】
【0003】
特開平11-226913号公報
【発明の概要】
【発明が解決しようとする課題】
【0004】
特許文献1に記載の人工突板の製造方法では、まず、片方の表面に染料を塗布した木質単板を多数枚用意し、染料が塗布された面が互いに接するように重ね合わせて2枚を一組にする。2枚を一組にした木質単板を複数組厚み方向に積層し、プレス機により圧締と開圧とを繰り返し、木質単板の内部に染料の成分を浸透させることにより、木質単板を染色する。染色した木質単板を厚み方向に多数枚積層接着することでフリッチを製造し、このフリッチを積層面に交差する方向にスライスすることで、人工突板を製造している。
【0005】
この製造方法によると、染料により染色された化粧単板を製造する際には、圧締と開圧とを繰り返し、木質単板の内部に染料を浸透させる必要がある。このため、従来の製造方法では、木質単板を染色するためにプレス機等の大掛かりな設備が必要となる。
【0006】
そこで、本発明は、大掛かりな設備を用いることなく人工突板を容易に製造できるようにすることを目的とする。
【課題を解決するための手段】
【0007】
上記の目的を達成するために、この発明では、分厚い木質単板を着色するのではなく、着色されていない挽き板を積層した積層材をスライスして作製した木質薄片を着色するようにしている。
【0008】
具体的には、第1の発明は、人工突板の製造方法を前提としている。
【0009】
そして、第1の発明は、複数の木材からそれぞれ複数の挽き板を切り出す挽き板作製工程と、複数の前記挽き板を、同一の前記木材から切り出された前記挽き板どうしが隣り合わないように積層し、積層した前記挽き板を積層方向に圧締接着して積層材を作製する積層材作製工程と、前記積層材を、積層方向に平行にスライスすることにより、木質薄片を作製するスライス工程と、前記木質薄片を着色する着色工程とを含むことを特徴とするものである。
【0010】
第1の発明では、複数の木材から切り出した複数の挽き板を積層して圧締接着して作製した積層材を、木口面に平行にスライスして得た木質薄片に着色を施すこととしている。木質薄片は、挽き板や積層材に比べて厚みが極めて薄い。このため、木質薄片は、挽き板や積層材に比べて着色剤を吸収しやすく、挽き板や積層材よりも容易に着色できる。したがって、第1の発明によれば、プレス機等の大掛かりな設備を用いることなく、人工突板を容易に製造することができる。
(【0011】以降は省略されています)
この特許をJ-PlatPat(特許庁公式サイト)で参照する
関連特許
個人
薪割り台
10か月前
個人
鋸
21日前
個人
木材精密加工用ジグ
6か月前
丸大株式会社
竹粉製造装置
7か月前
個人
貼付装置及び貼付方法
5か月前
個人
電動ボードカッターのブレード
1か月前
株式会社 川上製作所
木材の連結構造
8日前
個人
跳ね上げ式ガイドクランプ
4か月前
株式会社岡田金属工業所
ブレード
5か月前
コニシ株式会社
集成材の製造方法
1か月前
NKE株式会社
トリマー治具
4か月前
株式会社ノダ
木削薄片板および床材
8か月前
宮川工機株式会社
プレカット加工装置
10か月前
工機ホールディングス株式会社
作業機
8か月前
舛元木工株式会社
フレーム材の端部処理方法
11か月前
大建工業株式会社
焼杉風化粧板とその製造方法
6か月前
三和合板株式会社
化粧板の製造装置
10か月前
トヨタ自動車株式会社
木粉の熱圧縮成形方法
8か月前
清水建設株式会社
ビス打ち装置
6か月前
清水建設株式会社
自動ビス打ち機
6か月前
マックス株式会社
リフィル
10か月前
株式会社大林組
木質板材の加工方法
7か月前
有限会社太悦鉄工
ヤニ取り装置および木材切断用鋸盤
2か月前
トヨタエンジニアリング有限会社
竹割機
3か月前
トヨタエンジニアリング有限会社
竹割機
4か月前
株式会社マキタ
携帯用切断機
3か月前
マックス株式会社
ステープラ
8か月前
マックス株式会社
ステープラ
10か月前
マックス株式会社
ステープラ
8か月前
株式会社マキタ
ソーチェーン
15日前
大建工業株式会社
人工突板の製造方法
7か月前
トヨタT&S建設株式会社
桂剥き装置
5か月前
株式会社マキタ
木工用携帯用切削機
3か月前
株式会社竹中工務店
集成材の製造方法
3か月前
株式会社ショーシン
自走式薪割機
6か月前
トヨタ紡織株式会社
樹脂成形品の製造方法
9か月前
続きを見る
他の特許を見る