TOP
|
特許
|
意匠
|
商標
特許ウォッチ
Twitter
他の特許を見る
10個以上の画像は省略されています。
公開番号
2025076794
公報種別
公開特許公報(A)
公開日
2025-05-16
出願番号
2023188657
出願日
2023-11-02
発明の名称
パンチ及びプレス金型
出願人
トヨタ紡織株式会社
代理人
個人
,
個人
主分類
B21D
28/00 20060101AFI20250509BHJP(本質的には材料の除去が行なわれない機械的金属加工;金属の打抜き)
要約
【課題】エジェクタピンが収容孔から抜け出ることを抑制できるパンチを提供する。
【解決手段】パンチ30は、ダイに向かって開口する収容孔41を有するパンチ本体40と、収容孔41に収容され、スクラップをパンチ本体40の先端面から払い出すエジェクタピン50と、エジェクタピン50を常時付勢する付勢部材70とを備える。エジェクタピン50は、払出部51と、鍔部52と、中間部53とを有している。収容孔41は、パンチ本体40からのエジェクタピン50の突出量を規制する規制面45と、鍔部52と規制面45とが接触した際に、中間部53と払い出し方向において隙間を介して対向する座面46とを有している。
【選択図】図2
特許請求の範囲
【請求項1】
ダイに向かって開口する収容孔を有し、前記ダイと協働してワークを打ち抜くパンチ本体と、
前記収容孔に収容されるとともに前記パンチ本体の先端面に対して出没可能に構成され、前記パンチ本体によって前記ワークから打ち抜かれたスクラップを前記パンチ本体の先端面から払い出すエジェクタピンと、
前記収容孔に収容されるとともに前記エジェクタピンの払い出し方向に向けて前記エジェクタピンを常時付勢する付勢部材と、を備えるパンチであって、
前記エジェクタピンは、
前記スクラップを払い出す払出部と、
前記払出部よりも外周側に突出する鍔部と、
前記払出部と前記鍔部との間の部分であって、前記払出部よりも外周側、且つ前記鍔部よりも内周側の位置まで突出する中間部と、を有しており、
前記収容孔は、
前記鍔部が前記払い出し方向から接触することで、前記パンチ本体からの前記エジェクタピンの突出量を規制する規制面と、
前記鍔部と前記規制面とが接触した際に、前記中間部が前記払い出し方向から接触する、または前記中間部と前記払い出し方向において隙間を介して対向する座面と、を有している、
パンチ。
続きを表示(約 780 文字)
【請求項2】
前記鍔部と前記規制面とが接触した際に、前記中間部が前記座面に対して前記払い出し方向において隙間を介して対向する、
請求項1に記載のパンチ。
【請求項3】
前記収容孔は、前記払出部を摺動可能に収容する第1収容部と、前記中間部を収容する第2収容部と、前記鍔部を収容する第3収容部と、を有しており、
前記中間部の外面と前記第2収容部の内面との隙間、及び前記鍔部の外面と前記第3収容部の内面との隙間は、前記払出部の外面と前記第1収容部の内面との隙間よりも大きい、
請求項1に記載のパンチ。
【請求項4】
前記払出部、前記中間部、及び前記鍔部は、連続して形成されており、
前記中間部と前記鍔部との境界部には、前記払出部と前記中間部との境界部よりも脆弱な脆弱部が設けられている、
請求項1に記載のパンチ。
【請求項5】
前記払出部と前記中間部との境界部には、断面円弧状をなす第1隅部が形成されており、
前記中間部と前記鍔部との境界部には、断面円弧状をなす第2隅部が形成されており、
前記脆弱部は、前記第1隅部の曲率半径よりも小さい曲率半径を有する前記第2隅部により構成されている、
請求項4に記載のパンチ。
【請求項6】
複数の前記エジェクタピンと、前記払い出し方向に向けて前記複数のエジェクタピンの各々を常時付勢する複数の前記付勢部材と、を備え、
前記パンチ本体は、前記複数のエジェクタピンの各々を収容する複数の前記収容孔を有している、
請求項1に記載のパンチ。
【請求項7】
前記ダイと、
請求項1~請求項6のいずれか一項に記載のパンチと、を備える、
プレス金型。
発明の詳細な説明
【技術分野】
【0001】
本発明は、パンチ及びプレス金型に関する。
続きを表示(約 2,000 文字)
【背景技術】
【0002】
特許文献1には、特許文献1に記載の発明の従来技術として、貫通孔を有するパンチ本体と、貫通孔の内部に配置されるジェクタピンとを備えるジェクタパンチが開示されている。ジェクタピンは、パンチ本体の先端面に対して出没可能に構成されている。
【0003】
貫通孔は、パンチ本体の先端面に開口する小孔部と、小孔部に連なる大孔部とを有している。ジェクタピンは、長尺状のシャンクと、シャンクの端部に連なる鍔部とを有している。シャンクは、小孔部に摺動自在に収容されている。鍔部は、大孔部に収容されている。鍔部によって、ジェクタピンがパンチ本体から抜け止めされている。
【0004】
大孔部の内部には、ジェクタピンをパンチ本体の先端面から突出するように付勢するコイルスプリングが設けられている。コイルスプリングは、大孔部にねじ込まれたネジとジェクタピンとの間に配置されている。ジェクタピンは、パンチ本体による被加工材の打ち抜き中には、コイルスプリングの付勢力に抗してパンチ本体の内部に退避する一方、被加工材の打ち抜きの完了時には、パンチ本体から突出する。これにより、被加工材から打ち抜かれた抜きカスがパンチ本体から引き離されるため、抜きカスのカス上がりが抑制される。
【先行技術文献】
【特許文献】
【0005】
特開2007-7686号公報
【発明の概要】
【発明が解決しようとする課題】
【0006】
ところで、ジェクタパンチの使用時には、シャンクがワークに接触するだけでなく、ジェクタピンの鍔部が貫通孔の内面に接触するため、シャンクと鍔部との境界部に繰り返し応力が作用しやすい。その結果、シャンクと鍔部との境界部が破断することで、ジェクタピンがパンチ本体から抜け出るおそれがある。
【課題を解決するための手段】
【0007】
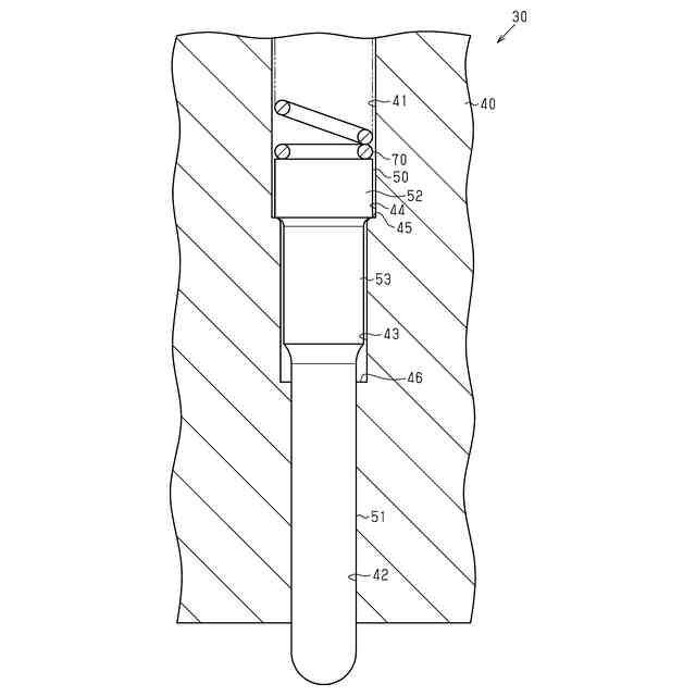
上記課題を解決するためのパンチは、ダイに向かって開口する収容孔を有し、前記ダイと協働してワークを打ち抜くパンチ本体と、前記収容孔に収容されるとともに前記パンチ本体の先端面に対して出没可能に構成され、前記パンチ本体によって前記ワークから打ち抜かれたスクラップを前記パンチ本体の先端面から払い出すエジェクタピンと、前記収容孔に収容されるとともに前記エジェクタピンの払い出し方向に向けて前記エジェクタピンを常時付勢する付勢部材と、を備えるパンチであって、前記エジェクタピンは、前記スクラップを払い出す払出部と、前記払出部よりも外周側に突出する鍔部と、前記払出部と前記鍔部との間の部分であって、前記払出部よりも外周側、且つ前記鍔部よりも内周側の位置まで突出する中間部と、を有しており、前記収容孔は、前記鍔部が前記払い出し方向から接触することで、前記パンチ本体からの前記エジェクタピンの突出量を規制する規制面と、前記鍔部と前記規制面とが接触した際に、前記中間部が前記払い出し方向から接触する、または前記中間部と前記払い出し方向において隙間を介して対向する座面と、を有している。
【0008】
上記構成によれば、パンチの使用時に、中間部と鍔部との境界部が破断した場合であっても、中間部が座面を超えてエジェクタピンの払い出し方向に移動することを抑制できる。したがって、エジェクタピンが収容孔から抜け出ることを抑制できる。
【0009】
また、上記構成によれば、上記境界部が破断した状態であっても、エジェクタピンは、分離した鍔部を介して、付勢部材によって払い出し方向に向けて付勢される。これにより、境界部が破断した状態であっても、エジェクタピンのスクラップを払い出す機能が損なわれることを抑制できるため、パンチの使用を継続することができる。
【図面の簡単な説明】
【0010】
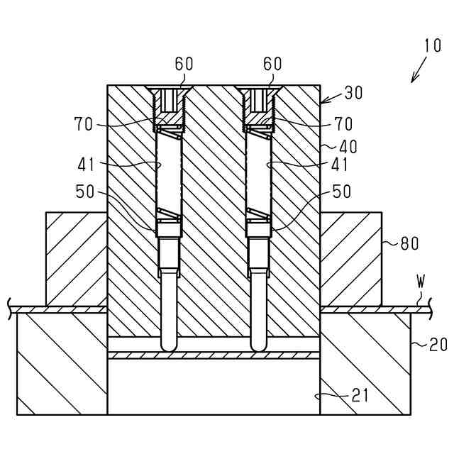
図1は、一実施形態のプレス金型を示す断面図である。
図2は、図1のパンチのエジェクタピンを中心とした拡大断面図である。
図3は、図2における第1隅部を中心とした拡大断面図である。
図4は、図2における第2隅部を中心とした拡大断面図である。
図5は、図1のエジェクタピンがパンチ本体の内部に退避した状態を示す断面図である。
図6は、図1のエジェクタピンがスクラップを払い出している状態を示す断面図である。
図7は、図1のエジェクタピンにおける中間部と鍔部との境界部が破断した状態を示す断面図である。
図8は、図1のエジェクタピンが湾曲した予定部に接触している状態を示す断面図である。
図9は、変更例のエジェクタピンを示す断面図である。
【発明を実施するための形態】
(【0011】以降は省略されています)
特許ウォッチbot のツイートを見る
この特許をJ-PlatPat(特許庁公式サイト)で参照する
関連特許
トヨタ紡織株式会社
乗物用シート
3日前
トヨタ紡織株式会社
乗物用シート
3日前
トヨタ紡織株式会社
乗物用照明装置
2日前
トヨタ紡織株式会社
カップホルダー
12日前
トヨタ紡織株式会社
燃料電池の単セル
3日前
トヨタ紡織株式会社
燃料電池スタック
2日前
トヨタ紡織株式会社
シート制御システム
5日前
トヨタ紡織株式会社
繊維状複合体の製造方法
10日前
トヨタ紡織株式会社
繊維状複合体の製造方法
10日前
トヨタ紡織株式会社
熱可塑性樹脂組成物の製造方法
10日前
トヨタ紡織株式会社
熱可塑性樹脂組成物及びその製造方法
10日前
トヨタ紡織株式会社
繊維状物質及びその製造方法並びに粉体
10日前
トヨタ紡織株式会社
繊維状複合体及びその製造方法並びに粉体
10日前
トヨタ紡織株式会社
燃料電池用セパレータ及び燃料電池の単セル
16日前
トヨタ紡織株式会社
熱可塑性樹脂組成物及びその製造方法並びに成形体
10日前
トヨタ紡織株式会社
パーティション装置、パーティションシステム、及び制御装置
2日前
トヨタ紡織株式会社
燃料電池用セパレータの製造装置及び燃料電池用セパレータの製造方法
3日前
個人
ヘッダー加工機
4か月前
株式会社不二越
NC転造盤
3か月前
日東精工株式会社
中空軸部品の製造方法
3か月前
日伸工業株式会社
プレス加工装置
3か月前
オムロン株式会社
導線折り曲げ治具
1か月前
工機ホールディングス株式会社
ニブラ
5か月前
トヨタ紡織株式会社
プレス装置
5か月前
株式会社西田製作所
パンチャーヘッド
5か月前
トヨタ紡織株式会社
プレス金型
1か月前
トヨタ紡織株式会社
プレス金型
4か月前
株式会社アマダ
曲げ金型
1か月前
トヨタ紡織株式会社
プレス金型
6か月前
東栄工業株式会社
ダブルデッキヘミング金型
3か月前
トヨタ自動車株式会社
打ち抜き加工方法
5か月前
株式会社TMEIC
監視装置
6か月前
日鉄建材株式会社
成形装置
9日前
株式会社アマダ
曲げ加工機
4か月前
株式会社トラバース
パンチング加工装置
5か月前
フジテック株式会社
金属棒曲げ工具
11日前
続きを見る
他の特許を見る