TOP
|
特許
|
意匠
|
商標
特許ウォッチ
Twitter
他の特許を見る
10個以上の画像は省略されています。
公開番号
2025083877
公報種別
公開特許公報(A)
公開日
2025-06-02
出願番号
2023197526
出願日
2023-11-21
発明の名称
観測装置
出願人
スタンレー電気株式会社
,
国立大学法人千葉大学
代理人
個人
主分類
G01W
1/00 20060101AFI20250526BHJP(測定;試験)
要約
【課題】遠方の観測対象物と観測装置との間の観測対象物の観測を行うことができる観測装置を提供する。
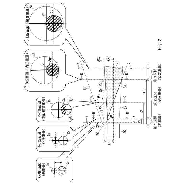
【解決手段】観測装置10であって、送信光視野Ssを有し、前記送信光視野内にソーラーブラインド帯域の紫外域に属する波長のパルス光を送信する送信部20と、受信光視野Srを有し、観測対象物で反射された前記パルス光の反射光のうち前記受信光視野内の反射光を受信する受信部30と、観測データ生成部と、を備え、前記送信部の光軸AXsと前記受信部の光軸AXrは、互いに平行であり、前記送信光視野を規定する送信光視野角θsは、前記受信光視野を規定する受信光視野角θrより大きく、前記送信光視野及び前記受信光視野は、互いに少なくとも一部が重なっており、前記観測データ生成部は、前記受光素子が出力する信号に基づき、観測データであるライダーデータを生成する。
【選択図】図2
特許請求の範囲
【請求項1】
送信光視野を有し、前記送信光視野内にソーラーブラインド帯域の紫外域に属する波長のパルス光を送信する送信部と、
受信光視野を有し、観測対象物で反射された前記パルス光の反射光のうち前記受信光視野内の反射光を受信する受信部と、
観測データ生成部と、を備え、
前記送信部は、
前記パルス光を出射する半導体発光素子と、
前記半導体発光素子が出射するパルス光が前記送信光視野内に送信されるように、前記半導体発光素子が出射する前記パルス光を制御する送信光学系と、を備え、
前記受信部は、
前記受信光視野内の反射光を集光する受信光学系と、
前記集光された前記反射光を受信し、当該受信した反射光に応じた信号を出力する受光素子と、を備え、
前記送信部の光軸と前記受信部の光軸は、互いに平行であり、
前記送信光視野を規定する送信光視野角は、前記受信光視野を規定する受信光視野角より大きく、
前記送信光視野及び前記受信光視野は、互いに少なくとも一部が重なっており、
前記観測データ生成部は、前記受光素子が出力する信号に基づき、観測データであるライダーデータを生成する観測装置。
続きを表示(約 700 文字)
【請求項2】
前記送信光視野は、前記送信部の光軸を中心とし、かつ、前記送信部の光軸に沿って当該送信部から離れるに従って直径が大きくなる円錐形状の領域であり、
前記受信光視野は、前記受信部の光軸を中心とし、かつ、前記受信部の光軸に沿って当該受信部から離れるに従って直径が大きくなる円錐形状の領域である請求項1に記載の観測装置。
【請求項3】
前記紫外域に属する波長は、240nm~300nmの波長範囲から選定される波長である請求項1に記載の観測装置。
【請求項4】
前記パルス光は、自然放出光(インコヒーレンス光)である請求項3に記載の観測装置。
【請求項5】
前記パルス光の周波数は、1~10MHzである請求項4に記載の観測装置。
【請求項6】
前記パルス光のパルス幅は、1~10nsである請求項5に記載の観測装置。
【請求項7】
前記受光素子が出力する信号は、フォトンに対応するパルス電気信号である請求項1に記載の観測装置。
【請求項8】
前記受信光学系は、非軸放物面ミラー及び折り返しミラーである請求項1に記載の観測装置。
【請求項9】
前記非軸放物面ミラー及び前記折返しミラーは、各々のミラー表面に前記反射光を反射する誘電体多層膜を有する請求項8に記載の観測装置。
【請求項10】
前記非軸放物面ミラー及び前記折返しミラーは、各々の誘電体多層膜の下層、又は各々のミラーの裏面に前記反射光以外の光を吸収する反射防止部材を有する請求項9に記載の観測装置。
発明の詳細な説明
【技術分野】
【0001】
本開示は、観測装置、特に、地表面近傍且つ観測装置から近距離の観測対象物の観測を行うことができる観測装置に関する。
続きを表示(約 1,300 文字)
【背景技術】
【0002】
特許文献1には、観測対象物に向けて発射したレーザ光に対する観測光に基づいてライダー観測を行う観測装置が記載されている。
【先行技術文献】
【特許文献】
【0003】
国際公開第2003/073127号
【発明の概要】
【発明が解決しようとする課題】
【0004】
しかしながら、特許文献1においては、レーザ光を用いて観測するため、比較的遠方(例えば、数キロメートル遠方)に存在する観測対象物の観測が可能であるものの、遠方の観測対象物と観測装置との間の観測対象物、例えば、地表面近傍且つ観測装置から近距離の観測対象物の観測ができない、という課題がある。
【0005】
本開示は、このような課題を解決するためになされたものであり、地表面近傍且つ観測装置から近距離の観測対象物の観測を行うことができる観測装置を提供することを目的とする。
【課題を解決するための手段】
【0006】
本開示にかかる観測装置は、送信光視野を有し、前記送信光視野内にソーラーブラインド帯域の紫外域に属する波長のパルス光を送信する送信部と、受信光視野を有し、観測対象物で反射された前記パルス光の反射光のうち前記受信光視野内の反射光を受信する受信部と、観測データ生成部と、を備え、前記送信部は、前記パルス光を出射する半導体発光素子と、前記半導体発光素子が出射するパルス光が前記送信光視野内に送信されるように、前記半導体発光素子が出射する前記パルス光を制御する送信光学系と、を備え、前記受信部は、前記受信光視野内の反射光を集光する受信光学系と、前記集光された前記反射光を受信し、当該受信した反射光に応じた信号を出力する受光素子と、を備え、前記送信部の光軸と前記受信部の光軸は、互いに平行であり、前記送信光視野を規定する送信光視野角は、前記受信光視野を規定する受信光視野角より大きく、前記送信光視野及び前記受信光視野は、互いに少なくとも一部が重なっており、前記観測データ生成部は、前記受光素子が出力する信号に基づき、観測データであるライダーデータを生成する。
【0007】
このような構成により、地表面近傍且つ観測装置から近距離の観測対象物の観測を行うことができる。
【0008】
これは、受信光視野を規定する受信光視野角より大きく、かつ、送信光視野及び受信光視野が、互いに少なくとも一部が重なっていることによるものである。
【0009】
上記観測装置において、前記送信光視野は、前記送信部の光軸を中心とし、かつ、前記送信部の光軸に沿って当該送信部から離れるに従って直径が大きくなる円錐形状の領域であり、前記受信光視野は、前記受信部の光軸を中心とし、かつ、前記受信部の光軸に沿って当該受信部から離れるに従って直径が大きくなる円錐形状の領域であってよい。
【0010】
また、上記観測装置において、前記紫外域に属する波長は、240nm~300nmの波長範囲から選定される波長であってよい。
(【0011】以降は省略されています)
特許ウォッチbot のツイートを見る
この特許をJ-PlatPat(特許庁公式サイト)で参照する
関連特許
日本精機株式会社
検出装置
2日前
個人
採尿及び採便具
8日前
個人
高精度同時多点測定装置
23日前
個人
アクセサリー型テスター
24日前
株式会社ミツトヨ
測定器
14日前
甲神電機株式会社
電流検出装置
2日前
アズビル株式会社
電磁流量計
17日前
株式会社ヨコオ
ソケット
29日前
トヨタ自動車株式会社
監視装置
29日前
ダイキン工業株式会社
監視装置
28日前
大和製衡株式会社
組合せ計量装置
11日前
愛知時計電機株式会社
ガスメータ
14日前
長崎県
形状計測方法
24日前
日本信号株式会社
距離画像センサ
今日
ローム株式会社
半導体装置
22日前
大和製衡株式会社
組合せ計量装置
11日前
TDK株式会社
磁気センサ
29日前
個人
システム、装置及び実験方法
17日前
愛知電機株式会社
軸部材の外観検査装置
11日前
個人
非接触による電磁パルスの測定方法
今日
双庸電子株式会社
誤配線検査装置
3日前
ローム株式会社
半導体装置
22日前
日本特殊陶業株式会社
センサ
28日前
多摩川精機株式会社
冗長エンコーダ
29日前
トヨタ自動車株式会社
測定システム
21日前
三恵技研工業株式会社
融雪レドーム
29日前
株式会社不二越
X線測定装置
今日
日本特殊陶業株式会社
センサ
14日前
日本特殊陶業株式会社
センサ
28日前
中国電力株式会社
電柱管理システム
28日前
ダイハツ工業株式会社
移動支援装置
29日前
日本特殊陶業株式会社
センサ
28日前
日本特殊陶業株式会社
センサ
28日前
日本特殊陶業株式会社
センサ
28日前
株式会社デンソー
電流センサ
22日前
日東精工株式会社
振動波形検査装置
3日前
続きを見る
他の特許を見る