TOP
|
特許
|
意匠
|
商標
特許ウォッチ
Twitter
他の特許を見る
10個以上の画像は省略されています。
公開番号
2025122050
公報種別
公開特許公報(A)
公開日
2025-08-20
出願番号
2025081991,2023575616
出願日
2025-05-15,2022-11-10
発明の名称
エアロゾル生成装置
出願人
ケーティー アンド ジー コーポレイション
代理人
弁理士法人太陽国際特許事務所
主分類
A24F
40/40 20200101AFI20250813BHJP(たばこ;葉巻たばこ;紙巻たばこ;喫煙具)
要約
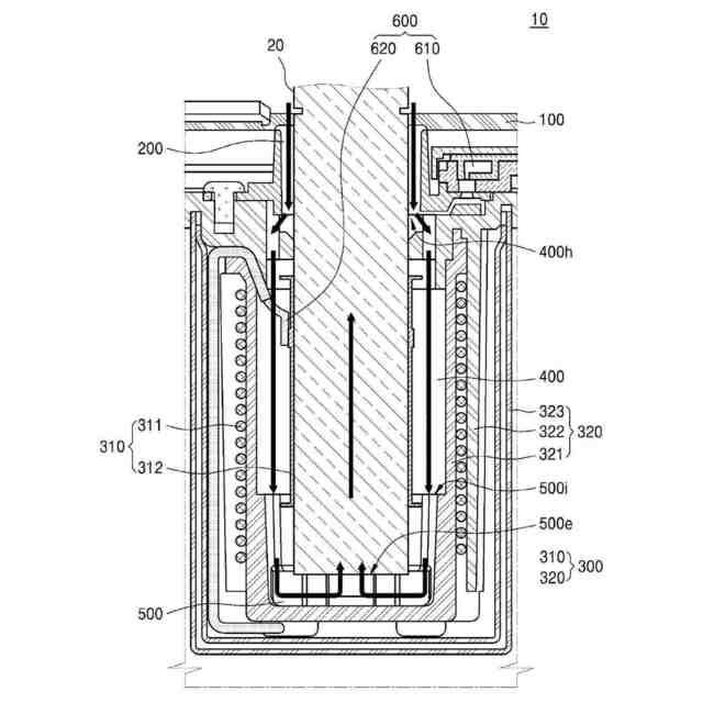
【課題】エアロゾル生成物品に円滑に空気を供給し、霧化性能が向上されたエアロゾル生成装置を提供する。
【解決手段】エアロゾル生成装置10は、エアロゾル生成物品を収容するための収容空間を含むハウジング100;及びエアロゾル生成物品を支持するための1以上の支持体210と、ハウジング外部の空気を受け入れ、収容空間の内部に入るほど、狭くなる流入通路220と、を含み、収容空間の開口に位置した入口側支持部200;を含む。
【選択図】図5
特許請求の範囲
【請求項1】
エアロゾル生成装置において、
エアロゾル生成物品を収容するための収容空間を含むハウジングと、
前記エアロゾル生成物品を支持するための複数の支持体、及び前記ハウジング外部の空気を受け入れ、前記収容空間の内部に提供するための流入通路と、を含み、前記収容空間の開口に位置した入口側支持部と、を含み、
前記複数の支持体は、前記エアロゾル生成物品の外側と接触するように、前記収容空間の周り方向に沿って配置され、
前記流入通路は、前記複数の支持体のうち隣接する支持体間に形成され、
前記流入通路は、前記ハウジングの長手方向において、前記ハウジングの外部に向かう上端部及び前記収容空間の内部に向かう下端部を含み、
前記収容空間の半径方向において、前記流入通路の前記下端部の幅は、前記流入通路の前記上端部の幅より狭い、エアロゾル生成装置。
続きを表示(約 850 文字)
【請求項2】
前記ハウジングの長手方向に沿い、前記収容空間の内部に入るほど、前記流入通路の大きさが低減される、請求項1に記載のエアロゾル生成装置。
【請求項3】
前記収容空間の周り方向における前記流入通路の少なくとも1つの側壁は、前記ハウジングの長手方向に沿って延長され、前記収容空間の周り方向に向けて傾斜をなす、請求項2に記載のエアロゾル生成装置。
【請求項4】
前記少なくとも1つの側壁は、曲線的に傾斜をなす、請求項3に記載のエアロゾル生成装置。
【請求項5】
前記流入通路は、凹状形状を有し、前記エアロゾル生成物品に向けて開放された、請求項1に記載のエアロゾル生成装置。
【請求項6】
前記流入通路は、前記ハウジングの長手方向に沿って延長されながら、前記収容空間の周り方向に向けて反った形状を含み、前記流入通路は、前記流入通路に沿って流れる空気を、前記エアロゾル生成物品を取り囲んで渦形状に流れるようにする、請求項1に記載のエアロゾル生成装置。
【請求項7】
前記ハウジングの長手方向において、前記ハウジングの外部に向かう前記流入通路の開口が、前記収容空間の周り方向に沿って延長される長さは、前記収容空間の内部に位置する前記流入通路の部分が、前記収容空間の周り方向に沿って延長される長さより長い、請求項1に記載のエアロゾル生成装置。
【請求項8】
前記流入通路の幅は、不連続に狭くなる、請求項1に記載のエアロゾル生成装置。
【請求項9】
前記流入通路の幅は、非線形的に狭くなる、請求項1に記載のエアロゾル生成装置。
【請求項10】
前記複数の支持体のうち少なくとも1つの大きさは、前記ハウジングの長手方向において、前記ハウジングの外部から前記収容空間の内部に入るほど、増大する、請求項1に記載のエアロゾル生成装置。
(【請求項11】以降は省略されています)
発明の詳細な説明
【技術分野】
【0001】
本発明は、エアロゾル生成装置に係り、さらに詳細には、エアロゾル生成物品に空気が円滑に供給されるエアロゾル生成装置に関する。
続きを表示(約 1,100 文字)
【背景技術】
【0002】
最近、一般的なシガレットを燃焼させ、エアロゾルを供給する方法を代替するための技術の需要が増大している。例えば、液体状や固体状のエアロゾル生成物質からエアロゾルを生成するか、あるいは液体状のエアロゾル生成物質から蒸気を生成した後、生成された蒸気をして、固体状の香媒体を通過させることにより、香味を有するエアロゾルを供給するというような方法に係わる研究が進められている。
【0003】
最近では、シガレットを燃焼させ、エアロゾルを供給する方法を代替するための方案として、エアロゾル生成物品を加熱し、エアロゾルを生成することができるエアロゾル生成装置が提案されていた。例えば、該エアロゾル生成装置は、ヒータを介し、液体状または固体状のエアロゾル生成物質を所定の温度に加熱し、エアロゾルを生成することができる装置を意味しうる。
【0004】
エアロゾル生成装置を使用する場合、ライタのような付加用品なしにも喫煙が可能であり、ユーザが所望するほど喫煙を可能にするというように、ユーザの喫煙便宜性が向上されうるので、最近になり、エアロゾル生成装置に係わる研究がだんだんと増加している。
【発明の概要】
【発明が解決しようとする課題】
【0005】
エアロゾル生成装置の霧化性能を確保するためには、エアロゾル生成物品に空気が円滑に供給されなければならない。
【0006】
本開示の多様な実施形態は、エアロゾル生成物品に円滑に空気を供給し、霧化性能が向上されたエアロゾル生成装置を提供する。
【0007】
また、本実施形態は、空気の流れの変化を精密に感知することができるエアロゾル生成装置を提供する。
【0008】
本開示の実施形態を介して解決しようとする課題は、前述の課題に制限されるものではなく、言及されていない課題は、本明細書及び添付図面から、実施形態が属する技術分野において通常の知識を有する者に明確に理解されうるであろう。
【課題を解決するための手段】
【0009】
一実施形態によるエアロゾル生成装置は、エアロゾル生成物品を収容するための収容空間を含むハウジング;及びエアロゾル生成物品を支持するための1以上の支持体と、ハウジング外部の空気を受け入れ、該収容空間の内部に入るほど狭くなる流入通路と、を含み、該収容空間の開口に位置した入口側支持部;を含むものでもある。
【発明の効果】
【0010】
本開示の多様な実施形態によるエアロゾル生成装置は、気流を効果的に流入させ、霧化性能を向上させることができる。
(【0011】以降は省略されています)
この特許をJ-PlatPat(特許庁公式サイト)で参照する
関連特許
個人
ヒートスティック除去具
3か月前
日本たばこ産業株式会社
香味吸引物品
1か月前
個人
電子タバコの加熱素子
3か月前
日本たばこ産業株式会社
香味発生物品
1か月前
個人
フレーバ用ブースター器具およびシーシャ装置
3か月前
日本たばこ産業株式会社
口腔用組成物
2か月前
日本たばこ産業株式会社
喫煙システム
2か月前
東莞市佳かい精密金属制品有限公司
充電可能な電子タバコケース
3か月前
日本たばこ産業株式会社
香味吸引システム
2か月前
Future Technology株式会社
エアロゾル吸引カートリッジ
1か月前
日本たばこ産業株式会社
香味吸引システム
2か月前
日本たばこ産業株式会社
低香味原料を含むたばこセグメント
1か月前
日本たばこ産業株式会社
粒状再生セルロースを含有する口腔用組成物
2か月前
日本たばこ産業株式会社
香味発生物品および香味吸引システム
2か月前
日本たばこ産業株式会社
電子装置
2か月前
Future Technology株式会社
喫煙器具
1か月前
Future Technology株式会社
芳香基材
3か月前
日本たばこ産業株式会社
吸引器
2か月前
日本たばこ産業株式会社
たばこ材料、その製造方法、および非燃焼加熱型喫煙物品
1か月前
Future Technology株式会社
芳香カートリッジ
3か月前
Future Technology株式会社
芳香カートリッジ
3か月前
Future Technology株式会社
芳香カートリッジ
5日前
Future Technology株式会社
タバコ充填物集積体
1か月前
Future Technology株式会社
喫煙具用カートリッジ
1か月前
Future Technology株式会社
喫煙具用カートリッジ
1か月前
Future Technology株式会社
喫煙具用カートリッジ
3か月前
Future Technology株式会社
喫煙具用カートリッジ
2か月前
Future Technology株式会社
喫煙具用カートリッジ
2か月前
Future Technology株式会社
喫煙具用カートリッジ
3か月前
Future Technology株式会社
喫煙具用カートリッジ
2か月前
Future Technology株式会社
喫煙具用カートリッジ
3か月前
Future Technology株式会社
喫煙具用カートリッジ
19日前
Future Technology株式会社
電子タバコカートリッジ
1か月前
Future Technology株式会社
電子タバコカートリッジ
2か月前
Future Technology株式会社
被加熱芳香カートリッジ
3か月前
Future Technology株式会社
電子タバコカートリッジ
1か月前
続きを見る
他の特許を見る