TOP
|
特許
|
意匠
|
商標
特許ウォッチ
Twitter
他の特許を見る
10個以上の画像は省略されています。
公開番号
2025126261
公報種別
公開特許公報(A)
公開日
2025-08-28
出願番号
2025105713,2023016076
出願日
2025-06-23,2017-06-16
発明の名称
電子タバコカートリッジ
出願人
Future Technology株式会社
代理人
主分類
A24B
15/18 20060101AFI20250821BHJP(たばこ;葉巻たばこ;紙巻たばこ;喫煙具)
要約
【課題】エアロゾルが電子タバコカートリッジ内を移送される流路を確保しつつ、加熱要素の挿入時にエアロゾル形成基材を安定的に支持可能である支持部材を備えた電子タバコカートリッジを提供する。
【解決手段】タバコ植物または非タバコ植物由来の原料及びエアロゾルフォーマを含有するエアロゾル形成基材と、エアロゾル形成基材を支持する支持部材と、エアロゾル形成基材と前記支持部材との間に配置される別の支持部材と、支持部材に隣接するマウスピースとを備え、エアロゾル形成基材は、短冊状、シート状または繊維状の形態であり、支持部材は、中心部から外方へ延伸して電子タバコカートリッジの周縁に位置する包装部材と接する複数の側部を有し、エアロゾル形成基材で生成されたエアロゾルを冷却する機能を有する。
【選択図】図2
特許請求の範囲
【請求項1】
タバコ植物または非タバコ植物由来の原料及びエアロゾルフォーマを含有するエアロゾル形成基材と、
前記エアロゾル形成基材を支持する支持部材と、前記エアロゾル形成基材と前記支持部材との間に配置される別の支持部材と、前記支持部材に隣接するマウスピースとを備え、
前記エアロゾル形成基材は、短冊状、シート状または繊維状の形態であり、
前記支持部材は、中心部から外方へ延伸して前記電子タバコカートリッジの周縁に位置する包装部材と接する複数の側部を有し、前記エアロゾル形成基材で生成されたエアロゾルを冷却する機能を有する、
ことを特徴とする電子タバコカートリッジ。
発明の詳細な説明
【技術分野】
【0001】
本発明は、タバコ植物または非タバコ植物を用いた電子タバコカートリッジおよびその支持部材に関する。
続きを表示(約 1,800 文字)
【背景技術】
【0002】
近年、タバコの禁煙の傾向に合わせるために、火炎を用いることなく、タバコの成分を含むカートリッジを加熱して、気化したタバコ成分を吸引することで、タバコを楽しむための電子タバコ製品が普及し始めている(たとえば、下記特許文献1を参照)。
【0003】
特許文献1の電子タバコでは、カートリッジのエアロゾル形成基材に加熱要素を挿入してエアロゾル形成基材を加熱し、タバコ成分を含むエアロゾルを生成する。カートリッジは、エアロゾル形成基材を支持する中空管状の支持要素を有し、支持要素は、加熱要素がエアロゾル形成基材内へ挿入される際にカートリッジが受ける力に抗する。加熱によりエアロゾル形成基材から放出されたタバコ成分は、支持要素の中空の部分を通って、下流に位置するマウスピースに移送され、ユーザーによって吸引される。
【先行技術文献】
【特許文献】
【0004】
特許第6000451号明細書
【発明の概要】
【発明が解決しようとする課題】
【0005】
しかし、引用文献1の電子タバコでは、支持要素が中空管状であるため、加熱要素がエアロゾル形成基材内へ挿入される際に、エアロゾル形成基材の中心部を支えきれず、支持要素へ充填物が飛び出すおそれがある。
【0006】
本発明は、上記従来技術に伴う課題を解決するためになされたものであり、エアロゾルが電子タバコカートリッジ内を移送される流路を確保しつつ、加熱要素の挿入時にエアロゾル形成基材を安定的に支持可能である支持部材を提供することを目的とする。
【課題を解決するための手段】
【0007】
上記目的を達成するための本発明は、タバコ植物または非タバコ植物を用いた電子タバコカートリッジ用の支持部材である。支持部材は、前記電子タバコカートリッジの長手方向の中心軸に沿って位置する中心部と、当該中心部から外方へ延伸して前記電子タバコカートリッジの周縁に位置する包装部材と接する側部と、を有し、前記電子タバコカートリッジの一端部に位置するエアロゾル形成基材に隣接して、または当該エアロゾル形成基材との間に他の部材を挟んで配置され、当該エアロゾル形成基材を支持する。
【0008】
また、上記目的を達成するための本発明は、前記エアロゾル形成基材と、前記支持部材と、を有する、タバコ植物または非タバコ植物を用いた電子タバコカートリッジである。
【発明の効果】
【0009】
本発明によれば、支持部材の中心部と支持部材を覆う包装部材の内面との間に空間が形成されるので、エアロゾルが移送される流路を確保しつつ、エアロゾル形成基材への加熱要素の挿入時に中心部によってエアロゾル形成基材を安定的に支持できる。
【図面の簡単な説明】
【0010】
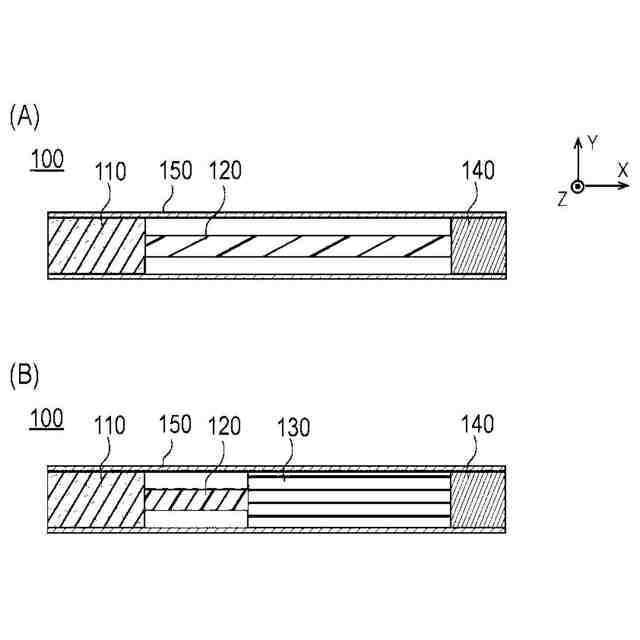
本発明の実施形態に係る電子タバコカートリッジの外観を例示する概略斜視図である。
(A)は図1のA-A線に沿って切断した電子タバコカートリッジの一例を示す断面図であり、(B)は図1のA-A線に沿って切断した電子タバコカートリッジの他の例を示す断面図である。
図2(A)に示すエアロゾル形成基材の充填物について例示する図である。
電子タバコカートリッジおよび加熱要素を例示する断面図である。
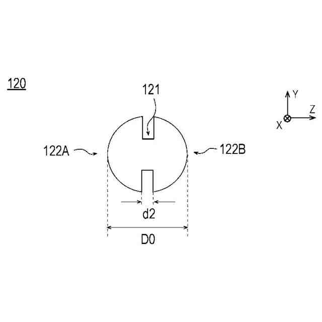
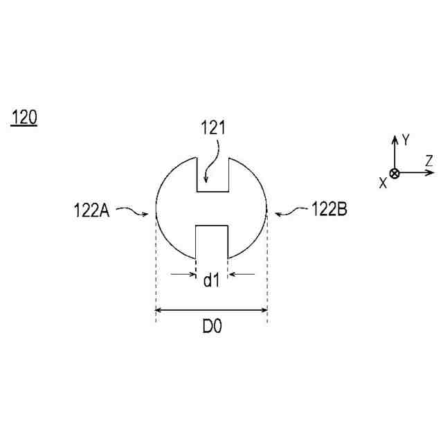
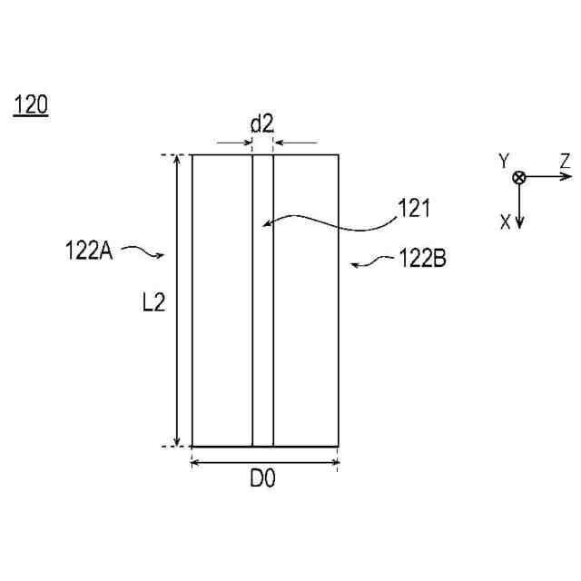
実施例1の支持部材を図2(A)のX方向から見た平面図である。
実施例1の支持部材を図2(A)のY方向から見た側面図である。
実施例2の支持部材を図2(A)のX方向から見た平面図である。
実施例2の支持部材を図2(A)のY方向から見た側面図である。
実施例3の支持部材を図2(A)のX方向から見た平面図である。
実施例3の支持部材を図2(A)のY方向から見た側面図である。
実施例3の支持部材を図2(A)のZ方向から見た側面図である。
実施例4の支持部材を図2(A)のX方向から見た平面図である。
実施例4の支持部材を図2(A)のY方向から見た側面図である。
実施例4の支持部材を図2(A)のZ方向から見た側面図である。
【発明を実施するための形態】
(【0011】以降は省略されています)
この特許をJ-PlatPat(特許庁公式サイト)で参照する
関連特許
日本たばこ産業株式会社
香味吸引物品
1か月前
個人
電子タバコの加熱素子
3か月前
個人
フレーバ用ブースター器具およびシーシャ装置
3か月前
日本たばこ産業株式会社
口腔用組成物
2か月前
日本たばこ産業株式会社
喫煙システム
2か月前
日本たばこ産業株式会社
香味発生物品
1か月前
東莞市佳かい精密金属制品有限公司
充電可能な電子タバコケース
3か月前
Future Technology株式会社
エアロゾル吸引カートリッジ
1か月前
日本たばこ産業株式会社
香味吸引システム
2か月前
日本たばこ産業株式会社
香味吸引システム
2か月前
日本たばこ産業株式会社
低香味原料を含むたばこセグメント
1か月前
日本たばこ産業株式会社
粒状再生セルロースを含有する口腔用組成物
2か月前
日本たばこ産業株式会社
香味発生物品および香味吸引システム
2か月前
日本たばこ産業株式会社
電子装置
3か月前
Future Technology株式会社
芳香基材
3か月前
Future Technology株式会社
喫煙器具
1か月前
日本たばこ産業株式会社
吸引器
2か月前
日本たばこ産業株式会社
たばこ材料、その製造方法、および非燃焼加熱型喫煙物品
1か月前
Future Technology株式会社
芳香カートリッジ
8日前
Future Technology株式会社
タバコ充填物集積体
1か月前
Future Technology株式会社
喫煙具用カートリッジ
1か月前
Future Technology株式会社
喫煙具用カートリッジ
2か月前
Future Technology株式会社
喫煙具用カートリッジ
3か月前
Future Technology株式会社
喫煙具用カートリッジ
3か月前
Future Technology株式会社
喫煙具用カートリッジ
22日前
Future Technology株式会社
喫煙具用カートリッジ
3か月前
Future Technology株式会社
喫煙具用カートリッジ
2か月前
Future Technology株式会社
喫煙具用カートリッジ
2か月前
Future Technology株式会社
電子タバコカートリッジ
1か月前
Future Technology株式会社
電子タバコカートリッジ
1か月前
Future Technology株式会社
電子タバコカートリッジ
1か月前
Future Technology株式会社
被加熱芳香カートリッジ
1か月前
Future Technology株式会社
電子タバコカートリッジ
2か月前
日本たばこ産業株式会社
非燃焼式吸引器
3か月前
シェンチェン ギークベイプ テクノロジー カンパニー リミテッド
電子霧化装置
2か月前
Future Technology株式会社
加熱式タバコ用カートリッジ
22日前
続きを見る
他の特許を見る