TOP
|
特許
|
意匠
|
商標
特許ウォッチ
Twitter
他の特許を見る
10個以上の画像は省略されています。
公開番号
2025122245
公報種別
公開特許公報(A)
公開日
2025-08-20
出願番号
2025094620,2024034513
出願日
2025-06-06,2019-07-01
発明の名称
ヒータアッセンブリ及び香味吸引器
出願人
日本たばこ産業株式会社
代理人
個人
,
個人
,
個人
,
個人
主分類
A24F
40/46 20200101AFI20250813BHJP(たばこ;葉巻たばこ;紙巻たばこ;喫煙具)
要約
【課題】ヒータがエアロゾル源を加熱することによって生じるエアロゾルがインレットから漏れる態様について改善された香味吸引器のヒータアッセンブリが提供される。
【解決手段】ヒータアッセンブリ30は、エアロゾル源を霧化するヒータと、ヒータがエアロゾル源を加熱することによって生じるエアロゾルが通るエアロゾルチャネルの少なくとも一部として所定方向に沿って延びる霧化チャンバと、霧化チャンバにインレットから空気を供給する吸気チャネルと、を備える。吸気チャネルは、所定方向に沿って延在するとともに、インレットに連通する第1チャネルと、所定方向に沿ったヒータアッセンブリの断面視において、第1チャネルから交差方向に沿って延びる第2チャネルと、第2チャネルから所定方向に沿って延在する第3チャネルと、を含む。
【選択図】図4
特許請求の範囲
【請求項1】
ヒータアッセンブリであって、
エアロゾル源を霧化するヒータと、
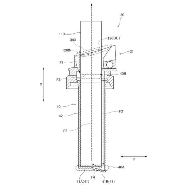
前記ヒータが前記エアロゾル源を加熱することによって生じるエアロゾルが通るエアロゾルチャネルの少なくとも一部として所定方向に沿って延びる霧化チャンバと、
前記霧化チャンバにインレットから空気を供給する吸気チャネルと、を備え、
前記吸気チャネルは、
前記所定方向に沿って延在するとともに、前記インレットに連通する第1チャネルと、
前記所定方向に沿った前記ヒータアッセンブリの断面視において、前記所定方向と交差する交差方向に沿って前記第1チャネルから延びる第2チャネルと、
前記第2チャネルから前記所定方向に沿って延在する第3チャネルと、を含むヒータアッセンブリ。
続きを表示(約 1,000 文字)
【請求項2】
前記第3チャネルは、前記交差方向において前記霧化チャンバに隣接する、請求項1に記載のヒータアッセンブリ。
【請求項3】
前記第2チャネルは、前記エアロゾルチャネルの内周又は外周に沿って延びる形状を有する、請求項1又は請求項2に記載のヒータアッセンブリ。
【請求項4】
前記第2チャネルは、前記エアロゾルチャネルの内周又は外周に沿って第1方向に延びるチャネルと、前記エアロゾルチャネルの内周又は外周に沿って前記第1方向とは反対の第2方向に延びるチャネルと、を含む請求項3に記載のヒータアッセンブリ。
【請求項5】
前記第2チャネルは、前記エアロゾルチャネルの内周又は外周に沿って螺旋状に延びる形状を有する、請求項3に記載のヒータアッセンブリ。
【請求項6】
前記吸気チャネルから前記霧化チャンバに空気が流入する側に設けられた第1端と、
前記霧化チャンバからエアロゾルが流出する側に設けられた第2端と、を備え、
前記第3チャネルは、前記第1端と前記第2端との間の範囲において前記霧化チャンバと隣接する位置に設けられる、請求項1乃至請求項5のいずれか1項に記載のヒータアッセンブリ。
【請求項7】
前記エアロゾル源は、柱状形状を有する柱状物品であり、
前記霧化チャンバは、前記柱状物品を収容するとともに、前記吸気チャネルから前記霧化チャンバに空気が流入する側に設けられた第1端で前記柱状物品を支持する、請求項1乃至請求項6のいずれか1項に記載のヒータアッセンブリ。
【請求項8】
前記インレットから空気が吸引される場合に、前記霧化チャンバは、前記第3チャネル内の空気の流れの向きの反対方向に、前記エアロゾル源から生じるエアロゾルを導く、請求項1乃至請求項7のいずれか1項に記載のヒータアッセンブリ。
【請求項9】
前記第2チャネルの少なくとも一部は、前記柱状物品が前記霧化チャンバに挿入された状態において前記柱状物品の外側側面によって構成される、請求項7又は請求項7を引用する請求項8に記載のヒータアッセンブリ。
【請求項10】
前記第2チャネルに隣接する位置において前記柱状部材の外側側面に沿って設けられる筒状部材を備え、
前記第2チャネルの少なくとも一部は、前記筒状部材の外側側面によって構成される、請求項7又は請求項7を引用する請求項8に記載のヒータアッセンブリ。
(【請求項11】以降は省略されています)
発明の詳細な説明
【技術分野】
【0001】
本発明は、ヒータアッセンブリ及び香味吸引器に関する。
続きを表示(約 1,400 文字)
【背景技術】
【0002】
従来、燃焼を伴わずに香味発生物品を加熱する香味吸引器が知られている。香味吸引器は、エアロゾル源を霧化するヒータと、ヒータがエアロゾル源を加熱することによって生じるエアロゾルのチャネルの少なくとも一部を有する霧化チャンバと、霧化チャンバにインレットから空気を供給する吸気チャネルと、を備える(例えば、特許文献1-3)。
【先行技術文献】
【特許文献】
【0003】
特表2001-521123号公報
特表2015-504667号公報
特表2006-505281号公報
【発明の概要】
【発明が解決しようとする課題】
【0004】
第1の特徴は、ヒータアッセンブリであって、エアロゾル源を霧化するヒータと、前記ヒータが前記エアロゾル源を加熱することによって生じるエアロゾルが通るエアロゾルチャネルの少なくとも一部として所定方向に沿って延びる霧化チャンバと、前記霧化チャンバにインレットから空気を供給する吸気チャネルと、を備え、前記吸気チャネルは、前記所定方向に沿って延在するとともに、前記インレットに連通する第1チャネルと、前記所定方向に沿った前記ヒータアッセンブリの断面視において、前記所定方向と交差する交差方向に沿って前記第1チャネルから延びる第2チャネルと、前記第2チャネルから前記所定方向に沿って延在する第3チャネルと、を含む、ことを要旨とする。
【0005】
第2の特徴は、第1の特徴において、前記第3チャネルは、前記交差方向において前記霧化チャンバに隣接する、ことを要旨とする。
【0006】
第3の特徴は、第1の特徴又は第2の特徴において、前記第2チャネルは、前記エアロゾルチャネルの内周又は外周に沿って延びる形状を有する、ことを要旨とする。
【0007】
第4の特徴は、第3の特徴において、前記第2チャネルは、前記エアロゾルチャネルの内周又は外周に沿って第1方向に延びるチャネルと、前記エアロゾルチャネルの内周又は外周に沿って前記第1方向とは反対の第2方向に延びるチャネルと、を含む、ことを要旨とする。
【0008】
第5の特徴は、第3の特徴において、前記第2チャネルは、前記エアロゾルチャネルの内周又は外周に沿って螺旋状に延びる形状を有する、ことを要旨とする。
【0009】
第6の特徴は、第1の特徴乃至第5の特徴のいずれか1つにおいて、前記ヒータアッセンブリは、前記吸気チャネルから前記霧化チャンバに空気が流入する側に設けられた第1端と、前記霧化チャンバからエアロゾルが流出する側に設けられた第2端と、を備え、前記第3チャネルは、前記第1端と前記第2端との間の範囲において前記霧化チャンバと隣接する位置に設けられる、ことを要旨とする。
【0010】
第7の特徴は、第1の特徴乃至第6の特徴のいずれか1つにおいて、前記エアロゾル源
は、柱状形状を有する柱状物品であり、前記霧化チャンバは、前記柱状物品を収容するとともに、前記吸気チャネルから前記霧化チャンバに空気が流入する側に設けられた第1端で前記柱状物品を支持する、ことを要旨とする。
(【0011】以降は省略されています)
この特許をJ-PlatPat(特許庁公式サイト)で参照する
関連特許
日本たばこ産業株式会社
香味供給物品用の容器の検査装置及び検査方法
10日前
日本たばこ産業株式会社
飽和脂肪酸系添加剤を含むたばこ組成物
5日前
日本たばこ産業株式会社
エアロゾル生成装置の電源ユニット、カートリッジ、及びエアロゾル生成装置
6日前
日本たばこ産業株式会社
情報処理装置、情報処理システム、情報処理端末、情報処理方法及びプログラム
5日前
株式会社ルック
携帯用灰皿
6か月前
個人
ヒートスティック除去具
3か月前
日本たばこ産業株式会社
香味吸引物品
1か月前
個人
電子タバコの加熱素子
3か月前
日本たばこ産業株式会社
口腔用組成物
2か月前
日本たばこ産業株式会社
喫煙システム
2か月前
個人
フレーバ用ブースター器具およびシーシャ装置
3か月前
日本たばこ産業株式会社
香味発生物品
1か月前
東莞市佳かい精密金属制品有限公司
充電可能な電子タバコケース
3か月前
Future Technology株式会社
エアロゾル吸引カートリッジ
1か月前
日本たばこ産業株式会社
香味吸引システム
2か月前
日本たばこ産業株式会社
香味吸引システム
2か月前
エム・クリエイト株式会社
灰皿装置及び灰皿管理システム
4か月前
日本たばこ産業株式会社
低香味原料を含むたばこセグメント
1か月前
日本たばこ産業株式会社
非燃焼加熱型香味吸引物品用フィルタ
5か月前
日本たばこ産業株式会社
たばこ原料の製造方法およびたばこ原料
6か月前
日本たばこ産業株式会社
粒状再生セルロースを含有する口腔用組成物
2か月前
日本たばこ産業株式会社
香味発生物品および香味吸引システム
2か月前
Future Technology株式会社
エアロゾル吸引カートリッジ用のエアロゾル形成部材
6か月前
日本たばこ産業株式会社
電子装置
2か月前
Future Technology株式会社
喫煙器具
1か月前
Future Technology株式会社
芳香基材
3か月前
日本たばこ産業株式会社
吸引器
2か月前
日本たばこ産業株式会社
たばこ材料、その製造方法、および非燃焼加熱型喫煙物品
1か月前
Future Technology株式会社
芳香カートリッジ
5か月前
Future Technology株式会社
芳香カートリッジ
3か月前
Future Technology株式会社
芳香カートリッジ
6か月前
Future Technology株式会社
芳香カートリッジ
4か月前
Future Technology株式会社
芳香カートリッジ
5日前
Future Technology株式会社
芳香カートリッジ
3か月前
Future Technology株式会社
タバコ充填物集積体
1か月前
Future Technology株式会社
喫煙具用カートリッジ
3か月前
続きを見る
他の特許を見る