TOP
|
特許
|
意匠
|
商標
特許ウォッチ
Twitter
他の特許を見る
10個以上の画像は省略されています。
公開番号
2025123969
公報種別
公開特許公報(A)
公開日
2025-08-25
出願番号
2024019786
出願日
2024-02-13
発明の名称
アプリケーションプログラム、システム、及び管理方法
出願人
小林製薬株式会社
代理人
個人
,
個人
,
個人
主分類
G16H
10/00 20180101AFI20250818BHJP(特定の用途分野に特に適合した情報通信技術)
要約
【課題】月経周期に伴う心身の状態の入力操作を改善する。
【解決手段】アプリケーションプログラムは、ユーザUの月経周期を管理する。アプリケーションプログラムは、ユーザUの端末装置20に、月経周期に含まれる複数の異なるフェーズであって、ユーザUにより入力された月経開始日に基づいて算出されるフェーズの時期を示す周期データを取得させ、端末装置20に、ユーザUにより操作される入力ボタンを含む初期画面を表示させ、端末装置20により、ユーザUにより行われた入力ボタンに対する操作が検出されると、端末装置20に、周期データを参照させて、操作が検出された日の日付がフェーズのいずれに該当するかを判定させ、判定された結果に応じて、ユーザUの月経周期に伴う心身の状態を入力するための入力画面の表示を調整させる。
【選択図】図1
特許請求の範囲
【請求項1】
ユーザの月経周期を管理するためのアプリケーションプログラムであって、
前記ユーザの端末装置に、前記月経周期に含まれる複数の異なるフェーズであって、前記ユーザにより入力された月経開始日に基づいて算出されるフェーズの時期を示す周期データを取得させ、
前記端末装置に、前記ユーザにより操作される入力ボタンを含む初期画面を表示させ、
前記端末装置により、前記ユーザにより行われた前記入力ボタンに対する操作が検出されると、前記端末装置に、前記周期データを参照させて、前記操作が検出された日の日付が複数の前記フェーズのいずれに該当するかを判定させ、判定された結果に応じて、前記ユーザの月経周期に伴う心身の状態を入力するための入力画面の表示を調整させる、アプリケーションプログラム。
続きを表示(約 1,900 文字)
【請求項2】
前記入力画面は、前記ユーザに月経周期に伴う心身の状態を選択させるための複数の入力用アイコンを表示する画面であり、
前記複数の入力用アイコンには、入力用アイコンの項目ごとに各フェーズに対応して異なる重要度が付与されており、
前記端末装置に、前記操作が検出された日の日付が該当するフェーズに対応して付与された重要度が高い項目の順に前記入力用アイコンを配列して前記入力画面に表示させる、請求項1に記載のアプリケーションプログラム。
【請求項3】
前記入力画面は、前記ユーザに月経周期に伴う心身の状態を選択させるための複数の入力用アイコンを表示する画面であり、
前記端末装置に、前記ユーザにより前記入力画面において行われた前記入力用アイコンを選択する操作の、フェーズごとの履歴を参照させ、
前記端末装置に、前記操作が検出された日の日付が該当するフェーズにおいて過去に選択された頻度が高い入力用アイコンの項目の順に前記入力用アイコンを配列して前記入力画面に表示させる、請求項1に記載のアプリケーションプログラム。
【請求項4】
前記入力画面は、前記ユーザに月経周期に伴う心身の状態を選択させるための複数の入力用アイコンを表示する画面であり、
前記端末装置に、前記ユーザが前記月経周期に関して行う行動として予め登録しているアクションを示すアクションデータを更に取得させ、
前記端末装置に、前記アクションデータを参照させ、前記アクションに応じて、前記ユーザに当該アクションの結果を記録させるための設定ボタンを、前記入力画面において前記入力用アイコンよりも優先して表示させる、請求項1に記載のアプリケーションプログラム。
【請求項5】
前記ユーザに月経周期に伴う心身の状態を入力させるタイミングが予め定められており、
前記タイミングを過ぎても前記入力ボタンに対する操作が検出されない場合に、前記端末装置に、前記ユーザに対して月経周期に伴う心身の状態の入力を促すためのメッセージを表示させる、請求項1に記載のアプリケーションプログラム。
【請求項6】
請求項1から請求項5のいずれか1項に記載のアプリケーションプログラムが格納された端末装置と、
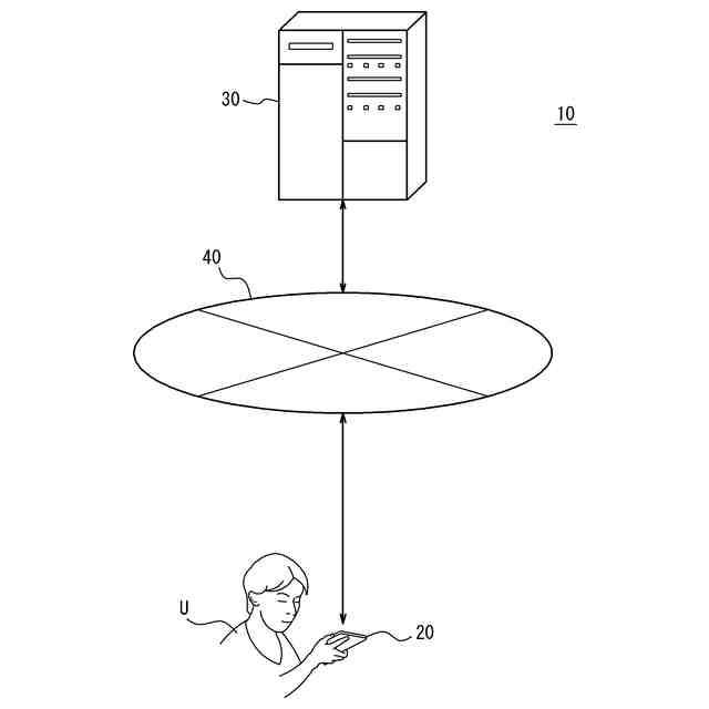
前記端末装置からのリクエストに応じて、前記ユーザにより入力された月経開始日に基づいて前記月経周期に含まれる複数の異なるフェーズの時期を算出し、算出されたフェーズの時期を示す周期データを生成し、生成された周期データを前記端末装置に提供する情報処理装置と
を備えるシステム。
【請求項7】
ユーザの月経周期を管理するための管理方法であって、
情報処理装置により、前記ユーザにより入力された月経開始日に基づいて前記月経周期に含まれる複数の異なるフェーズの時期を算出することと、
前記情報処理装置により、算出されたフェーズを示す周期データを生成し、生成された周期データを前記ユーザの端末装置に提供することと、
前記ユーザの端末装置により、前記情報処理装置から前記周期データを取得することと、
前記端末装置により、前記ユーザにより操作される入力ボタンを含む初期画面を表示することと、
前記端末装置により、前記ユーザにより行われた前記入力ボタンに対する操作を検出することと、
前記端末装置により、前記周期データを参照して、前記操作が検出された日の日付が複数の前記フェーズのいずれに該当するかを判定し、判定された結果に応じて、前記ユーザの月経周期に伴う心身の状態を入力するための入力画面の表示を調整することと
を含む管理方法。
【請求項8】
ユーザに関わるスケジュールを管理するためのアプリケーションプログラムであって、
前記ユーザの端末装置に、前記スケジュールに含まれる複数の異なるフェーズであって、前記ユーザにより入力された所定の日付に基づいて算出されるフェーズの時期を示す周期データを取得させ、
前記端末装置に、前記ユーザにより操作される入力ボタンを含む初期画面を表示させ、
前記端末装置により、前記ユーザにより行われた前記入力ボタンに対する操作が検出されると、前記端末装置に、前記周期データを参照させて、前記操作が検出された日の日付が複数の前記フェーズのいずれに該当するかを判定させ、判定された結果に応じて、前記ユーザの状態を入力するための入力画面の表示を調整させる、アプリケーションプログラム。
発明の詳細な説明
【技術分野】
【0001】
本開示は、アプリケーションプログラム、システム、及び管理方法に関する。
続きを表示(約 1,800 文字)
【背景技術】
【0002】
特許文献1には、利用者を心身の傾向に応じた複数のタイプのいずれかに分類した結果に基づいて、利用者に対する提案行動を決定し、決定された提案行動に関する情報と、当該提案行動の実行を促す内容の記事を利用者に提供する情報処理装置が開示されている。
【先行技術文献】
【特許文献】
【0003】
特開2022-031460号公報
【発明の概要】
【発明が解決しようとする課題】
【0004】
スマートフォンなどの端末装置にインストールされたアプリケーションを用いて月経(生理)周期に伴うユーザの心身の状態を管理することが行われている。しかしながら、ユーザにとって、心身の状態を登録する際の入力操作が面倒であり、改善の余地があった。
【0005】
本開示の目的は、月経周期に伴う心身の状態の入力操作を改善することである。
【課題を解決するための手段】
【0006】
(1)本開示の一実施形態に係るアプリケーションプログラムは、ユーザの月経周期を管理するためのアプリケーションプログラムであって、
前記ユーザの端末装置に、前記月経周期に含まれる複数の異なるフェーズであって、前記ユーザにより入力された月経開始日に基づいて算出されるフェーズの時期を示す周期データを取得させ、
前記端末装置に、前記ユーザにより操作される入力ボタンを含む初期画面を表示させ、
前記端末装置により、前記ユーザにより行われた前記入力ボタンに対する操作が検出されると、前記端末装置に、前記周期データを参照させて、前記操作が検出された日の日付が複数の前記フェーズのいずれに該当するかを判定させ、判定された結果に応じて、前記ユーザの月経周期に伴う心身の状態を入力するための入力画面の表示を調整させる。
【0007】
(2)本開示の一実施形態に係るアプリケーションプログラムは、(1)に記載のアプリケーションプログラムであって、
前記入力画面は、前記ユーザに月経周期に伴う心身の状態を選択させるための複数の入力用アイコンを表示する画面であり、
前記複数の入力用アイコンには、入力用アイコンの項目ごとに各フェーズに対応して異なる重要度が付与されており、
前記端末装置に、前記操作が検出された日の日付が該当するフェーズに対応して付与された重要度が高い項目の順に前記入力用アイコンを配列して前記入力画面に表示させる。
【0008】
(3)本開示の一実施形態に係るアプリケーションプログラムは、(1)又は(2)に記載のアプリケーションプログラムであって、
前記入力画面は、前記ユーザに月経周期に伴う心身の状態を選択させるための複数の入力用アイコンを表示する画面であり、
前記端末装置に、前記ユーザにより前記入力画面において行われた前記入力用アイコンを選択する操作の、フェーズごとの履歴を参照させ、
前記端末装置に、前記操作が検出された日の日付が該当するフェーズにおいて過去に選択された頻度が高い入力用アイコンの項目の順に前記入力用アイコンを配列して前記入力画面に表示させる。
【0009】
(4)本開示の一実施形態に係るアプリケーションプログラムは、(1)から(3)のいずれかに記載のアプリケーションプログラムであって、
前記端末装置に、前記ユーザが前記月経周期に関して行う行動として予め登録しているアクションを示すアクションデータを更に取得させ、
前記端末装置に、前記アクションデータを参照させ、前記アクションに応じて、前記ユーザに当該アクションの結果を記録させるための設定ボタンを、前記入力画面において前記入力用アイコンよりも優先して表示させる。
【0010】
(5)本開示の一実施形態に係るアプリケーションプログラムは、(1)から(4)のいずれかに記載のアプリケーションプログラムであって、
前記ユーザに月経周期に伴う心身の状態を入力させるタイミングが予め定められており、
前記タイミングを過ぎても前記入力ボタンに対する操作が検出されない場合に、前記端末装置に、前記ユーザに対して月経周期に伴う心身の状態の入力を促すためのメッセージを表示させる。
(【0011】以降は省略されています)
この特許をJ-PlatPat(特許庁公式サイト)で参照する
関連特許
小林製薬株式会社
芳香器
19日前
小林製薬株式会社
経口組成物
7日前
小林製薬株式会社
洗浄剤組成物
6日前
小林製薬株式会社
洗浄剤組成物
19日前
小林製薬株式会社
アロマランプ
19日前
小林製薬株式会社
アロマランプ
19日前
小林製薬株式会社
眼科用組成物
1か月前
小林製薬株式会社
発泡錠剤用の口腔内装着器具洗浄剤
1か月前
小林製薬株式会社
発泡錠剤用の口腔内装着器具洗浄剤
1か月前
小林製薬株式会社
ヒドロキシクエン酸誘導体又はその塩
2か月前
小林製薬株式会社
アプリケーションプログラム、システム、及び管理方法
2か月前
小林製薬株式会社
歯間清掃具
2か月前
小林製薬株式会社
口腔用組成物
1か月前
小林製薬株式会社
鼻腔洗浄用組成物
1か月前
小林製薬株式会社
腹圧性尿失禁改善剤
1か月前
小林製薬株式会社
月経前肌荒れ改善剤
29日前
小林製薬株式会社
ナットウキナーゼを含む経口組成物
1か月前
小林製薬株式会社
ナットウキナーゼを含む経口組成物
1か月前
小林製薬株式会社
尿路機能改善用組成物及び膀胱血流改善用組成物
1か月前
小林製薬株式会社
尿意ストレス予防または緩和用組成物及び睡眠改善用組成物
1か月前
小林製薬株式会社
細菌性膣症の抑制剤、細菌性膣症関連細菌のオートインデューサー-2阻害剤、細菌性膣症関連細菌のバイオフィルム形成の抑制剤、細菌性膣症関連細菌に対する抗菌薬抗菌力の増強剤、及び当該抗菌力の増強方法
26日前
個人
医療のAI化
1か月前
個人
支援システム
5か月前
個人
管理装置
5か月前
個人
対話システム
5か月前
個人
通知ぬいぐるみAIシステム
2か月前
キラル株式会社
ヘルスケアシステム
13日前
個人
情報システムおよび方法
7か月前
キラル株式会社
ヘルスケアシステム
13日前
株式会社タカゾノ
薬剤秤量装置
3か月前
株式会社タカゾノ
薬剤秤量装置
3か月前
株式会社タカゾノ
薬剤秤量装置
4か月前
株式会社タカゾノ
薬剤秤量装置
3か月前
株式会社タカゾノ
薬剤秤量装置
3か月前
株式会社タカゾノ
薬剤秤量装置
3か月前
株式会社タカゾノ
薬剤秤量装置
5日前
続きを見る
他の特許を見る