TOP
|
特許
|
意匠
|
商標
特許ウォッチ
Twitter
他の特許を見る
公開番号
2025126287
公報種別
公開特許公報(A)
公開日
2025-08-28
出願番号
2025107957,2021148052
出願日
2025-06-26,2021-09-10
発明の名称
筆記具の頭冠
出願人
株式会社パイロットコーポレーション
代理人
主分類
B43K
25/02 20060101AFI20250821BHJP(筆記用または製図用の器具;机上付属具)
要約
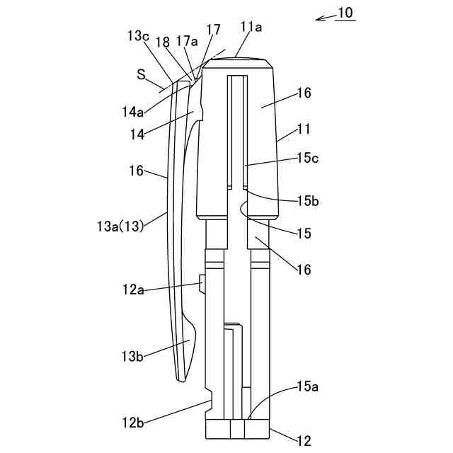
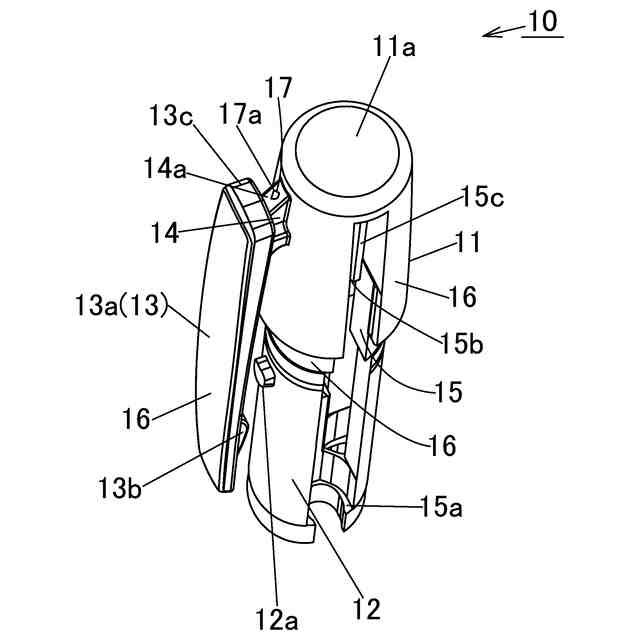
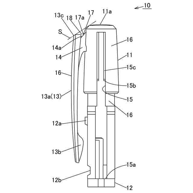
【課題】射出成形時の成形性が良く外周面の凹凸部がきれいに成形され、且つ、指が当接し難い位置にゲート跡を形成した筆記具の頭冠を提供すること。
【解決手段】頭冠本体11と、該頭冠本体11の一端に接続部14を介して連設されたクリップ部13と、を有し、接続部14に射出成形によるゲート跡17が形成され、頭冠本体11とクリップ部13との間に前方へ向かって凹む凹部18を有し、ゲート跡17は、該ゲート跡17が頭冠本体11の後端とクリップ部13の後端とを結ぶ接線より外方へ突出しないよう前記凹部18内に位置し、クリップ部13および/または頭冠本体11の外周面には微細な凹凸部を有し、接続部14が、後方へ向かうにつれ頭冠本体11側に近づくように傾斜する傾斜部14aを有し、傾斜部14に前記ゲート跡17を形成する。
【選択図】図2
特許請求の範囲
【請求項1】
合成樹脂で射出成形された
筆記具の頭冠
であって
、
頭
冠本体と、該頭冠本体の一端に接続部を介して連設されたクリップ部と、を有し、
前記接続部に射出成形によるゲート跡が形成され、
前記頭冠本体と前記クリップ部との間に前方へ向かって凹む凹部を有し、
前記ゲート跡は、該ゲート跡が前記頭冠本体の後端と前記クリップ部の後端とを結ぶ接
線より外方へ突出しないよう前記凹部内に位置し
、
前
記接続部が、後方へ向かうにつれ前記頭冠本体側に近づくように傾斜する傾斜部を有
し、前記傾斜部に前記ゲート跡が形成され、
筆記具の
軸筒に対して前後に摺動可能に装着され
、コ
イルスプリングにより後方へ付勢さ
れた
ことを特徴とする
筆記具の頭冠
。
続きを表示(約 320 文字)
【請求項2】
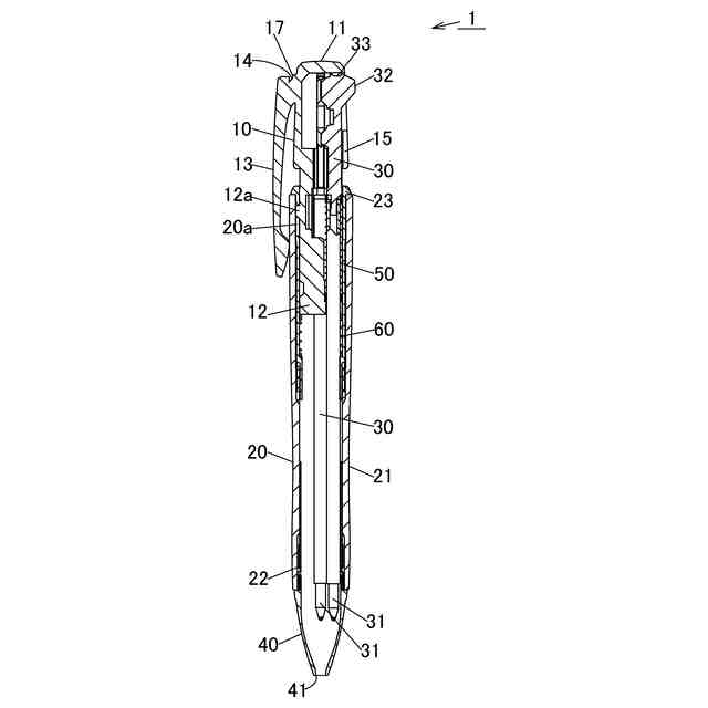
前記頭冠本体前部には、該頭冠本体に連設され前方へ延びる中子部を有し、
前記頭冠本体または中子部の側面に、軸方向に沿って延
び筆
記ユニットが装着される複数のスリット部を有することを特徴とする請求項1に記載の
筆記具の頭冠
。
【請求項3】
前記筆記ユニットの後部外面には前記スリット部から外方へ突出する操作部が形成されたことを特徴とする請求項2に記載の
筆記具の頭冠
。
【請求項4】
前記複数のスリット部に装着される前記筆記ユニットの少なくとも一つがシャープペンシルユニットであることを特徴とする請求項2または3に記載の筆記具の頭冠。
発明の詳細な説明
【技術分野】
【0001】
本発明は、筆記具の頭冠に関するものである。
続きを表示(約 1,900 文字)
【背景技術】
【0002】
従来から、筆記具の部品である合成樹脂製の頭冠(キャップを含む)は、重量も軽く樹脂材のもつ材質感と、樹脂の材料により色々な製品を射出成形によって製作することが可能であるため、様々な筆記具に使用されている。射出成形する際に用いられる合成樹脂としては、アクリル樹脂、ABS樹脂、AS樹脂、PP樹脂、PC樹脂、またはPET樹脂等が主として使用される。
【0003】
こうした射出成形を用いる場合には、成形品に必ずゲート跡が残るという問題を抱えており、一方で筆記具の頭冠(キャップを含む)には転がり防止用の突起部や胸ポケットなどに挿して携帯するためのクリップ部を有する場合が多いことから、先細りしており合成樹脂の流動性が悪いクリップ部や樹脂の厚みが必要となる突起部の成形性、把持した際にゲート跡が指に当たることによる触感の低下、外観や美観に与える影響等を考慮するとゲート跡をどこに設けるかは重要な課題となっている。
【0004】
この問題を解決する手段として、本願出願人は、特許文献1に、クリップ部の近傍にゲートを配置し、突起頂面のキャップ先端側への延長線よりも内側にゲート跡を形成するこことで、クリップ部への成形性がよく、キャップを指で把持した際にゲート跡が指に当たり難い筆記具のキャップを開示している。
【0005】
また、本願出願人は、特許文献2に、筆記具の外装本体にクリップとなる突部を設け、突部の外装本体と対向する面にゲート跡を形成することで、外観としての美観を損なうことなく、成形時のヒケや歪み等の問題がでない筆記具の部品を開示している。
【0006】
一方で、筆記具の頭冠(キャップを含む)は、頭冠本体やクリップの外周全てが鏡面仕上げではなく、微細な凹凸部(シボ面など)が形成される場合があり、成形時に微細な凹凸部に合成樹脂をしっかり流れ込ませるためには、合成樹脂を流し込むゲートの設置位置をより慎重に決める必要がある。
【0007】
しかしながら、特許文献1におけるゲート跡は、突起やクリップの近傍にあることで該突起やクリップの成形性は良くなっているが、ゲート跡が完全にキャップ本体側に向いているため、突起やクリップ部へ流れる合成樹脂の流れが若干弱くなる。このため、クリップの外周面に微細な凹凸部を設ける場合、凹凸部がきれいに成形されない虞があった。
そして、特許文献2におけるゲート跡は、クリップ部となる突部の外装本体と対向する面に設けているため、成形時にクリップ部への樹脂の流れがよくなり該クリップ部に凹凸部を設けた場合は問題なく形成されるが、頭冠本体側への樹脂の流れが若干弱くなることで、頭冠本体側に凹凸部を設けた場合は該凹凸部がきれいに形成されない虞があった。
【先行技術文献】
【特許文献】
【0008】
特開2008-55833号公報
特開2004-351729号公報
【発明の概要】
【発明が解決しようとする課題】
【0009】
本発明は、以上の背景をもとになされたものであり、その目的とするところは、射出成形時の成形性が良く外周面の凹凸部がきれいに成形され、且つ、指が当接し難い位置にゲート跡を形成した筆記具の頭冠を提供することである。
【課題を解決するための手段】
【0010】
本発明は、合成樹脂で射出成形された
筆記具の頭冠
であって
、頭
冠本体と、該頭冠本体の一端に接続部を介して連設されたクリップ部と、を有し、前記接続部に射出成形によるゲート跡が形成され、前記頭冠本体と前記クリップ部との間に前方へ向かって凹む凹部を有し、 前記ゲート跡は、該ゲート跡が前記頭冠本体の後端と前記クリップ部の後端とを結ぶ接線より外方へ突出しないよう前記凹部内に位置し
、前
記接続部が、後方へ向かうにつれ前記頭冠本体側に近づくように傾斜する傾斜部を有し、前記傾斜部に前記ゲート跡が形成され、
筆記具の
軸筒に対して前後に摺動可能に装着され
、コ
イルスプリングにより後方へ付勢さ
れた
ことを特徴とする
筆記具の頭冠
である。
尚、本発明において頭冠本体の長手方向(中心軸線方向)においてゲート跡がある側を後方と表現し、その反対側を前方と表現する。また、頭冠本体の外周面から中心軸線に向かう方向を内方と表現し、その反対方向を外方と表現する。
(【0011】以降は省略されています)
この特許をJ-PlatPat(特許庁公式サイト)で参照する
関連特許
個人
両利き筆記具
6日前
ぺんてる株式会社
筆記具
2か月前
個人
ペンスタンド
11か月前
ぺんてる株式会社
塗布具
5か月前
ぺんてる株式会社
塗布具
5か月前
個人
ツールホルダー
3か月前
コクヨ株式会社
転写具
5か月前
コクヨ株式会社
転写具
5か月前
コクヨ株式会社
転写具
5か月前
個人
筆記具
1か月前
株式会社東山
ペン
1か月前
個人
開封具
7か月前
個人
板発条スケールコンパス。
4日前
ぺんてる株式会社
消しゴム組成物
11か月前
株式会社3S
塗布具
6か月前
ぺんてる株式会社
ボールペンチップ
1か月前
個人
電子黒板システム
9か月前
個人
携帯用消しゴムとその保持形態
10か月前
ぺんてる株式会社
ボールペンチップ
4か月前
株式会社サクラクレパス
塗布具
18日前
ぺんてる株式会社
ボールペンリフィル
4か月前
株式会社サクラクレパス
塗布具
5か月前
三菱鉛筆株式会社
筆記具
1か月前
三菱鉛筆株式会社
筆記具
6か月前
有限会社コスモ
挟着具
4日前
三菱鉛筆株式会社
筆記具
4か月前
個人
学習用定規及びプリント切断方法
5か月前
三菱鉛筆株式会社
筆記具
4か月前
三菱鉛筆株式会社
筆記具
4か月前
株式会社パイロットコーポレーション
筆記具
3か月前
株式会社パイロットコーポレーション
筆記具
6か月前
株式会社サクラクレパス
出没式筆記具
11か月前
株式会社パイロットコーポレーション
筆記具
3か月前
株式会社ウッドロード
ボールペン本体
8か月前
株式会社トンボ鉛筆
プラスチック字消し
9か月前
個人
文具
4か月前
続きを見る
他の特許を見る