TOP
|
特許
|
意匠
|
商標
特許ウォッチ
Twitter
他の特許を見る
10個以上の画像は省略されています。
公開番号
2025142749
公報種別
公開特許公報(A)
公開日
2025-10-01
出願番号
2024042276
出願日
2024-03-18
発明の名称
挟着具
出願人
有限会社コスモ
代理人
個人
,
個人
,
個人
主分類
B43K
23/00 20060101AFI20250924BHJP(筆記用または製図用の器具;机上付属具)
要約
【課題】様々な延伸部を有する対象物を簡単な操作で挟着させることができ、固定面に沿って対象物が延びるように保持させることができる挟着具を提供する。
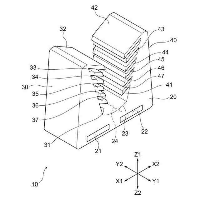
【解決手段】一対のホルダー部は、X方向において互いに対向し、挟着具のX方向における中心線に関して互いに対称な形状を有し、Z方向の上側に向かうほど互いに離隔する一対の傾斜面を有し、一対の傾斜面には、中心線に関して互いに対称となるように、複数の舌部がそれぞれ設けられ、一対の傾斜面にそれぞれ設けられた複数の舌部は、X方向に対して、同一の所定角度βを有してZ方向下側へ傾斜して延びており、基部、一対のホルダー部、及び、複数の舌部は、弾性を有する材料で一体的に成形されている。
【選択図】図1
特許請求の範囲
【請求項1】
固定物が有する平面に対して基部が着脱可能に固定され、一定の形状で延伸する延伸部を有する対象物を挟着する挟着具であって、
前記基部は、互いに直交するX方向とY方向を含む前記平面に沿って延びるように固定され、
前記基部のX方向の両端部から、前記平面に直交するZ方向に沿って延びる一対のホルダー部が設けられ、
前記一対のホルダー部は、X方向において互いに対向し、前記挟着具のX方向における中心線に関して互いに対称な形状を有し、Z方向の上側に向かうほど互いに離隔する一対の傾斜面を有し、
前記一対の傾斜面と前記基部とで囲まれる空間によって前記対象物を挟着する挟着空間が形成され、
前記一対の傾斜面には、前記中心線に関して互いに対称となるように、複数の舌部がそれぞれ設けられ、
前記一対の傾斜面にそれぞれ設けられた前記複数の舌部は、X方向に対して、同一の所定角度βを有してZ方向下側へ傾斜して延びており、
前記基部、前記一対のホルダー部、及び、前記複数の舌部は、弾性を有する材料で一体的に成形されていることを特徴とする挟着具。
続きを表示(約 940 文字)
【請求項2】
前記一対の傾斜面において、互いに対称に設けられた複数対の舌部のうち、Z方向の最上部に位置するもののX方向における間隔をWtop、それぞれが延びる長さをLtop、
前記複数対の舌部のうち、Z方向の最下部に位置するもののX方向における間隔をWlow、それぞれが延びる長さをLlow、
前記複数対の舌部のうち、Z方向の最上部と最下部の間の中間部に位置するもののそれぞれが延びる長さをLint、
挟着可能と設定する範囲のうち最も小さな外径を有する前記延伸部の外径をDmin、
挟着可能と設定する範囲のうち最も大きな外径を有する前記延伸部の外径をDmax、
前記複数対の舌部のうち、Z方向の最上部に位置するものが前記傾斜面から延出を開始する起点と、前記挟着空間における前記基部の最深部と、のZ方向における距離をHtop、
とそれぞれ設定したとき、X方向に対する、前記傾斜面の傾斜角度α及び前記複数の舌部が延びる前記所定角度β、並びに、前記弾性により、以下の式(1)~(5)が成り立つ請求項1に記載の挟着具。
Wlow<Wtop (1)
Llow<Lint<Ltop (2)
Dmin×0.5≦Wlow<Dmin×0.7 (3)
Dmax×0.5≦Wtop<Dmax×0.7 (4)
Dmax≦Htop (5)
【請求項3】
前記中間部においては前記舌部が複数対設けられ、これらの複数対の舌部は、前記最下部に近いほど、X方向における間隔が短い請求項2に記載の挟着具。
【請求項4】
前記弾性を有する材料はシリコーンゴムである請求項3に記載の挟着具。
【請求項5】
前記傾斜角度αはX方向に対して70度以上76度以下であって、前記複数の舌部が延びる前記所定角度βは25度以上35度以下である請求項4に記載の挟着具。
【請求項6】
前記傾斜角度αはX方向に対して73度であって、前記複数の舌部が延びる前記所定角度βは30度である請求項5に記載の挟着具。
発明の詳細な説明
【技術分野】
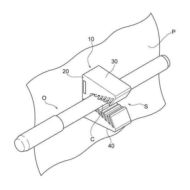
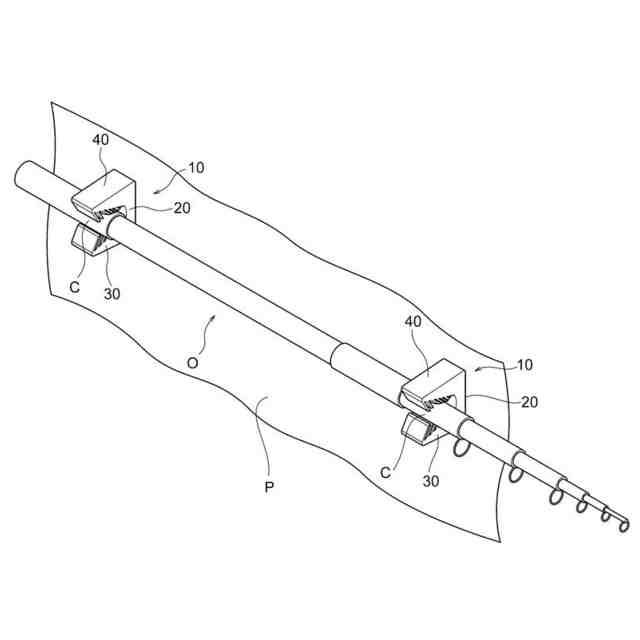
【0001】
本発明は、壁面その他の固定物上に固定される挟着具であって、一定の形状で延伸する延伸部を有する対象物、例えば、ペン、筆その他の柱状又は筒状の延伸部を有する筆記具、釣り竿、お玉杓子その他の延伸部を有する調理器具、菜箸、スプーン、ナイフその他の延伸部を有する食器、を押入、挟着することによって、固定物上に着脱可能に保持することを可能とする挟着具に関する。
続きを表示(約 2,500 文字)
【背景技術】
【0002】
特許文献1に記載の筆記具ホルダーは、筆記具端部が挿入される環状の挿通孔の内周に、挿通孔の中心に向けて起立した、弾性材によるブラシ状の突起が形成された構成を備えている。この構成により、筆記具先端の導入路として作用する空間が形成され、筆記具先端を導入すると、突起の側部がペン軸に当接し、当接した側部との摩擦によって筆記具が支持され、突起の弾性により、ペン軸の太さの異なる筆記具を保持可能としている。
【0003】
特許文献2に記載のペンクリップは、固定可能とされた台座に突設した中心線に回転体を回転可能に嵌着させ、この回転体の中心を挟む両側で径方向に形成された案内孔にそれぞれ係合脚を係合して接離移動可能とした一対のホルダーと、ホルダーの係合脚に作用してホルダーを互いに中心方向へ付勢する弾性部材とを設けることで、一対のホルダー間で筆記具を挟持するペンクリップであって、細い筆記具を挟持することができ、弾性部材が露出していないことで意匠的にも購買意欲を低下させることがない、使い勝手に優れたものを提供可能としている。
【先行技術文献】
【特許文献】
【0004】
実開平6-792号公報
特許第2926174号公報
【発明の概要】
【発明が解決しようとする課題】
【0005】
しかしながら、特許文献1に記載の筆記具ホルダーは、導入路としての空間に筆記具先端を導入することで簡便に筆記具を保持させることができるものの、壁面等に固定した筆記具ホルダーに筆記具を保持させた場合には、保持された筆記具が延びる方向とは別の方向に重力が作用するため、姿勢が傾いて保持状態が不安定になり、また、壁面から離れる方向等に筆記具が延びるため、壁面周辺を通る通行者等に対して安全上好ましくない状態となるおそれがある。
【0006】
特許文献2に記載のペンクリップは、保持させた筆記具が固定面に沿って延びる状態で保持されるため、ペンクリップを壁面等に固定して用いたとしても、保持された筆記具は壁面に沿って延びることから、壁面周辺を通る通行者等に対する危険性は軽減される。しかし、このペンクリップにおいては、台座、回転体、一対のホルダーをそれぞれ別個に製造して、台座への回転体の嵌着、及び、弾性体としてのコイルスプリングとホルダーの組み付けを行う、と言う一連の製造工程が必要であるため、複雑な製造工程、及び、コイルスプリングの組み付け等細かく煩雑な作業が必要である。さらに、金属製のコイルスプリングや台座その他の各構成部材を構成する材料を購入する必要があり、材料コストが高くなるという問題がある。
【0007】
そこで本発明は、様々な延伸部を有する対象物を簡単な操作で挟着させて保持することができる挟着具であって、固定面に沿って対象物が延びるように保持させるように構成することにより、固定面の面方向によらずに安定して対象物を保持することができるとともに、周囲の通行者等に対する危険性を低減することができ、さらに、全体として一体で成形することで製造できる構成としたことにより、複雑な製造工程や繁雑な作業を不要とし、材料コストを低減することのできる挟着具を提供することを目的とする。
【課題を解決するための手段】
【0008】
上記課題を解決するために、本発明の挟着具は、固定物が有する平面に対して基部が着脱可能に固定され、一定の形状で延伸する延伸部を有する対象物を挟着する挟着具であって、基部は、互いに直交するX方向とY方向を含む平面に沿って延びるように固定され、基部のX方向の両端部から、平面に直交するZ方向に沿って延びる一対のホルダー部が設けられ、一対のホルダー部は、X方向において互いに対向し、挟着具のX方向における中心線に関して互いに対称な形状を有し、Z方向の上側に向かうほど互いに離隔する一対の傾斜面を有し、一対の傾斜面と基部とで囲まれる空間によって対象物を挟着する挟着空間が形成され、一対の傾斜面には、中心線に関して互いに対称となるように、複数の舌部がそれぞれ設けられ、一対の傾斜面にそれぞれ設けられた複数の舌部は、X方向に対して、同一の所定角度βを有してZ方向下側へ傾斜して延びており、基部、一対のホルダー部、及び、複数の舌部は、弾性を有する材料で一体的に成形されていることを特徴としている。
【0009】
本発明の挟着具では、一対の傾斜面において、互いに対称に設けられた複数対の舌部のうち、Z方向の最上部に位置するもののX方向における間隔をWtop、それぞれが延びる長さをLtop、複数対の舌部のうち、Z方向の最下部に位置するもののX方向における間隔をWlow、それぞれが延びる長さをLlow、複数対の舌部のうち、Z方向の最上部と最下部の間の中間部に位置するもののそれぞれが延びる長さをLint、挟着可能と設定する範囲のうち最も小さな外径を有する延伸部の外径をDmin、挟着可能と設定する範囲のうち最も大きな外径を有する延伸部の外径をDmax、複数対の舌部のうち、Z方向の最上部に位置するものが傾斜面から延出を開始する起点と、挟着空間における基部の最深部と、のZ方向における距離をHtop、とそれぞれ設定したとき、X方向に対する、傾斜面の傾斜角度α及び複数の舌部が延びる所定角度β、並びに、弾性により、以下の式(1)~(5)が成り立つことが好ましい。
Wlow<Wtop (1)
Llow<Lint<Ltop (2)
Dmin×0.5≦Wlow<Dmin×0.7 (3)
Dmax×0.5≦Wtop<Dmax×0.7 (4)
Dmax≦Htop (5)
【0010】
本発明の挟着具においては、上記中間部においては舌部が複数対設けられ、これらの複数対の舌部は、最下部に近いほど、X方向における間隔が短いことが好ましい。
(【0011】以降は省略されています)
この特許をJ-PlatPat(特許庁公式サイト)で参照する
関連特許
有限会社コスモ
挟着具
4日前
有限会社コスモフレッシュ
口腔ケア組成物
12か月前
個人
両利き筆記具
6日前
ぺんてる株式会社
筆記具
2か月前
個人
ペンスタンド
11か月前
ぺんてる株式会社
塗布具
5か月前
ぺんてる株式会社
塗布具
5か月前
個人
ツールホルダー
3か月前
コクヨ株式会社
転写具
5か月前
コクヨ株式会社
転写具
5か月前
コクヨ株式会社
転写具
5か月前
個人
筆記具
1か月前
株式会社東山
ペン
1か月前
個人
開封具
7か月前
個人
板発条スケールコンパス。
4日前
ぺんてる株式会社
消しゴム組成物
11か月前
株式会社3S
塗布具
6か月前
ぺんてる株式会社
ボールペンチップ
1か月前
個人
電子黒板システム
9か月前
個人
携帯用消しゴムとその保持形態
10か月前
ぺんてる株式会社
ボールペンチップ
4か月前
株式会社サクラクレパス
塗布具
18日前
ぺんてる株式会社
ボールペンリフィル
4か月前
株式会社サクラクレパス
塗布具
5か月前
三菱鉛筆株式会社
筆記具
1か月前
三菱鉛筆株式会社
筆記具
6か月前
有限会社コスモ
挟着具
4日前
三菱鉛筆株式会社
筆記具
4か月前
個人
学習用定規及びプリント切断方法
5か月前
三菱鉛筆株式会社
筆記具
4か月前
三菱鉛筆株式会社
筆記具
4か月前
株式会社パイロットコーポレーション
筆記具
3か月前
株式会社パイロットコーポレーション
筆記具
6か月前
株式会社サクラクレパス
出没式筆記具
11か月前
株式会社パイロットコーポレーション
筆記具
3か月前
株式会社ウッドロード
ボールペン本体
8か月前
続きを見る
他の特許を見る