TOP
|
特許
|
意匠
|
商標
特許ウォッチ
Twitter
他の特許を見る
公開番号
2025128479
公報種別
公開特許公報(A)
公開日
2025-09-03
出願番号
2024025142
出願日
2024-02-22
発明の名称
駆動装置
出願人
株式会社デンソー
代理人
弁理士法人服部国際特許事務所
主分類
H02K
5/10 20060101AFI20250827BHJP(電力の発電,変換,配電)
要約
【課題】耐食性を向上可能な駆動装置を提供する。
【解決手段】駆動装置1は、モータ10と、モータケース21と、フレーム部材25と、を備える。モータ10は、ステータ11、ステータ11に巻回されるモータ巻線12、モータ巻線12への通電によりステータ11に対して相対回転可能に設けられるロータ13、および、ロータ13と一体に回転するシャフト15を有する。非金属材料のモータケース21は、筒部211を有し、ステータ11を保持している。非金属材料のフレーム部材25は、筒部211の軸方向の一方側に設けられている。フレーム部材25は、モータケース21の軸方向側の端面212と当接し、当接面にて溶着されている。
【選択図】 図1
特許請求の範囲
【請求項1】
ステータ(11)、前記ステータに巻回されるモータ巻線(12)、前記モータ巻線への通電により前記ステータに対して相対回転可能に設けられるロータ(13)、および、前記ロータと一体に回転するシャフト(15)を有するモータ(10)と、
筒部(211)を有し、前記ステータを保持する非金属材料のモータケース(21、22)と、
前記筒部の軸方向の一方側に設けられている非金属材料のフレーム部材(25、26)と、
を備え、
前記フレーム部材は、前記モータケースの軸方向側の端面(212、226)と当接し、当接面にて溶着されている駆動装置。
続きを表示(約 560 文字)
【請求項2】
前記フレーム部材は、レーザ透過可能な材料で形成されており、
前記モータケースは、レーザにより溶融する材料で形成されている請求項1に記載の駆動装置。
【請求項3】
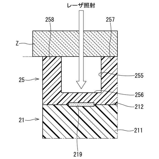
前記フレーム部材は、前記モータケースと反対側に開口する環状の溝部(255、267、268)を有し、
前記モータケースと前記フレーム部材とが溶着している溶着部(219)は、前記溝部を軸方向に投影した投影領域に形成されている請求項1または2に記載の駆動装置。
【請求項4】
前記溝部の両側に形成される内周壁(256)および外周壁(257)の端面は、少なくとも所定幅の範囲で同じ高さに形成されている請求項3に記載の駆動装置。
【請求項5】
前記モータ巻線の通電制御に係る電子部品が実装される基板(31)、前記基板と外部との接続に用いられるコネクタ部(41~43)、および、前記基板を内部に収容するカバー(51、52)を有し、前記フレーム部材の前記モータケースと反対側に設けられる制御ユニット(30)をさらに備え、
前記溝部の少なくとも一部には、前記コネクタ部または前記カバーが挿入され、接着部材(291、293、294)で固定されている請求項3に記載の駆動装置。
発明の詳細な説明
【技術分野】
【0001】
本発明は、駆動装置に関する。
続きを表示(約 1,400 文字)
【背景技術】
【0002】
従来、モータ部および制御部を備える駆動装置が知られている。例えば特許文献1では、モータ部を収容するモータケースと、制御部を覆う制御部カバーとが一体に設けられている。
【先行技術文献】
【特許文献】
【0003】
特開2016-72996号公報
【発明の概要】
【発明が解決しようとする課題】
【0004】
特許文献1では、モータケース、および、モータケースの筒部に嵌合する蓋体は、金属で形成されており、モータケースと制御部カバーとが接着剤で固定されることでシールされている。金属で形成されたモータケースは、被水や湿度等により腐食する虞がある。
【0005】
本発明は、上述の課題に鑑みてなされたものであり、その目的は、耐食性を向上可能な駆動装置を提供することにある。
【課題を解決するための手段】
【0006】
本発明の駆動装置は、モータ(10)と、モータケース(21、22)と、フレーム部材(25、26)と、を備える。モータは、ステータ(11)、ステータに巻回されるモータ巻線(12)、モータ巻線への通電によりステータに対して相対回転可能に設けられるロータ(13)、および、ロータと一体に回転するシャフト(15)を有する。
【0007】
非金属材料のモータケースは、筒部(211)を有し、ステータを保持する。非金属材料のフレーム部材は、筒部の軸方向の一方側に設けられている。フレーム部材は、モータケースの軸方向側の端面(212、226)と当接し、当接面にて溶着されている。これにより耐食性を向上可能である。
【図面の簡単な説明】
【0008】
第1実施形態による電動パワーステアリング装置を示す概略構成図である。
第1実施形態による駆動装置の断面図である。
第1実施形態において、モータケースにフレーム部材を組み付けた状態を示す平面図である。
第1実施形態において、モータケースにフレーム部材を組み付けた状態を示す平面図である。
第1実施形態によるモータケースとフレーム部材との溶着を説明する説明図である。
第2実施形態による駆動装置の断面図である。
第3実施形態による駆動装置の断面図である。
【発明を実施するための形態】
【0009】
以下、本発明による駆動装置を図面に基づいて説明する。以下、複数の実施形態において、実質的に同一の構成には同一の符号を付して説明を省略する。
【0010】
(第1実施形態)
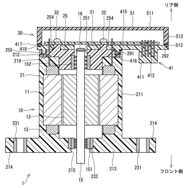
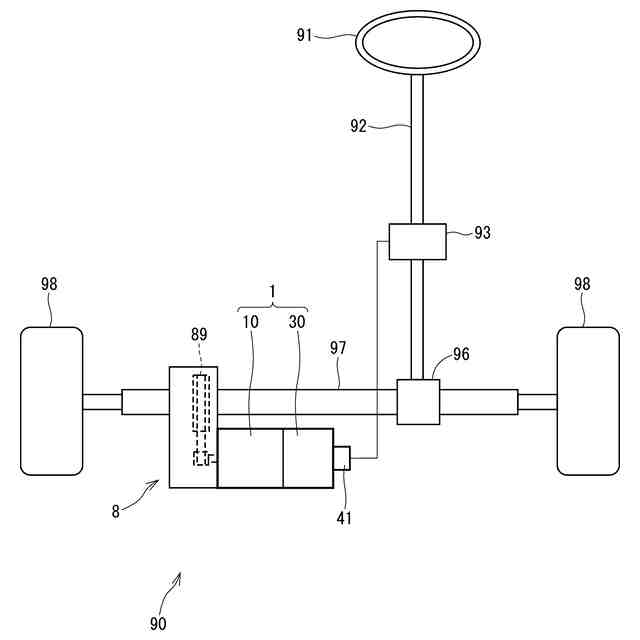
第1実施形態を図1~図5に示す。駆動装置1は、モータ10と、制御ユニットとしてのECU30と、を備え、車両のステアリング操作を補助するための操舵装置である電動パワーステアリング装置8に適用される。図1は、電動パワーステアリング装置8を備えるステアリングシステム90の全体構成を示すものである。ステアリングシステム90は、操舵部材であるステアリングホイール91、ステアリングシャフト92、ピニオンギア96、ラック軸97、車輪98、および、電動パワーステアリング装置8等を備える。
(【0011】以降は省略されています)
この特許をJ-PlatPat(特許庁公式サイト)で参照する
関連特許
個人
単極モータ
7日前
株式会社アイシン
ロータ
11日前
株式会社アイシン
ロータ
7日前
西部電機株式会社
充電装置
14日前
日本精機株式会社
サージ保護回路
14日前
西部電機株式会社
充電装置
14日前
トヨタ自動車株式会社
回転子
18日前
トヨタ自動車株式会社
固定子
12日前
個人
連続ガウス加速器形磁力増幅装置
14日前
トヨタ自動車株式会社
製造装置
12日前
株式会社デンソー
回転機
5日前
東京瓦斯株式会社
通信装置
13日前
株式会社ダイヘン
充電装置
11日前
株式会社ミツバ
ブラシレスモータ
13日前
株式会社ダイヘン
充電装置
11日前
株式会社ダイヘン
充電装置
11日前
株式会社アイシン
ステータ
11日前
株式会社アイシン
ステータ
11日前
株式会社アイシン
ステータ
11日前
株式会社アイシン
ステータ
11日前
個人
太陽エネルギー収集システム
12日前
カヤバ株式会社
筒型リニアモータ
13日前
株式会社ダイヘン
充電装置
11日前
株式会社kaisei
発電システム
7日前
トヨタ自動車株式会社
被膜形成装置
12日前
日産自動車株式会社
ステータ
19日前
ニチコン株式会社
AC入力検出回路
18日前
株式会社ダイヘン
電力システム
14日前
株式会社ミツバ
回転電機
4日前
東京瓦斯株式会社
給電システム
13日前
株式会社ミツバ
回転電機
11日前
株式会社デンソー
電力変換装置
6日前
株式会社デンソー
電力変換装置
18日前
ASTI株式会社
電力変換装置
12日前
株式会社大林組
可搬式充電設備
19日前
株式会社ダイヘン
電力変換装置
14日前
続きを見る
他の特許を見る