TOP
|
特許
|
意匠
|
商標
特許ウォッチ
Twitter
他の特許を見る
公開番号
2025145246
公報種別
公開特許公報(A)
公開日
2025-10-03
出願番号
2024045329
出願日
2024-03-21
発明の名称
電力変換装置
出願人
株式会社デンソー
代理人
個人
,
個人
主分類
H02M
7/48 20070101AFI20250926BHJP(電力の発電,変換,配電)
要約
【課題】スイッチング素子だけではない電力変換装置の構成部品の温度を調節することができる熱交換器を備えた電力変換装置を提供する。
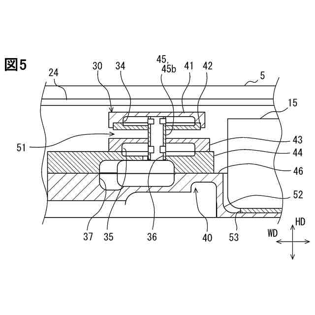
【解決手段】電力変換装置は、ケース5と、電力変換回路に含まれるスイッチング素子を提供する板状の半導体モジュール18と、平滑コンデンサ15と、熱交換器30とを備える。熱交換器30は、半導体モジュール18の厚み方向における両側に並列的に配置された第1通路34、および、第2通路35を含む。熱交換器30は、入口から熱交換媒体を受け入れ、半導体モジュール18の両側に沿って熱交換媒体を流した後に、出口から熱交換媒体を排出する。入口31と平滑コンデンサ15との間の入口距離L40aは、出口38と平滑コンデンサ15との間の出口距離L40bより短く設定されている。
【選択図】図3
特許請求の範囲
【請求項1】
電力変換回路を収容するケース(5)と、
前記電力変換回路に含まれるスイッチング素子を提供する板状の半導体モジュール(18)と、
前記電力変換回路における電力を平滑化する平滑コンデンサ(15)と、
前記半導体モジュールの熱を熱交換媒体に放熱する熱交換器(30)とを備え、
前記熱交換器は、
前記ケースの外側から内側に前記熱交換媒体を導入する入口(31)、前記ケースの内側から外側に前記熱交換媒体を導出する出口(38)、前記半導体モジュールの厚み方向における両側に並列的に配置された第1通路(34)、および、第2通路(35)を含み、前記入口から前記熱交換媒体を受け入れ、前記半導体モジュールの両側に沿って前記熱交換媒体を流した後に、前記出口から前記熱交換媒体を排出する熱交換通路を区画する通路区画部材(40)を備え、
前記入口と前記平滑コンデンサとの間の入口距離(L40a)は、前記出口と前記平滑コンデンサとの間の出口距離(L40b)より短く設定されている電力変換装置。
続きを表示(約 1,400 文字)
【請求項2】
前記熱交換通路は、前記第1通路、および、前記第2通路の下流において前記熱交換媒体を合流させ、前記出口に排出する第3通路(37)を含む請求項1に記載の電力変換装置。
【請求項3】
前記第3通路は、前記第1通路、および、前記第2通路の積層方向(HD)に対して交差する幅方向(WD)に関して、前記第1通路、および、前記第2通路の積層範囲より外側に突出し、前記積層範囲の外側を経由して、前記出口に到達するように配置されている請求項2に記載の電力変換装置。
【請求項4】
前記通路区画部材は、
前記半導体モジュールの一方において積層的に配置され、互いの間に前記第1通路を区画し形成する第1部材(41)、および、第2部材(42)と、
前記半導体モジュールの他方において積層的に配置され、互いの間に前記第2通路を区画し形成する第3部材(43)、および、第4部材(44)と、
前記第1通路と前記第2通路との前記入口側において、前記第1通路と前記第2通路とを流体的に連結する入口側連結部材(45a)と、
前記第1通路と前記第2通路との前記出口側において、前記第1通路と前記第2通路とを流体的に連結する出口側連結部材(45b)と、
前記ケースの壁であって、前記第4部材と積層的に配置されており、互いの間に前記第3通路を区画し形成するケース壁(46)とを備える請求項2または請求項3に記載の電力変換装置。
【請求項5】
前記ケース壁と前記第4部材(44)とは、前記入口に連通しており、前記入口から前記熱交換媒体を受け入れ、前記入口側連結部材(45a)に流体的に連結された入口ギャラリ(32)を区画し形成する請求項4に記載の電力変換装置。
【請求項6】
前記ケース壁は、前記第1通路、および、前記第2通路の積層方向(HD)の一方へ向けて凹状の凹部(52)を有し、
前記平滑コンデンサは、前記凹部に配置されることにより、前記積層方向の一方へ偏って配置されており、
前記平滑コンデンサと前記ケース壁とは、前記凹部において、熱的に結合されている請求項4に記載の電力変換装置。
【請求項7】
前記熱交換媒体の流れ方向における流路断面積に関して、前記第1通路の第1流路断面積(A34)と、前記第2通路の第2流路断面積(A35)と、前記第3通路の第3流路断面積(A37)とは、互いに異なっている請求項2または請求項3に記載の電力変換装置。
【請求項8】
前記第1流路断面積(A34)は前記第3流路断面積(A37)より小さく設定されており、前記第2流路断面積(A35)は前記第3流路断面積(A37)より小さく設定されている請求項7に記載の電力変換装置。
【請求項9】
前記熱交換器は、
前記第1通路の内部に配置され、前記熱交換媒体と前記通路区画部材との間の熱交換を促進する第1熱交換部材(47)と、
前記第2通路の内部に配置され、前記熱交換媒体と前記通路区画部材との間の熱交換を促進する第2熱交換部材(48)とを有する請求項2または請求項3に記載の電力変換装置。
【請求項10】
さらに、前記電力変換回路を構成する他の回路部品(21)であって、
前記第4部材を経由して前記第3通路の前記熱交換媒体に放熱するように配置された他の回路部品を備える請求項4に記載の電力変換装置。
発明の詳細な説明
【技術分野】
【0001】
この明細書における開示は、電力変換装置に関する。
続きを表示(約 1,700 文字)
【背景技術】
【0002】
特許文献1は、電力変換装置を開示する。電力変換装置は、複数のスイッチング素子と、それらを冷却する冷却器とを備える。電力変換装置の冷却器には、過大ではなく、過小でもない適切な能力を有することが求められる。先行技術文献の記載内容は、この明細書における技術的要素の説明として、参照により援用される。
【先行技術文献】
【特許文献】
【0003】
特許第6806276号公報
【発明の概要】
【発明が解決しようとする課題】
【0004】
上述の観点において、または言及されていない他の観点において、電力変換装置の熱交換器にはさらなる改良が求められている。
【0005】
ここに開示されるひとつの目的は、スイッチング素子だけではない電力変換装置の構成部品の温度を調節することができる熱交換器を備えた電力変換装置を提供することである。
【課題を解決するための手段】
【0006】
ここに開示された電力変換装置は、電力変換回路を収容するケース(5)と、電力変換回路に含まれるスイッチング素子を提供する板状の半導体モジュール(18)と、電力変換回路における電力を平滑化する平滑コンデンサ(15)と、半導体モジュールの熱を熱交換媒体に放熱する熱交換器(30)とを備え、熱交換器は、ケースの外側から内側に熱交換媒体を導入する入口(31)、ケースの内側から外側に熱交換媒体を導出する出口(38)、半導体モジュールの厚み方向における両側に並列的に配置された第1通路(34)、および、第2通路(35)を含み、入口から熱交換媒体を受け入れ、半導体モジュールの両側に沿って熱交換媒体を流した後に、出口から熱交換媒体を排出する熱交換通路を区画する通路区画部材(40)を備え、入口と平滑コンデンサとの間の入口距離(L40a)は、出口と平滑コンデンサとの間の出口距離(L40b)より短く設定されている。
【0007】
開示される電力変換装置によると、半導体モジュールの熱が熱交換媒体に放熱される。半導体モジュールとの熱交換に起因して、熱交換媒体の温度が上昇する。この結果、出口の付近における熱交換媒体の温度は、入口の付近における熱交換媒体の温度より高い。入口と平滑コンデンサとの間の入口距離は、出口と平滑コンデンサとの間の出口距離より短く設定されている。このため、平滑コンデンサは、入口の付近における熱交換媒体へ放熱することができる。入口の付近における熱交換媒体は、比較的低温であるから、高い放熱効果を期待できる。
【0008】
この明細書において開示された複数の形態は、それぞれの目的を達成するために、互いに異なる技術的手段を採用する。請求の範囲およびこの項に記載した括弧内の符号は、後述する実施形態の部分との対応関係を例示的に示すものであって、技術的範囲を限定することを意図するものではない。この明細書に開示される目的、特徴、および効果は、後続の詳細な説明、および添付の図面を参照することによってより明確になる。
【図面の簡単な説明】
【0009】
第1実施形態に係る電力変換装置の回路図である。
電力変換装置の平面図である。
図2のIII-III線における断面図である。
図2のIV-IV線における断面図である。
図2のV-V線における断面図である。
熱交換部材の例を示す断面図である。
熱交換部材の例を示す断面図である。
【発明を実施するための形態】
【0010】
複数の実施形態が、図面を参照しながら説明される。複数の実施形態において、機能的におよび/または構造的に、対応する部分および/または関連付けられる部分には、同一の参照符号、または百以上の位が異なる参照符号が付される場合がある。対応する部分および/または関連付けられる部分については、他の実施形態の説明を参照することができる。
(【0011】以降は省略されています)
この特許をJ-PlatPat(特許庁公式サイト)で参照する
関連特許
株式会社デンソー
車載器
7日前
株式会社デンソー
ねじ部材
7日前
株式会社デンソー
電子装置
1日前
株式会社デンソー
反力装置
1日前
株式会社デンソー
電子装置
2日前
株式会社デンソー
ステータ
7日前
株式会社デンソー
ステータ
7日前
株式会社デンソー
電子装置
11日前
株式会社デンソーエレクトロニクス
発音装置
11日前
株式会社デンソー
農業用装置
3日前
株式会社デンソー
レーダ装置
今日
株式会社デンソー
半導体装置
7日前
株式会社デンソーテン
インバータ
1日前
株式会社デンソー
電子制御装置
11日前
株式会社デンソー
衝突予測装置
2日前
株式会社デンソー
運転支援装置
2日前
株式会社デンソー
電波吸収装置
11日前
株式会社デンソー
衝突予測装置
2日前
株式会社デンソー
電圧検出回路
3日前
株式会社デンソーテン
車載映像装置
7日前
株式会社デンソー
電子制御装置
7日前
株式会社デンソー
電力変換装置
7日前
株式会社デンソーエアクール
換気空調装置
8日前
株式会社デンソー
車載システム
1日前
株式会社デンソー
電力変換装置
3日前
株式会社デンソー
車載システム
1日前
株式会社デンソー
運航管理装置
今日
株式会社デンソー
車両制御装置
1日前
株式会社デンソー
画像符号化装置
9日前
株式会社デンソー
圧着ヘッド装置
7日前
株式会社デンソー
移動体制御装置
8日前
株式会社デンソー
自己位置推定装置
7日前
株式会社デンソートリム
エンジン制御装置
7日前
株式会社デンソー
セル制御システム
今日
株式会社デンソー
フェード検知装置
1日前
株式会社デンソーウェーブ
通行管理システム
1日前
続きを見る
他の特許を見る