TOP
|
特許
|
意匠
|
商標
特許ウォッチ
Twitter
他の特許を見る
公開番号
2025153702
公報種別
公開特許公報(A)
公開日
2025-10-10
出願番号
2024056313
出願日
2024-03-29
発明の名称
ステータ
出願人
株式会社アイシン
代理人
個人
,
個人
主分類
H02K
3/04 20060101AFI20251002BHJP(電力の発電,変換,配電)
要約
【課題】1相に複数のコイルを設ける場合に、コイル全体の径方向長さが大きくなるのを抑制しつつ、1周目のコイルと2周目のコイルとを接続することが可能なステータを提供する。
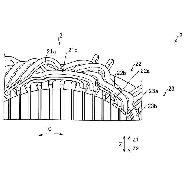
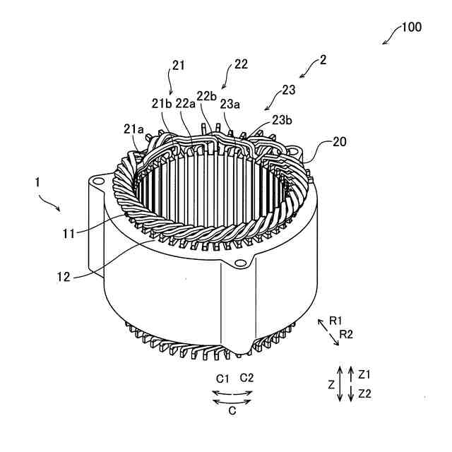
【解決手段】このステータ100は、ステータコア1と、ステータコア1に挿通され、平角線により構成されるとともにU字形状を有する複数のセグメントコイル20同士が接続されて構成されるコイル2と、を備え、コイル2は、同一の相に2セット設けられ、2セットのコイルの各々は、ステータコア1に2周巻回されるとともに、1周目と2周目とを接続する渡り部21aを含み、同一の相の2セットのコイル2の渡り部21a同士は、軸方向から見て径方向の位置が重なるように配置されている。
【選択図】図2
特許請求の範囲
【請求項1】
ステータコアと、
前記ステータコアに挿通され、平角線により構成されるとともにU字形状を有する複数のセグメントコイル同士が接続されて構成されるコイルと、を備え、
前記コイルは、同一の相に2セット設けられ、
2セットの前記コイルの各々は、前記ステータコアに2周巻回されるとともに、1周目と2周目とを接続する渡り部を含み、
同一の相の前記2セットの前記コイルの前記渡り部同士は、軸方向から見て径方向の位置が重なるように配置されている、ステータ。
続きを表示(約 320 文字)
【請求項2】
前記2セットの前記コイルは、複数の相ごとに設けられ、
異なる相の前記コイルの前記渡り部は、周方向にずらして配置されている、請求項1に記載のステータ。
【請求項3】
前記2セットの前記コイルは、三相を構成する第1相と第2相と第3相との各々に対応して設けられ、
前記第1相の前記渡り部と、前記第2相の前記渡り部と、前記第3相の前記渡り部とは、周方向に沿ってずらして配置され、かつ、径方向から見て軸方向の位置が互いに重なるように配置されている、請求項2に記載のステータ。
【請求項4】
前記渡り部は、軸方向から見て径方向の内側に突出するように配置されている、請求項1に記載のステータ。
発明の詳細な説明
【技術分野】
【0001】
本発明は、ステータに関し、コイルとステータコアとを備えるステータに関する。
続きを表示(約 1,500 文字)
【背景技術】
【0002】
従来、コイルとステータコアとを備えるステータが知られている(たとえば、特許文献1)。
【0003】
上記特許文献1には、コイルと、ステータコアとを備えるステータが開示されている。特許文献1では、コイルは、U相コイルと、V相コイルと、W相コイルとを含み、各相毎に4つのコイルが設けられている。また、各相のコイル部は、4つの動力線接続端部と4つの中性点接続端部とを有している。
【先行技術文献】
【特許文献】
【0004】
特開2019-140708号公報
【発明の概要】
【発明が解決しようとする課題】
【0005】
上記特許文献1に開示されていないが、従来、各相毎ステータにコイルを2周巻回する場合がある。この場合、1周目としてステータに動力線接続端部を有するコイルを巻回するとともに、2周目としてステータに中性点接続端部を有するコイルを巻回して、1周目のコイルと2周目のコイルとを接続する。また、1周目のコイルと2周目のコイルとが軸方向に重ならないように径方向に沿って並べられており、1周目のコイルと2周目のコイルとを接続する接続部は径方向に沿って配置される場合がある。しかしながら、このように1相に複数のコイル(1周目のコイルおよび2周目のコイル)を設ける場合、コイルの数に合わせて複数の接続部が径方向に沿って配置され、コイル全体の径方向長さが大きくなるという問題点がある。
【0006】
この発明は、上記のような課題を解決するためになされたものであり、この発明の1つの目的は、1相に複数のコイルを設ける場合に、コイル全体の径方向長さが大きくなるのを抑制しつつ、1周目のコイルと2周目のコイルとを接続することが可能なステータを提供することである。
【課題を解決するための手段】
【0007】
上記目的を達成するために、この発明の一の局面におけるステータは、ステータコアと、ステータコアに挿通され、平角線により構成されるとともにU字形状を有する複数のセグメントコイル同士が接続されて構成されるコイルと、を備え、コイルは、同一の相に2セット設けられ、2セットのコイルの各々は、ステータコアに2周巻回されるとともに、1周目と2周目とを接続する渡り部を含み、同一の相の2セットのコイルの渡り部同士は、軸方向から見て径方向の位置が重なるように配置されている。
【0008】
この発明の一の局面によるステータでは、上記のように、2セットのコイルの各々は、ステータコアに2周巻回されるとともに、1周目と2周目とを接続する渡り部を含み、同一の相の2セットのコイルの渡り部同士は、軸方向から見て径方向の位置が重なるように配置されている。これにより、2セットのコイルの渡り部は、径方向の位置が重なっているため、径方向に沿って2つの渡り部を配置する場合と比べて、径方向の大きさを抑制することができる。この結果、1相に複数のコイルを設ける場合に、コイル全体の径方向長さが大きくなるのを抑制しつつ、1周目のコイルと2周目のコイルとを接続することができる。
【0009】
上記一の局面によるステータにおいて、好ましくは、2セットのコイルは、複数の相ごとに設けられ、異なる相のコイルの渡り部は、周方向にずらして配置されている。
【0010】
このように構成すれば、異なる相の渡り部を周方向にずらして配置することにより、異なる相の渡り部の径方向の位置を揃えることができるため、径方向長さが大きくなることをより抑制することができる。
(【0011】以降は省略されています)
この特許をJ-PlatPat(特許庁公式サイト)で参照する
関連特許
株式会社アイシン
ロータ
1日前
株式会社アイシン
ロータ
3日前
株式会社アイシン
空気袋
12日前
株式会社アイシン
回転電機
8日前
株式会社アイシン
駆動装置
10日前
株式会社アイシン
制御装置
2日前
株式会社アイシン
制御装置
2日前
株式会社アイシン
制御装置
2日前
株式会社アイシン
駆動装置
2日前
株式会社アイシン
車体構造
8日前
株式会社アイシン
ステータ
1日前
株式会社アイシン
制御装置
8日前
株式会社アイシン
検知装置
2日前
株式会社アイシン
保護装置
2日前
株式会社アイシン
回転電機
4日前
株式会社アイシン
回転電機
4日前
株式会社アイシン
ステータ
1日前
株式会社アイシン
電子機器
2日前
株式会社アイシン
ステータ
1日前
株式会社アイシン
発電装置
1か月前
株式会社アイシン
ステータ
1日前
株式会社アイシン
鋳ぐるみ品
12日前
株式会社アイシン
電動ポンプ
1か月前
株式会社アイシン
温度調節器
8日前
株式会社アイシン
自律移動体
1か月前
株式会社アイシン
レーダ装置
2日前
株式会社アイシン
コンデンサ
1か月前
株式会社アイシン
温度調節器
22日前
株式会社アイシン
温度調節器
12日前
株式会社アイシン
温度調節器
22日前
株式会社アイシン
ポンプケース
15日前
株式会社アイシン
超音波センサ
3日前
株式会社アイシン
超音波センサ
3日前
株式会社アイシン
センサ固定具
3日前
株式会社アイシン
物体検出装置
1か月前
株式会社アイシン
乗員検知装置
23日前
続きを見る
他の特許を見る