TOP
|
特許
|
意匠
|
商標
特許ウォッチ
Twitter
他の特許を見る
公開番号
2025150028
公報種別
公開特許公報(A)
公開日
2025-10-09
出願番号
2024050680
出願日
2024-03-27
発明の名称
電力変換装置
出願人
ASTI株式会社
代理人
個人
,
個人
主分類
H02M
7/48 20070101AFI20251002BHJP(電力の発電,変換,配電)
要約
【課題】基板とバスバーをヒートシンクに強固に固定することができ、それによって、バスバーと導電パターンとの密着度を高めることができるバスバーを使用して放熱する構造において、バスバーと基板のパターンとの密着度を高めることができる電力変換装置を提供すること。
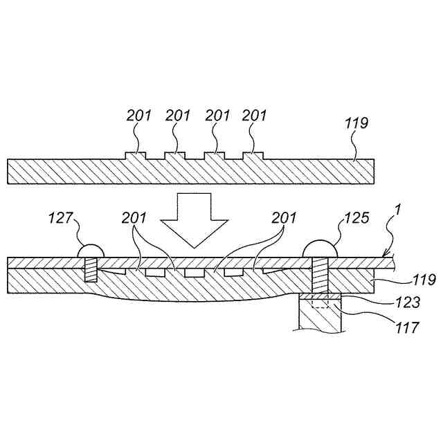
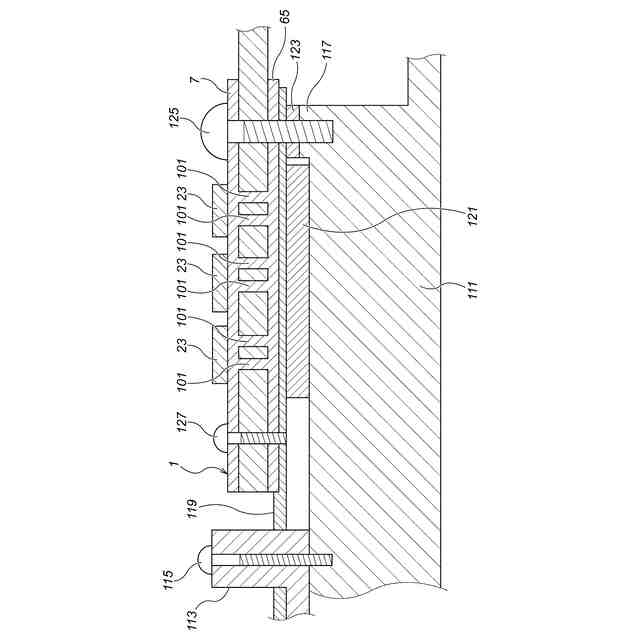
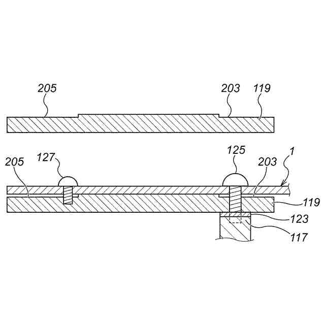
【解決手段】表面に素子23と第1導電パターン7を備え、裏面に上記第1導電パターンと電気的に接続される第2導電パターン65を備えた基板1があり、上記基板の裏面側に上記第2導電パターンに当接した状態でバスバー119を設置し、上記バスバーの反基板側に絶縁性熱伝導シート121を設置し、上記絶縁性熱伝導シートの反基板側にヒートシンク111を設置し、上記基板と上記バスバーを絶縁性固定ネジ125によって上記ヒートシンクに固定するようにしたもの。
【選択図】図3
特許請求の範囲
【請求項1】
表面に素子と第1導電パターンを備え裏面に上記第1導電パターンと電気的に接続される第2導電パターンを備えた基板があり、
上記基板の裏面側にバスバーを設置し、
上記バスバーの反基板側に絶縁性熱伝導シートを設置し、
上記絶縁性熱伝導シートの反基板側にヒートシンクを設置し、
上記基板と上記バスバーを絶縁性固定ネジによって上記ヒートシンクに固定するようにしたことを特徴とする電力変換装置。
続きを表示(約 1,000 文字)
【請求項2】
請求項1記載の電力変換装置において、
上記基板は上記絶縁性固定ネジによる固定位置とは別の位置において導電性固定ネジによって上記バスバーに固定されていることを特徴とする電力変換装置。
【請求項3】
請求項1記載の電力変換装置において、
上記ヒートシンクには外部端子が固定ネジによって固定されていて、
上記パスバーは上記外部端子に予め一体成型されていることを特徴とする電力変換装置。
【請求項4】
請求項1記載の電力変換装置において、
上記絶縁性固定ネジによる固定位置において上記ヒートシンクに台座が突設されていて、
上記バスバーと上記台座の間には絶縁性シートが介挿されていることを特徴とする電力変換装置。
【請求項5】
請求項4記載の電力変換装置において、
上記絶縁性シートは上記絶縁性熱伝導シートに対してより高硬度であることを特徴とする電力変換装置。
【請求項6】
請求項1記載の電力変換装置において、
第1導電パターンと上記第2導電パターンはスルーホールビアを介して電気的に接続されていることを特徴とする電力変換装置。
【請求項7】
請求項1記載の電力変換装置において、
上記素子は上記第1導電パターンを介して電気的に接続される上流側スイッチング素子と下流側スイッチング素子であることを特徴とする電力変換装置。
【請求項8】
請求項7記載の電力変換装置において、
上記第1導電パターンと上記第2導電パターンと上記バスバーは長尺状に平行に設置されていて、
上記上流側スイッチング素子と下流側スイッチング素子は上記第1導電パターンの長手方向に沿って複数対設置されていることを特徴とする電力変換装置。
【請求項9】
請求項2記載の電力変換装置において、
上記絶縁性固定ネジによる締結位置と上記導電性固定ネジによる締結位置の間の上記バスバーには凸部が突設されていることを特徴とする電力変換装置。
【請求項10】
請求項2記載の電力変換装置において、
上記絶縁性固定ネジによる締結位置と上記導電性固定ネジによる締結位置の上記バスバーには凹部が形成されていることを特徴とする電力変換装置。
発明の詳細な説明
【技術分野】
【0001】
本発明は、電力変換装置に係り、特に、基板に設けられた導電パターン、バスバー、ヒートシンクを介して放熱する構造を採用するものにおいて、基板とバスバーをヒートシンクに強固に固定することができ、それによって、バスバーと導電パターンとの密着度を高めることができるように工夫したものに関する。
続きを表示(約 1,200 文字)
【背景技術】
【0002】
例えば、電力変換装置においては、放熱を考慮してパワー半導体をアルミ基板或いはセラミック基板に実装している。しかしながら、この種のアルミ基板或いはセラミック基板は高価であった。
【0003】
そこで、安価なプリント基板を用いてバスバーを使用した放熱構造を採用することが提案されている。
この種の構造を採用するものとして、例えば、特許文献1、特許文献2がある。
【0004】
特許文献1に記載された発明の場合には、回路基板があり、この回路基板の表面には半導体スイッチが実装されている。回路基板の裏面側にはバスバーが設置されていて、このバスバーの一部(ピン)が回路基板のドリル孔に圧入されている。上記バスバーの下には熱伝導性絶縁箔を介してヒートシンクが設置されている。
【0005】
半導体スイッチで発生した熱はバスバーのピン、バスバー、熱伝導性絶縁箔、ヒートシンクを介して放出される。
【0006】
特許文献2に記載された発明の場合には、制御回路基板の表面にFETが実装されている。上記制御回路基板の下にはバスバー構成板が設置されていて、このバスバー構成板にはバスバーが設置されている。上記バスバー構成板の下には放熱部材が設置されている。
【0007】
上記FETにおいて発生した熱はバスバー構成板、バスバー、放熱部材を介して放出される。
【先行技術文献】
【特許文献】
【0008】
特開2009-117805号公報
特開2004-031416号公報
【発明の概要】
【発明が解決しようとする課題】
【0009】
上記従来の構成に寄ると次のような問題があった。
まず、基板とバスバーの取付はバスバーに設けられている熱伝導素子と基板がハンダ付けされるか或いは圧接されているだけであり、機械的強度が低いという問題があった。
又、発熱が繰り返されることによる熱衝撃によってハンダ付け部の熱疲労が懸念されるとともに、膨張・収縮による強度劣化が懸念されていた。
又、バスバーは熱伝導性絶縁フィルムを介してヒートシンクに接着されているだけであり、機械的強度が低いという問題があった。
【0010】
本発明はこのような点に基づいてなされたものでその目的とするところは、基板に設けられた導電パターン、バスバー、ヒートシンクを介して放熱する構造を採用するものにおいて、基板とバスバーをヒートシンクに強固に固定することができ、それによって、バスバーと導電パターンとの密着度を高めることができる電力変換装置を提供することにある。
【課題を解決するための手段】
(【0011】以降は省略されています)
この特許をJ-PlatPat(特許庁公式サイト)で参照する
関連特許
ASTI株式会社
電力変換装置
3日前
株式会社アイシン
ロータ
2日前
株式会社FUJI
制御盤
13日前
西部電機株式会社
充電装置
5日前
西部電機株式会社
充電装置
5日前
日本精機株式会社
サージ保護回路
5日前
トヨタ自動車株式会社
回転子
9日前
トヨタ自動車株式会社
固定子
3日前
ミサワホーム株式会社
居住設備
13日前
個人
連続ガウス加速器形磁力増幅装置
5日前
トヨタ自動車株式会社
製造装置
3日前
株式会社ダイヘン
充電装置
2日前
株式会社アイシン
ステータ
2日前
株式会社アイシン
ステータ
2日前
株式会社ダイヘン
充電装置
2日前
株式会社ダイヘン
充電装置
2日前
カヤバ株式会社
筒型リニアモータ
4日前
株式会社ダイヘン
充電装置
2日前
個人
太陽エネルギー収集システム
3日前
株式会社アイシン
ステータ
2日前
株式会社ミツバ
ブラシレスモータ
4日前
東京瓦斯株式会社
通信装置
4日前
株式会社アイシン
ステータ
2日前
株式会社リコー
拡張アンテナ装置
16日前
日産自動車株式会社
ステータ
10日前
トヨタ自動車株式会社
ロータ
11日前
ユタカ電業株式会社
ケーブルダクト
13日前
ニチコン株式会社
AC入力検出回路
9日前
トヨタ自動車株式会社
被膜形成装置
3日前
NTN株式会社
モータユニット
13日前
株式会社大林組
可搬式充電設備
10日前
株式会社ダイヘン
電力変換装置
5日前
株式会社ミツバ
回転電機
2日前
株式会社ダイヘン
電力システム
5日前
ASTI株式会社
電力変換装置
3日前
東京瓦斯株式会社
給電システム
4日前
続きを見る
他の特許を見る