TOP
|
特許
|
意匠
|
商標
特許ウォッチ
Twitter
他の特許を見る
公開番号
2025129359
公報種別
公開特許公報(A)
公開日
2025-09-04
出願番号
2025113550,2021128442
出願日
2025-07-04,2021-08-04
発明の名称
筆記具
出願人
株式会社パイロットコーポレーション
代理人
主分類
B43K
3/00 20060101AFI20250828BHJP(筆記用または製図用の器具;机上付属具)
要約
【課題】筆記体の軸筒内でのガタつきを抑制する効果を維持することができ、また、筆記体を交換する場合に、ユーザーが環状部材を外す必要がなく、環状部材の紛失を防止する。
【解決手段】前端に開口を有する軸筒と、軸筒に収容された筆記体と、軸筒の内面に装着された環状部材と、を備える。筆記体は、ペン先と、インキを内部に収容したインキ収容管を備える。軸筒は、少なくとも、ペン先が突出される開口を備えた前軸と、該前軸に着脱自在に螺着される後軸と、からなる。環状部材は、前軸の後部に装着されており、筆記体は、環状部材に遊貫して設けられる。
【選択図】図1
特許請求の範囲
【請求項1】
前端に開口を有する軸筒と、
前記軸筒に収容された筆記体と、
前記軸筒の内面に装着された環状部材と、を備え、
前記筆記体は、ペン先と、インキを内部に収容したインキ収容管を備え、
前記軸筒は、少なくとも、前記ペン先が突出される前記開口を備えた前軸と、該前軸に着脱自在に螺着される後軸と、からなり、
前記環状部材は、前記前軸の後端外面に嵌合されており、
前記筆記体は、前記環状部材に遊貫して設けられ、
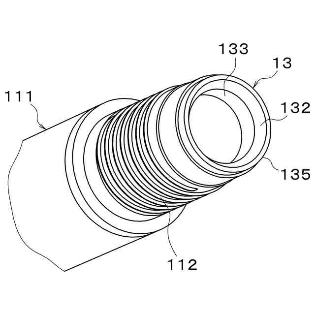
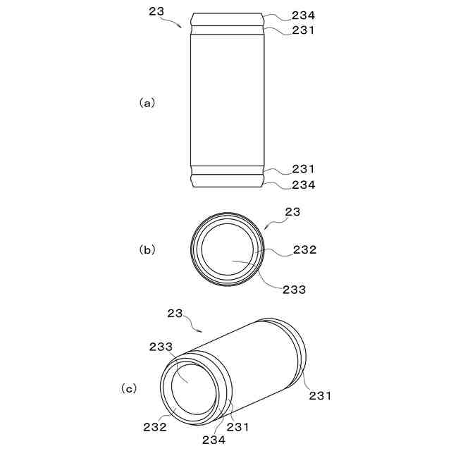
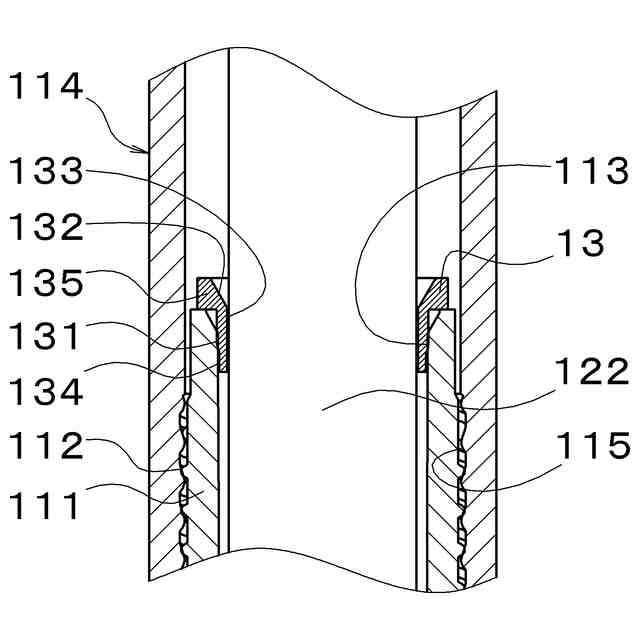
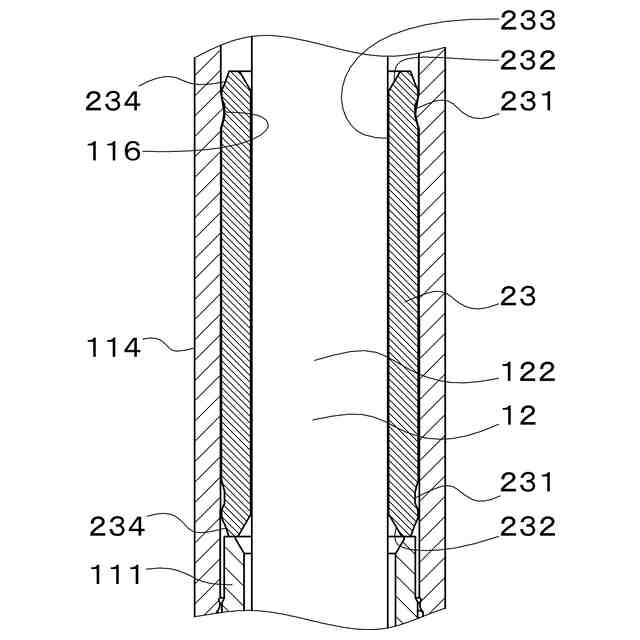
前記環状部材は、前記前軸の後端外面と嵌合する前軸嵌合部と、前後方向に貫通する貫通孔と、前記前軸の後端に当接する鍔部と、を備えることを特徴とする筆記具。
発明の詳細な説明
【技術分野】
【0001】
本発明は、筆記具に関する。詳細には、筆記具の軸筒に筆記体を収容した筆記具に関する。
続きを表示(約 1,500 文字)
【背景技術】
【0002】
特許文献1には、軸筒と、軸筒内に収容可能なレフィルと、軸筒とレフィルとの間に組み付けられる支持部材と、該支持部材よりも後方に配置され、レフィルを後方に向けて付勢するリターンスプリングと、を備え、支持部材は、該支持部材に片持ち支持されたレフィルの前部が所定の外力により振動した際に、該レフィルの前部が軸筒の内周面又は先端開口に衝突することがない前後方向の所定の位置に組み付けられた、ことを特徴とする筆記具が開示されている。
【0003】
当該筆記具によれば、外部から加えられるレフィルへの衝撃を従来よりも低減することができる。
【先行技術文献】
【特許文献】
【0004】
特開2020-142369号公報
【発明の概要】
【発明が解決しようとする課題】
【0005】
特許文献1に開示された構成では、支持部材(本願の環状部材に相当)は、レフィル(本願の筆記体に相当)に側方(径方向)から取り付けることができると共に、その軸線方向の取り付け位置を調節可能である。すなわち、支持部材は、その軸線方向における配置位置をユーザーが容易に調整することができるものである。このため、筆記具の使用中などに支持部材が前後方向に予期せず動いてしまい、レフィルへの衝撃を低減する所望の効果を維持することが困難となるおそれがある。
【0006】
また、特許文献1に開示された構成では、支持部材をレフィルに容易に組み付けることができ、また、レフィルを交換する場合にも、支持部材を容易に組み替えることができる。このため、レフィルを交換する場合には、ユーザーが支持部材を外す必要があり、その際に、支持部材を紛失してしまうおそれがある。
【0007】
本発明は以上のような知見に鑑みてなされたものであり、その目的とするところは、環状部材が前後方向に予期せず動くことがなく、筆記体の軸筒内でのガタつきを抑制する効果を維持することができ、また、筆記体を交換する場合に、ユーザーが環状部材を外す必要がなく、環状部材の紛失を防止することができる筆記具を提供することである。
【課題を解決するための手段】
【0008】
本発明の筆記具は、前端に開口を有する軸筒と、前記軸筒に収容された筆記体と、前記軸筒の内面に装着された環状部材と、を備え、前記筆記体は、ペン先と、インキを内部に収容したインキ収容管を備え、前記軸筒は、少なくとも、前記ペン先が突出される前記開口を備えた前軸と、該前軸に着脱自在に螺着される後軸と、からなり、前記環状部材は、前記前軸の後部に装着されており、前記筆記体は、前記環状部材に遊貫して設けられる。
【0009】
本発明によれば、環状部材は、前軸の後部に装着されており、筆記体は、環状部材に遊貫して設けられることから、環状部材が前後方向に予期せず動くことがなく、筆記体の軸筒内でのガタつきを抑制する効果を維持することができる。また、筆記体を交換する場合に、ユーザーが環状部材を外す必要がなく、環状部材の紛失を防止することができる。
【0010】
好ましくは、前記筆記具は、前記筆記体を前記軸筒内に前後方向に移動可能に収容し、前記筆記体を後方に付勢する弾発体を前記前軸内に収容し、前記弾発体の後方付勢に抗して前記筆記体を前方移動させることにより前記ペン先を前記開口から突出状態にする出没機構を備えた出没式筆記具である。
(【0011】以降は省略されています)
この特許をJ-PlatPat(特許庁公式サイト)で参照する
関連特許
個人
両利き筆記具
6日前
ぺんてる株式会社
筆記具
2か月前
個人
ペンスタンド
11か月前
ぺんてる株式会社
塗布具
5か月前
ぺんてる株式会社
塗布具
5か月前
個人
ツールホルダー
3か月前
コクヨ株式会社
転写具
5か月前
コクヨ株式会社
転写具
5か月前
コクヨ株式会社
転写具
5か月前
個人
筆記具
1か月前
株式会社東山
ペン
1か月前
個人
開封具
7か月前
個人
板発条スケールコンパス。
4日前
ぺんてる株式会社
消しゴム組成物
11か月前
株式会社3S
塗布具
6か月前
ぺんてる株式会社
ボールペンチップ
1か月前
個人
電子黒板システム
9か月前
個人
携帯用消しゴムとその保持形態
10か月前
ぺんてる株式会社
ボールペンチップ
4か月前
株式会社サクラクレパス
塗布具
18日前
ぺんてる株式会社
ボールペンリフィル
4か月前
株式会社サクラクレパス
塗布具
5か月前
三菱鉛筆株式会社
筆記具
1か月前
三菱鉛筆株式会社
筆記具
6か月前
有限会社コスモ
挟着具
4日前
三菱鉛筆株式会社
筆記具
4か月前
個人
学習用定規及びプリント切断方法
5か月前
三菱鉛筆株式会社
筆記具
4か月前
三菱鉛筆株式会社
筆記具
4か月前
株式会社パイロットコーポレーション
筆記具
3か月前
株式会社パイロットコーポレーション
筆記具
6か月前
株式会社サクラクレパス
出没式筆記具
11か月前
株式会社パイロットコーポレーション
筆記具
3か月前
株式会社ウッドロード
ボールペン本体
8か月前
株式会社トンボ鉛筆
プラスチック字消し
9か月前
個人
文具
4か月前
続きを見る
他の特許を見る