TOP
|
特許
|
意匠
|
商標
特許ウォッチ
Twitter
他の特許を見る
10個以上の画像は省略されています。
公開番号
2025132492
公報種別
公開特許公報(A)
公開日
2025-09-10
出願番号
2024030111
出願日
2024-02-29
発明の名称
ヘルメット
出願人
株式会社トーヨーセーフティ
代理人
個人
主分類
A42B
3/12 20060101AFI20250903BHJP(頭部に着用するもの)
要約
【課題】衝撃吸収体の帽体内面への接触を維持しつつ、外部衝撃を受けたときに脚部の伸縮を抑制して接続箇所が外れ難い衝撃吸収ライナーを用いたものを提供する。
【解決手段】本発明のヘルメットは、帽体と、ヘッドバンドと、ハンモックとを有し、帽体内で外部衝撃を吸収するための衝撃吸収ライナーを備えたものにおいて、衝撃吸収ライナーは、衝撃を吸収するための複数の衝撃吸収部と、所定の長手方向を有する脚部と、前記脚部の先端で帽体に接続する接続係合部と、を有し、前記脚部は、外部衝撃による長手方向の伸縮を吸収しつつ外方に向けて付勢する弾性形態からなる脚補正部を有することを特徴とするヘルメット。
【選択図】図1
特許請求の範囲
【請求項1】
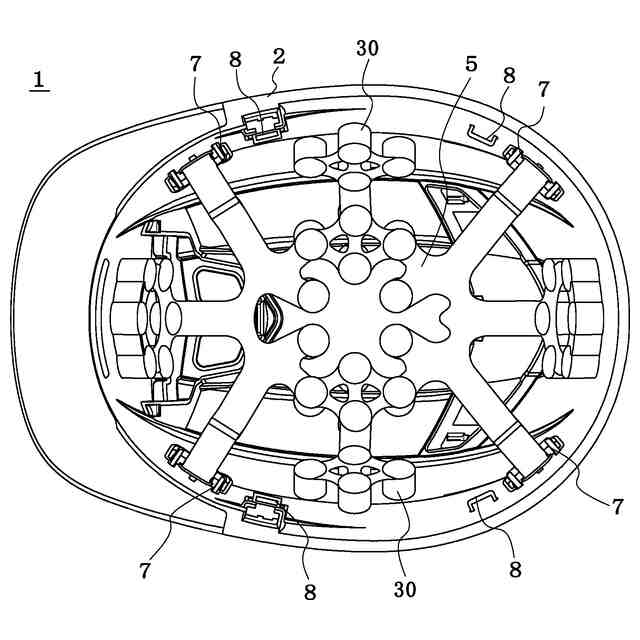
帽体と、ヘッドバンドと、ハンモックとを有し、帽体内で外部衝撃を吸収するための衝撃吸収ライナーを備えたヘルメットにおいて、
前記衝撃吸収ライナーは、衝撃を吸収するための複数の衝撃吸収部と、所定の長手方向を有する脚部と、前記脚部の先端で帽体に接続する接続係合部と、を有し、
前記脚部は、外部衝撃による長手方向の伸縮を吸収しつつ外方に向けて付勢する脚補正部を有することを特徴とするヘルメット。
続きを表示(約 340 文字)
【請求項2】
脚補正部は、外方に向けた凸型形状としたことを特徴とする請求項1に記載のヘルメット。
【請求項3】
脚部は、脚補正部と、前記脚補正部の基端側となる基端脚と、前記脚補正部の先端側となる先端脚とからなり、
基端脚には外方に向けて突出する基端脚突出部と、先端脚には外方に向けて突出する先端脚突出部と、を有し、
前記基端脚突出部と、前記先端脚突出部の突出端は、前記脚補正部の突出端よりも外方に位置することを特徴とする請求項2に記載のヘルメット。
【請求項4】
脚部の先端の接続係合部は、ハンモックの接続部を取り付けるために帽体に形成された左右一対の受部の係合壁に係合して接続することを特徴とする請求項3に記載のヘルメット。
発明の詳細な説明
【技術分野】
【0001】
本発明は、ヘルメットに備える衝撃吸収ライナーにおいて、脚部に脚補正部を備えたものに関する。
続きを表示(約 1,400 文字)
【背景技術】
【0002】
従前、保安用のヘルメットにおいてスチロール材を備えた衝撃吸収ライナーが存在していた。スチロール材からなるライナーは、衝撃吸収においては一定の効果があるものの夏場に熱が籠りやすく、例えば特許文献1に示すように近年は帽体内部に樹脂製の突起物からなる衝撃吸収体を備えたヘルメットが開発されている。一方、特許文献2に示すように、突起物が帽体から離れた状態を維持し、外部衝撃を受けたときに規制するヘルメットも提供されている。
【先行技術文献】
【特許文献】
【0003】
特許第5591984号公報
特許第6883337号公報
【発明の概要】
【発明が解決しようとする課題】
【0004】
特許文献2に記載の先行技術では突起物が帽体から離れた状態にあることから、使用者に安心感を与えるものではなく、衝撃は受ける位置や大きさによって帽体の変形は変化することが考えられる。そのため、衝撃吸収体は帽体の内面に接触した状態を維持することが好ましい。また、外部衝撃により帽体が変形し、衝撃吸収ライナーの脚部が伸縮するように変形して帽体との接続箇所が外れてしまうことも懸念されていた。
【0005】
そこで、本発明は、衝撃吸収体を備えた衝撃吸収ライナーを用いたヘルメットにおいて、衝撃吸収体の帽体内面への接触を維持しつつ、外部衝撃を受けたときに脚部の伸縮を抑制して接続箇所が外れ難い衝撃吸収ライナーを用いたものを提供する。
【課題を解決するための手段】
【0006】
上記課題を解決するため、本発明のヘルメットは、帽体と、ヘッドバンドと、ハンモックとを有し、帽体内で外部衝撃を吸収するための衝撃吸収ライナーを備えたヘルメットにおいて、前記衝撃吸収ライナーは、衝撃を吸収するための複数の衝撃吸収部と、所定の長手方向を有する脚部と、前記脚部の先端で帽体に接続する接続係合部と、を有し、前記脚部は、外部衝撃による長手方向の伸縮を吸収しつつ外方に向けて付勢する脚補正部を有することを特徴とするヘルメット。
【0007】
また、脚補正部は、外方に向けた凸型形状としたことが好ましい。
【0008】
また、脚部は、脚補正部と、前記脚補正部の基端側となる基端脚と、前記脚補正部の先端側となる先端脚とからなり、基端脚には外方に向けて突出する基端脚突出部と、先端脚には外方に向けて突出する先端脚突出部と、を有し、前記基端脚突出部と、前記先端脚突出部の突出端は、前記脚補正部の突出端よりも外方に位置することが好ましい。
【0009】
また、脚部の先端の接続係合部は、ハンモックの接続部を取り付けるために帽体に形成された左右一対の受部の係合壁に係合して接続することが好ましい。
【発明の効果】
【0010】
請求項1に記載の発明により、脚部に弾性形態からなる脚補正部を有することで、外部衝撃があったときに長手方向の伸縮を脚部自体で吸収し、帽体の変形を抑制することができる。また、脚補正部が基端側、先端側を外方に向けて付勢することにより、衝撃吸収ライナーに備えられた衝撃吸収体が帽体内面に当接する状態を維持することができる。
(【0011】以降は省略されています)
この特許をJ-PlatPat(特許庁公式サイト)で参照する
関連特許
個人
帽子
4か月前
個人
フレーム
8か月前
個人
瞬間日陰
6か月前
個人
頭部装着具
6か月前
個人
雨除け帽子
10か月前
個人
通気性帽子
10か月前
個人
健康帽子
10か月前
個人
かぶり物
9か月前
個人
熱中症対策帽子
5か月前
株式会社K設計
サウナハット
9か月前
株式会社TAT
冷却具
8か月前
株式会社コカジ
帽子の製造方法
12か月前
株式会社スペースシーファイブ
帽子
4か月前
個人
制振機能を有する疲労軽減ヘルメット
6か月前
有限会社トラッド
冷却装置付きヘルメット
3か月前
有限会社トップエンタープライズ
帽子
2か月前
東洋物産工業株式会社
分割ヘルメット
3か月前
株式会社トーヨーセーフティ
ヘルメット
1か月前
パイオニア株式会社
通信装置
25日前
パイオニア株式会社
通信装置
25日前
ミドリ安全株式会社
帽体、ヘルメット
6か月前
株式会社イエロー
頭部保護具用内装材
5か月前
ミドリ安全株式会社
インナーキャップ
5か月前
個人
スマートあご紐を有するヘルメット
2か月前
ミドリ安全株式会社
保護帽
6か月前
株式会社日曜発明ギャラリー
帽子等に用いる冷却構造
3か月前
ミドリ安全株式会社
保護帽
7か月前
株式会社アーテック
折り畳み式ヘルメット
11か月前
株式会社ダイセル
保護装置
2か月前
株式会社サンロード
帽子
10か月前
補装具工房スタンス株式会社
頭蓋形状誘導ヘルメット
4か月前
株式会社谷沢製作所
ヘルメット
3か月前
株式会社谷沢製作所
ヘルメット
3か月前
パイオニア株式会社
通信装置、ヘルメット
25日前
株式会社セフト研究所
スペーサ及びスペーサ付帽子
8か月前
株式会社谷沢製作所
産業用安全帽
10か月前
続きを見る
他の特許を見る