TOP
|
特許
|
意匠
|
商標
特許ウォッチ
Twitter
他の特許を見る
公開番号
2025137697
公報種別
公開特許公報(A)
公開日
2025-09-19
出願番号
2025122484,2023565757
出願日
2025-07-22,2021-12-08
発明の名称
非燃焼加熱型スティック、吸引システム
出願人
日本たばこ産業株式会社
代理人
個人
,
個人
主分類
A24D
1/20 20200101AFI20250911BHJP(たばこ;葉巻たばこ;紙巻たばこ;喫煙具)
要約
【課題】口腔内へ供給可能なエアロゾル量を増加させることができる非燃焼加熱型スティック等を提供する。
【解決手段】エアロゾル源を含む基材部と、前記基材部が加熱されることで生成された蒸気を冷却してエアロゾルを生成する筒状の冷却部と、前記エアロゾルが通過するフィルタ部と、を備え、前記冷却部には、外部から内部に空気を流入させる開孔が、前記冷却部と前記フィルタ部との境界から7mm以上、かつ、前記冷却部と前記基材部との境界から8mm以上の位置に形成されている、非燃焼加熱型スティック。
【選択図】図2
特許請求の範囲
【請求項1】
エアロゾル源を含む基材部と、
前記基材部が加熱されることで生成された蒸気を冷却してエアロゾルを生成する筒状の冷却部と、
前記エアロゾルが通過するフィルタ部と、
を備え、
前記冷却部には、外部から内部に空気を流入させる開孔が、前記冷却部と前記フィルタ部との境界から7mm以上、かつ、前記冷却部と前記基材部との境界から8mm以上の位置に形成されている、
非燃焼加熱型スティック。
続きを表示(約 1,000 文字)
【請求項2】
エアロゾル源を含む基材部と、
前記基材部が加熱されることで生成された蒸気を冷却してエアロゾルを生成する筒状の冷却部と、
前記エアロゾルが通過するフィルタ部と、
を備え、
前記冷却部には、外部から内部に空気を流入させる開孔が、前記冷却部の前記フィルタ部側の端部から7mm以上、かつ、前記冷却部の前記基材部側の端部から8mm以上の位置に形成されている、
非燃焼加熱型スティック。
【請求項3】
前記エアロゾル源における充填密度は、300mg/cm
3
以上である、
請求項1又は2に記載の非燃焼加熱型スティック。
【請求項4】
前記冷却部の中心線方向の大きさは、15mm以上35mm以下である、
請求項1又は2に記載の非燃焼加熱型スティック。
【請求項5】
前記フィルタ部の直径は、5.0mm以上8.0mm以下である、
請求項1又は2に記載の非燃焼加熱型スティック。
【請求項6】
前記フィルタ部の中心線方向の大きさは、10mm以上30mm以下である、
請求項1又は2に記載の非燃焼加熱型スティック。
【請求項7】
前記開孔は、中心線方向に2つ以上形成されている、
請求項1又は2に記載の非燃焼加熱型スティック。
【請求項8】
少なくとも前記冷却部と前記フィルタ部とを一体化するように巻かれるチップペーパーを有し、
前記チップペーパーの外面の一部が、リップリリース材料によって被覆されている、
請求項1又は2に記載の非燃焼加熱型スティック。
【請求項9】
前記エアロゾル源の水分含有量は、前記エアロゾル源の全量に対して10質量%以上15質量%以下である、
請求項1又は2に記載の非燃焼加熱型スティック。
【請求項10】
請求項1又は2に記載の非燃焼加熱型スティックと、
前記非燃焼加熱型スティックを保持する保持部と、前記基材部を加熱する加熱部と、を有する吸引装置と、
を備え、
前記保持部は、前記非燃焼加熱型スティックを保持した状態で、内面と前記非燃焼加熱型スティックの外面との間に隙間を形成する、
吸引システム。
発明の詳細な説明
【技術分野】
【0001】
本発明は、非燃焼加熱型スティック及び吸引システムに関する。
続きを表示(約 2,800 文字)
【背景技術】
【0002】
例えば、特許文献1に記載された喫煙品は、喫煙材からなる本体と、フィルタアセンブリとを有する。フィルタアセンブリは、冷却セグメントと、冷却セグメントに隣接するフィルタセグメントと、使用者の口中に受け入れられる口側端部セグメントとを備える。喫煙品は、それが喫煙材を装置に完全に挿入された場合に、冷却セグメントの第1の部分が装置内にあり、冷却セグメントの第2の部分が装置の外に延びているように構成されている。冷却セグメントの第2の部分は、空気を冷却セグメント内に流入させて、喫煙材の揮発された少なくとも一つの成分と混合させることを可能とする通気領域を備える。
また、特許文献2に記載された非燃焼加熱喫煙物品は、たばこおよびエアロゾル生成基材を含むたばこ含有セグメントと、周上に穿孔を有する筒状の冷却セグメントと、冷却セグメントより小さい内径を有する筒状の部材と、を備え、冷却セグメントの吸い口方向の端が前記部材と接合されており、前記穿孔が前記接合面から2~4mmの位置に設けられている。
【先行技術文献】
【特許文献】
【0003】
特表2019-518450号公報
国際公開2020-100927号公報
【発明の概要】
【発明が解決しようとする課題】
【0004】
エアロゾル源を含む基材を加熱することでエアロゾルを生成する吸引装置においては、加熱のために供給する有限のエネルギーを、ユーザの口腔内へ供給可能なエアロゾル量の増加に繋げることが好ましい。
本開示は、口腔内へ供給可能なエアロゾル量を増加させることができる非燃焼加熱型スティック等を提供することを目的とする。
【課題を解決するための手段】
【0005】
かかる目的のもと完成させた本開示は、エアロゾル源を含む基材部と、前記基材部が加熱されることで生成された蒸気を冷却してエアロゾルを生成する筒状の冷却部と、前記エアロゾルが通過するフィルタ部と、を備え、前記冷却部には、外部から内部に空気を流入させる開孔が、前記冷却部と前記フィルタ部との境界から7mm以上、かつ、前記冷却部と前記基材部との境界から8mm以上の位置に形成されている、非燃焼加熱型スティックである。
他の観点から捉えると、本開示は、エアロゾル源を含む基材部と、前記基材部が加熱されることで生成された蒸気を冷却してエアロゾルを生成する筒状の冷却部と、前記エアロゾルが通過するフィルタ部と、を備え、前記冷却部には、外部から内部に空気を流入させる開孔が、前記冷却部の前記フィルタ部側の端部から7mm以上、かつ、前記冷却部の前記基材部側の端部から8mm以上の位置に形成されている、非燃焼加熱型スティックである。
ここで、前記エアロゾル源における充填密度は、300mg/cm
3
以上であってもよい。
また、前記冷却部の中心線方向の大きさは、15mm以上35mm以下であってもよい。
また、前記フィルタ部の直径は、5.0mm以上8.0mm以下であってもよい。
また、前記フィルタ部の中心線方向の大きさは、10mm以上30mm以下であってもよい。
また、前記開孔は、中心線方向に2つ以上形成されていてもよい。
また、少なくとも前記冷却部と前記フィルタ部とを一体化するように巻かれるチップペーパーを有し、前記チップペーパーの外面の一部が、リップリリース材料によって被覆されていてもよい。
また、前記エアロゾル源の水分含有量は、前記エアロゾル源の全量に対して10質量%以上15質量%以下であってもよい。
また、他の観点から捉えると、本開示は、上述した非燃焼加熱型スティックと、前記非燃焼加熱型スティックを保持する保持部と、前記基材部を加熱する加熱部と、を有する吸引装置と、を備え、前記保持部は、前記非燃焼加熱型スティックを保持した状態で、内面と前記非燃焼加熱型スティックの外面との間に隙間を形成する、吸引システムである。
【発明の効果】
【0006】
本開示によれば、口腔内へ供給可能なエアロゾル量を増加させることができる。
【図面の簡単な説明】
【0007】
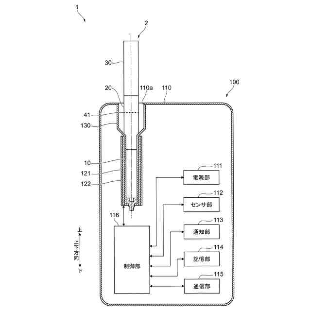
第1実施形態に係る吸引システムの概略構成の一例を模式的に示す図である。
第1実施形態に係るスティックの縦断面の一例を示す図である。
保持部の概略構成の一例を示す図である。
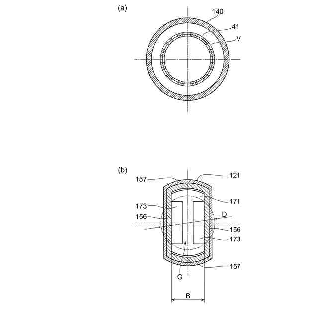
図3のIV-IV部の断面の一例を示す図である。
(a)は、図4のVa-Va部の断面の一例を示す図である。(b)は、図4のVb-Vb部の断面の一例を示す図である。
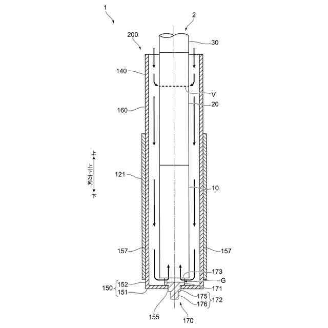
吸引システムにおける吸引時の空気の流れの一例を示す図である。
第2実施形態に係るスティックの縦断面を示す図である。
【発明を実施するための形態】
【0008】
以下、添付図面を参照して、本発明に係る実施の形態について詳細に説明する。各図面には、同一の部分に同一の符号を付して示す。
【0009】
<第1実施形態>
図1は、第1実施形態に係る吸引システム1の概略構成の一例を模式的に示す図である。
図2は、第1実施形態に係るスティック2の縦断面の一例を示す図である。
吸引システム1は、加熱されることでエアロゾルを生成するエアロゾル源を有する非燃焼加熱型スティック(以下、「スティック」と称する場合がある。)2と、スティック2を加熱することでエアロゾルを生成する吸引装置100とを備えている。
【0010】
(スティック2)
スティック2は、基材部10と冷却部20とフィルタ部30とを備える。基材部10は、円柱状に形成されている。以下、基材部10の中心線CLの方向を、「中心線方向」と称する場合がある。スティック2は、中心線方向に、基材部10、冷却部20、フィルタ部30の順に並べた状態で巻かれることで、これらを一体化する、チップペーパー40をさらに備える。以下、中心線方向の一方の端部側(図2においては左側)を第1側、中心線方向の他方の端部側(図2においては右側)を第2側と称する場合がある。第1側は吸引装置100に挿入される方の端部側である。第2側は第1側と反対側であり、ユーザが吸引のために口で咥える端部側である。また、中心線方向に沿った断面を「縦断面」と称し、中心線方向に直交する面にて切断した断面を「横断面」と定義する。
(【0011】以降は省略されています)
この特許をJ-PlatPat(特許庁公式サイト)で参照する
関連特許
個人
ヒートスティック除去具
3か月前
日本たばこ産業株式会社
香味吸引物品
1か月前
個人
電子タバコの加熱素子
3か月前
日本たばこ産業株式会社
香味発生物品
1か月前
日本たばこ産業株式会社
喫煙システム
2か月前
個人
フレーバ用ブースター器具およびシーシャ装置
3か月前
日本たばこ産業株式会社
口腔用組成物
2か月前
東莞市佳かい精密金属制品有限公司
充電可能な電子タバコケース
2か月前
日本たばこ産業株式会社
香味吸引システム
2か月前
日本たばこ産業株式会社
香味吸引システム
2か月前
Future Technology株式会社
エアロゾル吸引カートリッジ
1か月前
日本たばこ産業株式会社
低香味原料を含むたばこセグメント
1か月前
日本たばこ産業株式会社
粒状再生セルロースを含有する口腔用組成物
2か月前
日本たばこ産業株式会社
香味発生物品および香味吸引システム
2か月前
日本たばこ産業株式会社
電子装置
2か月前
Future Technology株式会社
芳香基材
3か月前
日本たばこ産業株式会社
吸引器
2か月前
Future Technology株式会社
喫煙器具
1か月前
日本たばこ産業株式会社
たばこ材料、その製造方法、および非燃焼加熱型喫煙物品
1か月前
Future Technology株式会社
芳香カートリッジ
3か月前
Future Technology株式会社
芳香カートリッジ
4日前
Future Technology株式会社
タバコ充填物集積体
1か月前
Future Technology株式会社
喫煙具用カートリッジ
2か月前
Future Technology株式会社
喫煙具用カートリッジ
1か月前
Future Technology株式会社
喫煙具用カートリッジ
2か月前
Future Technology株式会社
喫煙具用カートリッジ
3か月前
Future Technology株式会社
喫煙具用カートリッジ
2か月前
Future Technology株式会社
喫煙具用カートリッジ
1か月前
Future Technology株式会社
喫煙具用カートリッジ
18日前
Future Technology株式会社
喫煙具用カートリッジ
3か月前
Future Technology株式会社
喫煙具用カートリッジ
3か月前
Future Technology株式会社
電子タバコカートリッジ
1か月前
Future Technology株式会社
電子タバコカートリッジ
2か月前
Future Technology株式会社
電子タバコカートリッジ
1か月前
Future Technology株式会社
被加熱芳香カートリッジ
1か月前
Future Technology株式会社
電子タバコカートリッジ
1か月前
続きを見る
他の特許を見る