TOP
|
特許
|
意匠
|
商標
特許ウォッチ
Twitter
他の特許を見る
公開番号
2025138621
公報種別
公開特許公報(A)
公開日
2025-09-25
出願番号
2025038720
出願日
2025-03-11
発明の名称
積層体及び間仕切り壁部材
出願人
積水フーラー株式会社
代理人
個人
主分類
B32B
27/10 20060101AFI20250917BHJP(積層体)
要約
【課題】 本発明は、使用中若しくは輸送中に応力が加わった場合や段ボールが加熱によって波打った場合にあっても、亀裂や紙製基材からの剥離などを概ね生じることのない伸び性を有していると共に、火災時の熱によって残渣層を生成し、紙製基材が加熱されて発火点に達して燃焼することを抑制することができる優れた耐火性を有している積層体を提供する。
【解決手段】 本発明の積層体は、紙製基材と、上記紙製基材の少なくとも一面に積層一体化され且つ樹脂バインダー100質量部及び熱膨張性黒鉛20~250質量部を含む耐火層とを有することを特徴とする。
【選択図】 図1
特許請求の範囲
【請求項1】
紙製基材と、
上記紙製基材の少なくとも一面に積層一体化され且つ樹脂バインダー100質量部及び熱膨張性黒鉛20~250質量部を含む耐火層とを有することを特徴とする積層体。
続きを表示(約 550 文字)
【請求項2】
上記紙製基材は、
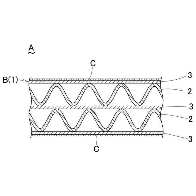
断面波形状に屈曲された中芯原紙と、
上記中芯原紙の少なくとも一面に積層一体化されたライナーとを含む段ボールであることを特徴とする請求項1に記載の積層体。
【請求項3】
上記耐火層の樹脂バインダーは、エチレン-酢酸ビニル共重合体、加水分解性シリル基を有する合成樹脂、エポキシ樹脂、塩化ビニル系樹脂及びブチルゴムからなる群から選ばれた少なくとも一種の樹脂又はその硬化樹脂を含有していることを特徴とする請求項1又は請求項2に記載の積層体。
【請求項4】
上記樹脂バインダーは、加水分解性シリル基を有する合成樹脂及び/又はエチレン-酢酸ビニル共重合体を含むことを特徴とする請求項1又は請求項2に記載の積層体。
【請求項5】
上記耐火層が積層一体化されたライナーは、JIS K6250にて規定される3号ダンベル試験片とした時、JIS K6251に準拠して23℃及び相対湿度50%の雰囲気下において50mm/分の条件下にて引張試験を行なった時の伸び率が50%以上であることを特徴とする請求項2に記載の積層体。
【請求項6】
請求項1又は請求項2に記載の積層体を含むことを特徴とする間仕切り壁部材。
発明の詳細な説明
【技術分野】
【0001】
本発明は、積層体及び間仕切り壁部材に関する。
続きを表示(約 1,000 文字)
【背景技術】
【0002】
従来から軽量性及び加工の容易性の観点から段ボールを建築用材料として用いることがある。
【0003】
特許文献1には、内装ボードをその施工面に取り付ける取付構造であって、前記内装ボードは段ボールを介して前記施工面に取り付けられている内装ボードの取付構造が提案されている。
【先行技術文献】
【特許文献】
【0004】
特開2002-194832号公報
【発明の概要】
【発明が解決しようとする課題】
【0005】
しかしながら、特許文献1の内層ボードの取付構造に用いられている段ボールは、耐火処理が施されておらず、火災時において、段ボールが燃焼し、延焼する虞れがあるという問題点を有している。
【0006】
段ボールの燃焼による延焼を抑制又は緩和するために、段ボールの表面に金属箔を積層一体化させることも想定されるが、火災時の熱によって金属箔が加熱され、加熱された金属箔によって、段ボールが加熱されて発火点に達し、段ボールが燃焼し始めるという別の問題点を生じる。
【0007】
又、段ボールの表面に合成樹脂を含む不燃層又は難燃層を形成することも考えられるが、使用中又は輸送中に加わる応力によって、不燃層又は難燃層が変形して、不燃層又は難燃層に亀裂が生じ、この亀裂を通じて炎が段ボールに達して段ボールが燃焼しはじめるという問題点を生じる虞れがある。
【0008】
段ボールは、加熱されると波打ちを生じるため、火災時の熱によって加熱された時に段ボールが波打ち、段ボールの波打ちに、金属箔、不燃層及び難燃層が追従できずに、段ボールから剥離し、この剥離部分を通じて炎が段ボールに到達して段ボールが燃焼しはじめるという問題点を生じる虞れがある。
【0009】
上述した不燃層又は難燃層に亀裂が生じて耐火性が低下することを防止するために、その厚みを厚くすることも考えられるが、火災時の熱によって段ボールが波打った時に、不燃層又は難燃層がこの波打ち現象に追従することができないという問題を助長することになる。
【0010】
逆に、不燃層又は難燃層の厚みを薄くすることも考えられるが、不燃層又は難燃層の厚みを薄くすると、不燃層又は難燃層の耐火性が低下するという問題点を生じる。
(【0011】以降は省略されています)
この特許をJ-PlatPat(特許庁公式サイト)で参照する
関連特許
積水フーラー株式会社
エポキシ樹脂組成物
今日
積水フーラー株式会社
エポキシ樹脂組成物
今日
積水フーラー株式会社
ホットメルト組成物
1日前
積水フーラー株式会社
ホットメルト組成物
1日前
積水フーラー株式会社
硬化性組成物及び塗膜
14日前
積水フーラー株式会社
積層体及び間仕切り壁部材
8日前
積水フーラー株式会社
積層体及び間仕切り壁部材
8日前
積水フーラー株式会社
活性エネルギー線硬化型樹脂組成物
2か月前
積水フーラー株式会社
湿気硬化型ホットメルト接着剤
3日前
東レ株式会社
積層体
4か月前
東レ株式会社
積層体
8か月前
個人
箔転写シート
4か月前
ユニチカ株式会社
積層体
7か月前
ユニチカ株式会社
積層体
1か月前
東レ株式会社
積層構造体
8か月前
アイカ工業株式会社
化粧板
12か月前
個人
鋼材の塗膜構造
1か月前
東レ株式会社
強化繊維基材
4か月前
東レ株式会社
強化繊維基材
4か月前
東レ株式会社
積層フィルム
6か月前
東レ株式会社
積層フィルム
2か月前
東レ株式会社
積層フィルム
1か月前
東レ株式会社
積層フィルム
7か月前
東ソー株式会社
多層フィルム
4か月前
積水樹脂株式会社
磁性シート
6か月前
東洋紡株式会社
積層包装材料
1か月前
東レ株式会社
加飾用フィルム
今日
東ソー株式会社
多層フィルム
6か月前
エスケー化研株式会社
積層体
7か月前
ユニチカ株式会社
透明シート
1か月前
東レ株式会社
多層積層フィルム
16日前
大倉工業株式会社
多層フィルム
7か月前
日本発條株式会社
積層体
4日前
アイカ工業株式会社
光学積層体
5か月前
東ソー株式会社
蓋材用フィルム
10か月前
三菱製紙株式会社
不織布積層体
6か月前
続きを見る
他の特許を見る