TOP
|
特許
|
意匠
|
商標
特許ウォッチ
Twitter
他の特許を見る
10個以上の画像は省略されています。
公開番号
2025140894
公報種別
公開特許公報(A)
公開日
2025-09-29
出願番号
2024040523
出願日
2024-03-14
発明の名称
筆記具用部品及び筆記具
出願人
株式会社パイロットコーポレーション
代理人
個人
,
個人
,
個人
主分類
B43K
1/00 20060101AFI20250919BHJP(筆記用または製図用の器具;机上付属具)
要約
【課題】爪部を有する筆記具用部品において、2つの筆記具用部品どうしが絡み合うことを抑制する。
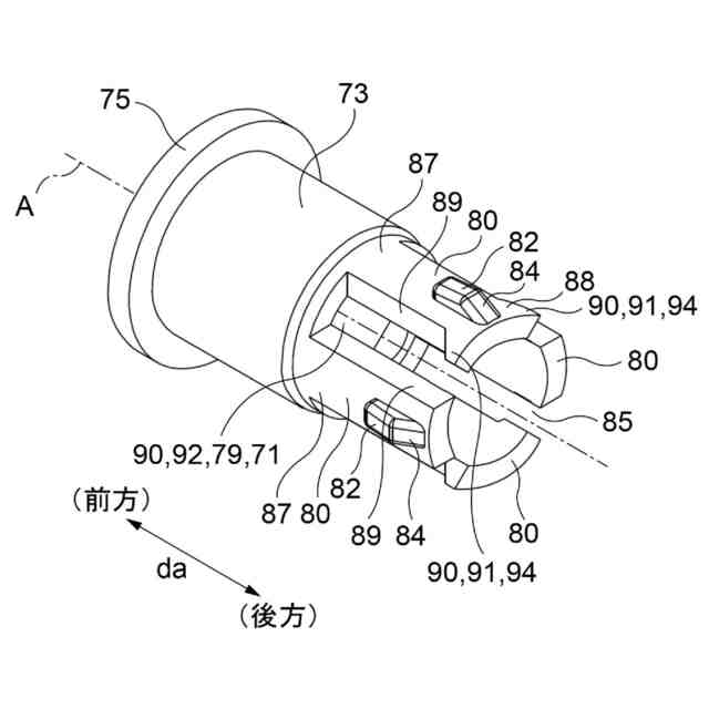
【解決手段】筆記具用部品70は、本体部73と、本体部73から軸方向daに延び出すとともに周方向に配列された複数の爪部80と、爪部80が他の部品と絡み合うことを抑制する絡み抑制部90と、を備える。
【選択図】図10
特許請求の範囲
【請求項1】
本体部と、
前記本体部から軸方向に延び出すとともに周方向に配列された複数の爪部と、
前記爪部が他の部品と絡み合うことを抑制する絡み抑制部と、を備える、筆記具用部品。
続きを表示(約 870 文字)
【請求項2】
前記絡み抑制部において、周方向に隣り合う2つの前記爪部間の最小距離は、前記爪部における径方向の最大厚さよりも小さい、請求項1に記載の筆記具用部品。
【請求項3】
前記絡み抑制部において、周方向に隣り合う2つの前記爪部間の最小距離は、前記爪部における径方向の最小厚さよりも小さい、請求項1に記載の筆記具用部品。
【請求項4】
前記絡み抑制部は、周方向に隣り合う2つの前記爪部間の距離を減少させる膨出部を有する、請求項1に記載の筆記具用部品。
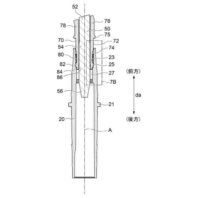
【請求項5】
前記絡み抑制部は、前記本体部に形成された肉厚部を有し、
前記肉厚部の径方向の厚さは、周方向に隣り合う2つの前記爪部間の最小距離よりも大きい、請求項1に記載の筆記具用部品。
【請求項6】
前記肉厚部は、前記本体部の内側に突出するとともに軸方向に延びる複数のリブを含み、
径方向から見たときに、前記リブは、隣り合う2つの前記爪部間に形成される隙間と軸方向に並んで配置される、請求項5に記載の筆記具用部品。
【請求項7】
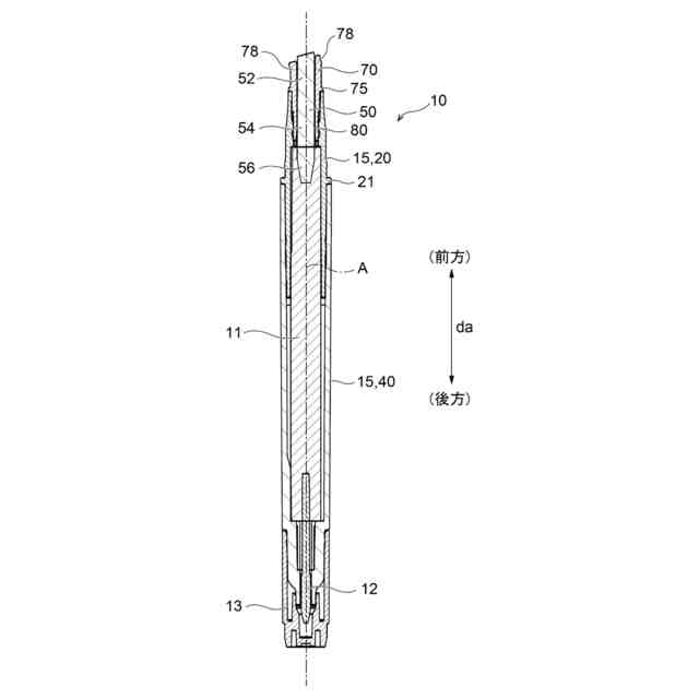
前記筆記具用部品は、筆記具の軸筒に取り付けられる部品であり、
前記軸筒に取り付けられた状態において、前記爪部が内側に向かって変形する、請求項1に記載の筆記具用部品。
【請求項8】
軸筒と、
筆跡を形成する筆記部を有するチップ部材と、
前記複数の爪部が前記チップ部材の外側に位置するように前記軸筒に取り付けられた、請求項1~7のいずれか一項に記載の筆記具用部品と、を備え、
前記筆記具用部品は、前記軸筒に取り付けられた状態において前記チップ部材を保持する、筆記具。
【請求項9】
前記筆記具用部品が前記軸筒に取り付けられた状態において、前記爪部が内側に向かって変形して前記チップ部材に接触し、前記筆記具用部品に対する前記チップ部材の軸方向の移動が規制される、請求項8に記載の筆記具。
発明の詳細な説明
【技術分野】
【0001】
本発明は、筆記具用部品及び筆記具に関する。
続きを表示(約 1,600 文字)
【背景技術】
【0002】
筆記具を構成する筆記具用部品の中には、爪部を有する部品がある。特許文献1には、爪部を有する筆記具用部品の一例(ペン芯ホルダー2)が開示されている。
【先行技術文献】
【特許文献】
【0003】
実用新案登録第2605695号公報
【発明の概要】
【発明が解決しようとする課題】
【0004】
筆記具を製造する際、筆記具を構成する筆記具用部品は、パーツフィーダ等により搬送され、互いに組み付けられる。このとき、爪部を有する筆記具用部品をパーツフィーダ等により搬送すると、この爪部が他の筆記具用部品と絡み合い、簡単には外れなくなることがある。この場合、互いに絡み合った筆記具用部品はそのままでは組み立てできず、作業者が手作業で2つの筆記具用部品を分離する必要があった。これにより、筆記具の製造に不都合が生じていた。
【0005】
このような、2つの筆記具用部品どうしが絡み合う現象について本件発明者らが検討を進めたところ、この現象には2つの原因があることがわかった。1つ目の原因は、周方向に隣り合う2つの爪部間に形成される隙間に、他の筆記具用部品の爪部が挟まり、抜けなくなることである。2つ目の原因は、周方向に隣り合う2つの爪部間に形成される隙間に、他の筆記具用部品の本体部が挟まり、抜けなくなることである。
【0006】
図24及び図25は、1つ目の原因について説明するための図であり、筆記具用部品の爪部が絡む様子の一例を示す図である。とりわけ図25によく示されているように、周方向に隣り合う2つの爪部間に形成される隙間に、他の筆記具用部品の爪部が挟まることにより、2つの筆記具用部品が絡み合う。この場合に限定されるわけではないが、とりわけ、筆記具用部品の爪部の径方向の厚さが他の筆記具用部品の隙間の幅寸法よりもやや大きいときに、顕著に起こり得る。これは、筆記具用部品の爪部が他の筆記具用部品の隙間に進入したときに、他の筆記具用部品の爪部が弾性変形し、この爪部が元に戻ろうとする力が隙間内に位置する爪部を押さえつけるからである。
【0007】
図26及び図27は、2つ目の原因について説明するための図であり、筆記具用部品の爪部が絡む様子の一例を示す図である。とりわけ図27によく示されているように、周方向に隣り合う2つの爪部間に形成される隙間に、他の筆記具用部品の本体部が挟まることにより、2つの筆記具用部品が絡み合う。この場合に限定されるわけではないが、とりわけ、筆記具用部品の本体部の径方向の厚さが他の筆記具用部品の隙間の幅寸法よりもやや大きいときに、顕著に起こり得る。これは、筆記具用部品の本体部が他の筆記具用部品の隙間に進入したときに、他の筆記具用部品の爪部が弾性変形し、この爪部が元に戻ろうとする力が隙間内に位置する本体部を押さえつけるからである。
【0008】
本発明は、このような点を考慮してなされたものであり、上記2つの原因により生じる問題の少なくとも1つを解決することを目的とする。すなわち、爪部を有する筆記具用部品において、2つの筆記具用部品どうしが絡み合うことを抑制することを目的とする。
【課題を解決するための手段】
【0009】
本発明の筆記具用部品は、
[1]本体部と、
前記本体部から軸方向に延び出すとともに周方向に配列された複数の爪部と、
前記爪部が他の部品と絡み合うことを抑制する絡み抑制部と、を備える、筆記具用部品、である。
【0010】
本発明の筆記具用部品は、
[2]前記絡み抑制部において、周方向に隣り合う2つの前記爪部間の最小距離は、前記爪部における径方向の最大厚さよりも小さい、[1]に記載の筆記具用部品、である。
(【0011】以降は省略されています)
この特許をJ-PlatPat(特許庁公式サイト)で参照する
関連特許
個人
両利き筆記具
3日前
ぺんてる株式会社
筆記具
2か月前
個人
ペンスタンド
11か月前
ぺんてる株式会社
塗布具
5か月前
ぺんてる株式会社
塗布具
5か月前
個人
ツールホルダー
3か月前
コクヨ株式会社
転写具
5か月前
コクヨ株式会社
転写具
5か月前
コクヨ株式会社
転写具
5か月前
個人
筆記具
1か月前
個人
板発条スケールコンパス。
1日前
個人
開封具
6か月前
株式会社東山
ペン
1か月前
株式会社3S
塗布具
6か月前
ぺんてる株式会社
消しゴム組成物
11か月前
個人
携帯用消しゴムとその保持形態
10か月前
ぺんてる株式会社
ボールペンチップ
4か月前
ぺんてる株式会社
ボールペンチップ
1か月前
個人
電子黒板システム
9か月前
三菱鉛筆株式会社
筆記具
29日前
ぺんてる株式会社
ボールペンリフィル
4か月前
三菱鉛筆株式会社
筆記具
6か月前
株式会社サクラクレパス
塗布具
5か月前
株式会社サクラクレパス
塗布具
15日前
有限会社コスモ
挟着具
1日前
個人
学習用定規及びプリント切断方法
5か月前
株式会社パイロットコーポレーション
筆記具
2か月前
株式会社サクラクレパス
出没式筆記具
11か月前
株式会社パイロットコーポレーション
筆記具
6か月前
三菱鉛筆株式会社
筆記具
4か月前
株式会社ウッドロード
ボールペン本体
8か月前
三菱鉛筆株式会社
筆記具
4か月前
三菱鉛筆株式会社
筆記具
4か月前
株式会社パイロットコーポレーション
筆記具
3か月前
株式会社トンボ鉛筆
プラスチック字消し
9か月前
株式会社青井黒板製作所
支持装置
11か月前
続きを見る
他の特許を見る