TOP
|
特許
|
意匠
|
商標
特許ウォッチ
Twitter
他の特許を見る
公開番号
2025141036
公報種別
公開特許公報(A)
公開日
2025-09-29
出願番号
2024040760
出願日
2024-03-15
発明の名称
耐候性に優れる積層体及び、該積層体を得るための転写フイルム
出願人
株式会社麗光
代理人
主分類
B32B
27/40 20060101AFI20250919BHJP(積層体)
要約
【課題】優れた金属光沢を有するとともに、耐候性に優れる積層体、及びそれを得るための転写フイルムを提供する。
【解決手段】離型性基材上に少なくとも剥離層2、中間層3、蒸着下地層4、金属蒸着層5、接着層6が当該順序にて配置された転写フイルム10であって、剥離層、中間層、金属下地層がいずれも、少なくともポリオールとポリイソシアネートの反応硬化物からなるとともに、下記の条件A)~C)を満たすことを特徴とする転写フイルム。
A)剥離層を組成するポリイソシアネートが脂肪族若しくは脂環式イソシアネートのいずれか、又はこれらの組み合わせからなる。
B)中間層を組成するポリイソシアネートが脂肪族、脂環式、若しくは、芳香脂肪族イソシアネートのいずれか、又はこれらの組み合わせからなる。
C)金属下地層を組成するポリイソシアネートが芳香族イソシアネートからなる。
【選択図】図1
特許請求の範囲
【請求項1】
離型性基材上に少なくとも剥離層、中間層、蒸着下地層、金属蒸着層、接着層が当該順序にて配置された転写フイルムであって
剥離層、中間層、蒸着下地層がいずれも、少なくともポリオールとポリイソシアネートの反応硬化物からなるとともに、
下記の条件A)~C)を満たすことを特徴とする転写フイルム
A) 剥離層を組成するポリイソシアネートが脂肪族若しくは脂環式イソシアネートのいずれか、又はこれらの組み合わせからなる
B) 中間層を組成するポリイソシアネートが脂肪族、脂環式、若しくは、芳香脂肪族イソシアネートのいずれか、又はこれらの組み合わせからなる
C) 蒸着下地層を組成するポリイソシアネートが芳香族イソシアネートからなる
続きを表示(約 740 文字)
【請求項2】
中間層を組成するポリイソシアネートが芳香脂肪族イソシアネートである請求項1に記載の転写フイルム
【請求項3】
剥離層、中間層、蒸着下地層を組成するポリオールがいずれもアクリル系ポリオールである請求項1または2に記載の転写フイルム
【請求項4】
金属蒸着層の金属が、インジウム、スズ、クロム、又はアルミニウムのいずれかからなる請求項3に記載の転写フイルム
【請求項5】
被加飾基材上に少なくとも接着層、金属蒸着層、蒸着下地層、中間層、剥離層が当該順序にて配置された積層体であって
剥離層、中間層、蒸着下地層がいずれも、少なくともポリオールとポリイソシアネートの反応硬化物からなるとともに、
下記の条件A)~C)を満たすことを特徴とする積層体
A) 剥離層を組成するポリイソシアネートが脂肪族若しくは脂環式イソシアネートのいずれか、又はこれらの組み合わせからなる
B) 中間層を組成するポリイソシアネートが脂肪族、脂環式、若しくは、芳香脂肪族イソシアネートのいずれか、又はこれらの組み合わせからなる
C) 蒸着下地層を組成するポリイソシアネートが芳香族イソシアネートからなる
【請求項6】
中間層を組成するポリイソシアネートが芳香脂肪族イソシアネートである請求項5に記載の積層体
【請求項7】
剥離層、中間層、蒸着下地層を組成するポリオールがいずれもアクリル系ポリオールである請求項5または6に記載の積層体
【請求項8】
金属蒸着層の金属が、インジウム、スズ、クロム、又はアルミニウムのいずれかからなる請求項7に記載の積層体
発明の詳細な説明
【技術分野】
【0001】
本発明は耐候性に優れる積層体及び、該積層体を得るための転写フイルムに関する。
続きを表示(約 3,800 文字)
【背景技術】
【0002】
従来から、プラスチックフイルム上に、離型層、機能層(保護層、着色層、印刷層、ハードコート層、反射防止層、金属蒸着層等)、及び接着層が順次形成された転写フイルムを使用し、該転写フイルムの離型層上に形成された上記、機能層、及び接着層(以下、これらの層をまとめて転写層という)を被転写物表面に転写加工することで、被転写物表面に転写層が形成され、金属光沢や図柄等の意匠性、ハードコート性、反射防止性等の各種機能が付与された積層体を得る方法が広く一般に使用されている。
そして、該積層体は、家電製品や自動車の部品、雑貨、紙器、ラベル等の各種製品として利用されている。
【0003】
積層体を自動車外装用途に適用する場合、表面特性、特に耐候性すなわち、紫外線を含む外光や、温度湿度変化に長時間されられても、黄変、光沢の劣化(光沢度の減少)や外観変化(発泡、剥がれ、亀裂等)といった劣化を起こしにくい特性が重要視される。
【0004】
表面に装飾を施された積層体を得るための転写シート(転写フイルム)として、特許文献1では、剥離層上に剥離可能に形成された意匠転写層を含む意匠転写シート(転写フイルム)が開示されている。また、被転写物(被加飾基材)に対して優れた耐候性、透明性、及びハードコート性を有する表面保護層を熱転写により容易に形成するための熱転写フィルム(転写フイルム)として、特許文献2では、電離放射線硬化性樹脂組成物の配合、電離放射線の照射線量を特定の範囲のものとする熱転写フィルム(転写フイルム)の製造方法が開示されている。
【先行技術文献】
【特許文献】
【0005】
特開2016-120643号公報
特開2014-198317号公報
【発明の概要】
【発明が解決しようとする課題】
【0006】
ところで、該積層体を自動車外装部品、例えばフロントグリルなどに用いる場合、耐候性と同時に、金属蒸着層に由来する金属光沢といった意匠性が求められる。
特許文献1および2に記載のような従来公知の転写フイルムでは、耐候性が不十分であり、紫外線や高温高湿により、金属光沢が劣化したり、黄変が発生したり、外観変化が生じたりする場合があるという問題が存在した。
具体的には、従来公知の金属蒸着層を有する転写フイルムを用いた積層体は、紫外線を吸収しやすい樹脂(例えば、芳香環を有するイソシアネートを使用した反応硬化物)からなる層のみを積層体表面側(金属蒸着層上)に設けた場合、該樹脂層を構成する樹脂が、紫外線のエネルギーを吸収し、酸化され、キノン構造を形成し、該樹脂層、ひいては積層体全体が黄変したように見える場合があるという問題点が存在した。逆に、積層体表面側(金属蒸着層上)に紫外線を吸収しにくい樹脂(例えば、芳香環を有しないイソシアネートを使用した反応硬化物)からなる層のみを設けた場合、金属蒸着層に不可避的に存在するピンホールと呼ばれる蒸着欠陥、あるいは金属蒸着層の海島構造の海部分の金属蒸着層の存在しない部分を、紫外線が透過し、該紫外線により、接着層や被加飾基材が劣化する。結果、金属光沢の劣化、外観変化が発生するという問題点が存在した。また、脂環式あるいは脂肪族イソシアネートを使用した反応硬化物からなる層は耐熱性が悪くなる場合があり、金属蒸着層の形成時に所望の金属光沢が得にくい場合があった。
また黄変が発生することを抑制するために、積層体表面側(金属蒸着層上)の樹脂層に紫外線吸収剤などの添加剤を添加した場合、添加剤が表面に析出するブリードアウトと呼ばれる現象により、金属光沢が劣化する場合や、各層間の十分な密着性が得られない場合があった。
本発明は、耐候性に優れる積層体、すなわち紫外線や高温高湿に長時間晒された場合であっても、より金属光沢の劣化が少なく、黄変が発生し難く、外観変化が生じにくい積層体及び、それを得るための転写フイルムを提供することを課題とする。
【課題を解決するための手段】
【0007】
本発明は以下の各態様からなる。
(項1)
離型性基材上に少なくとも剥離層、中間層、蒸着下地層、金属蒸着層、接着層が当該順序にて配置された転写フイルムであって
剥離層、中間層、蒸着下地層がいずれも、少なくともポリオールとポリイソシアネートの反応硬化物からなるとともに、
下記の条件A)~C)を満たすことを特徴とする転写フイルム
A) 剥離層を組成するポリイソシアネートが脂肪族若しくは脂環式イソシアネートのいずれか、又はこれらの組み合わせからなる
B) 中間層を組成するポリイソシアネートが脂肪族、脂環式、若しくは、芳香脂肪族イソシアネートのいずれか、又はこれらの組み合わせからなる
C) 蒸着下地層を組成するポリイソシアネートが芳香族イソシアネートからなる
(項2)
中間層を組成するポリイソシアネートが芳香脂肪族イソシアネートである項1に記載の転写フイルム
(項3)
剥離層、中間層、蒸着下地層を組成するポリオールがいずれもアクリル系ポリオールである項1または2に記載の転写フイルム
(項4)
金属蒸着層の金属が、インジウム、スズ、クロム、又はアルミニウムのいずれかからなる項3に記載の転写フイルム
(項5)
被加飾基材上に少なくとも接着層、金属蒸着層、蒸着下地層、中間層、剥離層が当該順序にて配置された積層体であって
剥離層、中間層、蒸着下地層がいずれも、少なくともポリオールとポリイソシアネートの反応硬化物からなるとともに、
下記の条件A)~C)を満たすことを特徴とする積層体
A) 剥離層を組成するポリイソシアネートが脂肪族若しくは脂環式イソシアネートのいずれか、又はこれらの組み合わせからなる
B) 中間層を組成するポリイソシアネートが脂肪族、脂環式、若しくは、芳香脂肪族イソシアネートのいずれか、又はこれらの組み合わせからなる
C) 蒸着下地層を組成するポリイソシアネートが芳香族イソシアネートからなる
(項6)
中間層を組成するポリイソシアネートが芳香脂肪族イソシアネートである項5に記載の積層体
(項7)
剥離層、中間層、蒸着下地層を組成するポリオールがいずれもアクリル系ポリオールである項5または6に記載の積層体
(項8)
金属蒸着層の金属が、インジウム、スズ、クロム、又はアルミニウムのいずれかからなる項7に記載の積層体
【発明の効果】
【0008】
本発明の積層体は、上記のように、最表層(外光が入射する方向)から、剥離層、中間層、蒸着下地層の各層が所定の組成を有する反応硬化物でこの順に積層されている。これらの層の相乗効果により、これらの層は紫外線の照射を受けても、黄変が発生し難いとともに、金属蒸着層にピンホールが存在する、あるいは、金属蒸着層が海島構造である場合であっても、接着層及び被加飾基材への紫外線の到達が抑制される。従って、本発明の積層体は耐候性に優れる。そのため、本発明の積層体は金属蒸着層に由来する優れた金属光沢を有するとともに、紫外線を含む外光や高温高湿に長時間晒された場合であっても、金属光沢の劣化が少なく、黄変が発生し難
く、外観変化が生じにくい積層体となる。また、本発明の転写フイルムを用いることで、該積層体を容易に得ることができる。
【図面の簡単な説明】
【0009】
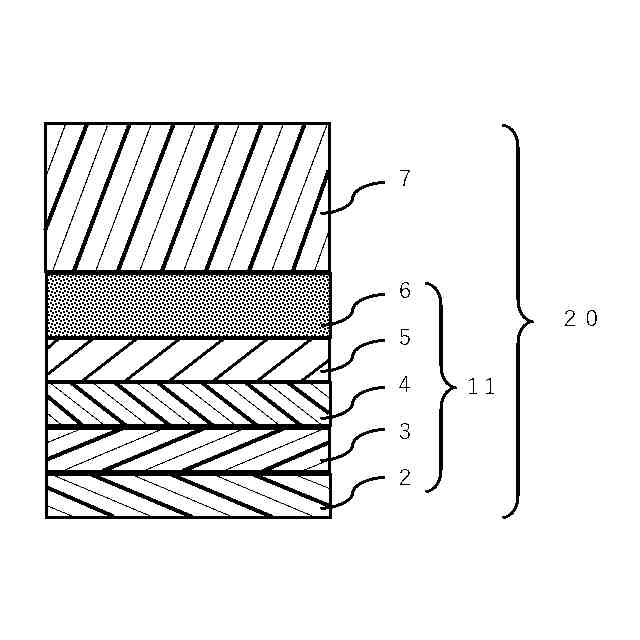
本発明の一実施形態に係る転写フイルムの層構成の一例を示す図であり、離型性基材1上に、剥離層2、中間層3、蒸着下地層4、金属蒸着層5、接着層6がこの順で形成されている。
図1の本発明の転写フイルムを使用して得られた本発明の積層体の層構成の一例を示す図であり、被加飾基材7の表面には、接着層6、金属蒸着層5、蒸着下地層4、中間層3、剥離層2がこの順で形成されている。
【発明を実施するための形態】
【0010】
まず、本発明の転写フイルムについて説明する。
前述の課題を解決可能な本発明の転写フイルムには例えば、以下の構成が含まれるが、以下の構成以外であっても構わない。
A)離型性基材/剥離層/中間層/蒸着下地層/金属蒸着層/接着層
B)離型性基材/剥離層/中間層/蒸着下地層/金属蒸着層/蒸着保護層/接着層
C)離型性基材/剥離層/中間層/着色層/蒸着下地層/金属蒸着層/蒸着保護層/接着層
D)離型性基材/剥離層/中間層/印刷層/蒸着下地層/金属蒸着層/蒸着保護層/接着層
以下の説明では上記に例示される構成のうち、剥離層より右側に位置する各層(転写フイルムの離型性基材を除いた各層)をまとめて転写層と呼ぶ。
以下に本発明の転写フイルムを構成する各層について説明する。
(【0011】以降は省略されています)
この特許をJ-PlatPat(特許庁公式サイト)で参照する
関連特許
株式会社麗光
防音積層体とその製造に用いる遮音膜、および遮音膜シート
1か月前
株式会社麗光
耐候性に優れる積層体及び、該積層体を得るための転写フイルム
4日前
国立大学法人金沢大学
薄膜デバイス、薄膜デバイスモジュール、電極付き封止材及び薄膜デバイスの製造方法
1か月前
国立大学法人金沢大学
ペロブスカイト膜、薄膜太陽電池、ペロブスカイト膜の製造方法及び薄膜太陽電池の製造方法
2か月前
東レ株式会社
積層体
4か月前
東レ株式会社
積層体
8か月前
個人
箔転写シート
4か月前
ユニチカ株式会社
積層体
7か月前
ユニチカ株式会社
積層体
1か月前
東レ株式会社
積層構造体
8か月前
アイカ工業株式会社
化粧板
12か月前
個人
鋼材の塗膜構造
1か月前
東レ株式会社
強化繊維基材
4か月前
東レ株式会社
強化繊維基材
4か月前
東レ株式会社
積層フィルム
6か月前
東レ株式会社
積層フィルム
2か月前
東レ株式会社
積層フィルム
1か月前
東レ株式会社
積層フィルム
7か月前
東ソー株式会社
多層フィルム
4か月前
積水樹脂株式会社
磁性シート
6か月前
東洋紡株式会社
積層包装材料
1か月前
東レ株式会社
加飾用フィルム
今日
東ソー株式会社
多層フィルム
6か月前
エスケー化研株式会社
積層体
7か月前
ユニチカ株式会社
透明シート
1か月前
東レ株式会社
多層積層フィルム
16日前
大倉工業株式会社
多層フィルム
7か月前
日本発條株式会社
積層体
4日前
アイカ工業株式会社
光学積層体
5か月前
東ソー株式会社
蓋材用フィルム
10か月前
三菱製紙株式会社
不織布積層体
6か月前
日本バイリーン株式会社
表皮材
2か月前
東レ株式会社
電子機器筐体用部材
8か月前
東レ株式会社
電子機器筐体用部材
8か月前
東レ株式会社
サンドイッチ構造体
24日前
artience株式会社
積層体
3か月前
続きを見る
他の特許を見る