TOP
|
特許
|
意匠
|
商標
特許ウォッチ
Twitter
他の特許を見る
10個以上の画像は省略されています。
公開番号
2025141638
公報種別
公開特許公報(A)
公開日
2025-09-29
出願番号
2024041658
出願日
2024-03-15
発明の名称
射撃ゲームシステムおよび娯楽施設
出願人
任天堂株式会社
代理人
個人
,
個人
,
個人
主分類
A63F
13/837 20140101AFI20250919BHJP(スポーツ;ゲーム;娯楽)
要約
【課題】複数のプレイヤが同時に射撃ゲームをプレイする場合であっても、各プレイヤの射撃を正確に区別することができる。
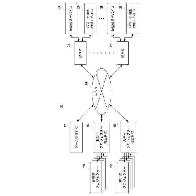
【解決手段】射撃ゲームシステム(10)は、ゲーム制御PC(12)を含み、ゲーム制御PCは複数の銃PC(24)と通信可能に接続される。各銃PCには、射撃デバイスが電気的に接続される。射撃ゲームシステムは娯楽施設AFに適用され、娯楽施設の床面であり、銃デバイスの載置台と正面スクリーンScの間には、複数のARマーカが並べて配置される。各射撃デバイスには赤外線カメラモジュール(26a、28a)が設けられており、赤外線カメラでARマーカが撮影され、撮影画像に基づいて赤外線カメラの位置および姿勢が算出される。複数のプレイヤの各々が射撃デバイスを用いて正面スクリーンに表示された的を射撃する。射撃したときの各赤外線カメラの姿勢から、プレイヤ毎の射撃方向が算出され、プレイヤ毎に、射撃デバイスによる正面スクリーン上の交点が算出される。
【選択図】 図4
特許請求の範囲
【請求項1】
画像が映され、床面に対して立てて設置されるスクリーンと、
前記床面に並べて設置される複数のマーカと、
前記マーカを撮影するカメラを備える複数の射撃デバイスと、
少なくとも1つのプロセッサと、を備え、
前記カメラは前記射撃デバイスの射撃方向とは異なる向きに設置され、
前記少なくとも1つのプロセッサは、
前記複数の射撃デバイスのそれぞれについて、
前記カメラで撮影された前記マーカの画像に基づいて、前記カメラの位置および向きに対応する、前記射撃デバイスの射撃方向と、スクリーンとの交点に対応する仮想空間の座標を算出し、
それぞれの前記射撃デバイスへの操作入力および前記仮想空間の座標を用いて、射撃ゲームを実行させる、射撃ゲームシステム。
続きを表示(約 1,300 文字)
【請求項2】
前記射撃デバイスを設置する設置場所をさらに備え、
前記複数のマーカは前記スクリーンと前記設置場所の間に位置する、請求項1記載の射撃ゲームシステム。
【請求項3】
銃砲身内に下向きのカメラ
前記射撃デバイスはバレル部を備え、
前記カメラは、前記バレル部の先端の内部に、前記射撃デバイスの斜め下向きに配置される、請求項1記載の射撃ゲームシステム。
【請求項4】
銃砲身内に下方向斜め形状
前記バレル部は、当該バレル部の先端において上側が下側よりも前方に突出する形状である、請求項3記載の射撃ゲームシステム。
【請求項5】
発光装置を別途設置
前記マーカよりも上方に設置され、前記マーカへ向かって光を発する複数の発光装置を備え、
前記マーカは、前記発光装置から発せられた光を反射する、請求項1から4までのいずれかに記載の射撃ゲームシステム。
【請求項6】
選択モード時カメラのフレームレート低下
前記カメラが撮影した画像に基づいて、前記カメラが起動した状態の複数種類の前記射撃デバイスから1つの前記射撃デバイスを選択させる射撃デバイス選択モードと、
選択された1つの前記射撃デバイスの前記カメラを起動した状態において、前記射撃ゲームを実行する射撃ゲームモードと、を備え、
前記射撃デバイス選択モードにおける前記カメラのフレームレートは、前記射撃ゲームモードにおける前記カメラのフレームレートよりも低い、請求項1から4までのいずれかに記載の射撃ゲームシステム。
【請求項7】
銃撃デバイス返却
前記射撃ゲームモードの終了後、選択された1つの前記射撃デバイスの前記カメラを起動した状態において、前記カメラが撮影した画像に基づいて、前記射撃デバイスが所定の位置に配置されたかを判断する射撃デバイス返却モードを備え、
前記射撃デバイス返却モードにおける前記カメラのフレームレートは、前記射撃ゲームモードにおける前記カメラのフレームレートよりも低い、請求項6記載の射撃ゲームシステム。
【請求項8】
2種類の銃から1つを選択
前記射撃デバイス選択モードにおいて、前記カメラで撮影された前記マーカの画像に基づいて、複数の前記射撃デバイスが前記スクリーンに向けられた場合、1つの前記射撃デバイスを選択させる画像を前記スクリーンに表示させる、請求項6記載の射撃ゲームシステム。
【請求項9】
ARマーカの構造
前記発光装置から発せられる光は赤外光であり、
前記マーカは、
床面に設置された板状の赤外光を反射する基材上に、赤外光を透過する第1層と、前記第1層と隣接して配置され、赤外光を吸収する第2層が形成され、
前記第1層と前記第2層の上にさらに、赤外光を透過する第3層を形成された、請求項5記載の射撃ゲームシステム。
【請求項10】
ARマーカの反射を抑えた構造
前記マーカは、前記第1層と前記第2層の表面が同じ高さで形成される、請求項9に記載の射撃ゲームシステム。
(【請求項11】以降は省略されています)
発明の詳細な説明
【技術分野】
【0001】
この発明は、射撃ゲームシステムおよび娯楽施設に関し、特にたとえば、複数のプレイヤの各々がスクリーンに表示される的を銃型のコントローラで射撃する、射撃ゲームシステムおよび娯楽施設に関する。
続きを表示(約 1,200 文字)
【背景技術】
【0002】
この種の射撃ゲームシステムの一例が特許文献1に開示されている。この特許文献1に開示されるガンゲーム装置では、ディスプレイの下側に配置された電子カメラはガンコントローラの発する二重円マーカの画像を撮像し、二重円マーカのカメラ座標系の位置を得ることによりディスプレイ上のガンコントローラが向いている座標位置およびその向きが画像処理装置により演算処理して得られる。
【先行技術文献】
【特許文献】
【0003】
特開2011-19745
【発明の概要】
【発明が解決しようとする課題】
【0004】
背景技術のガンゲーム装置では、複数人のプレイヤで射撃ゲームを行うことは想定されておらず、仮に、複数人のプレイヤで射撃ゲームを行った場合には、撮像された二重円マーカの画像からガンコントローラが向いている座標位置等を算出するだけであるため、どのプレイヤが射撃したのかを区別するのが難しいという問題がある。
【0005】
それゆえに、この発明の主たる目的は、新規な、射撃ゲームシステムおよび娯楽施設を提供することである。
【0006】
また、この発明の他の目的は、複数のプレイヤの各々の射撃を正確に区別することができる、射撃ゲームシステムおよび娯楽施設を提供することである。
【課題を解決するための手段】
【0007】
構成1は、画像が映され、床面に対して立てて設置されるスクリーンと、床面に並べて設置される複数のマーカと、マーカを撮影するカメラを備える複数の射撃デバイスと、少なくとも1つのプロセッサと、を備え、カメラは射撃デバイスの射撃方向とは異なる向きに設置され、少なくとも1つのプロセッサは、複数の射撃デバイスのそれぞれについて、カメラで撮影されたマーカの画像に基づいて、カメラの位置および向きに対応する、射撃デバイスの射撃方向と、スクリーンとの交点に対応する仮想空間の座標を算出し、それぞれの射撃デバイスへの操作入力および仮想空間の座標を用いて、射撃ゲームを実行させる、射撃ゲームシステムである。
【0008】
構成1によれば、床面に配置されたマーカを撮影した撮影画像に基づいて複数の射撃デバイスのそれぞれが指示する正面スクリーン上の交点を算出するので、複数のプレイヤがスクリーンのどこを射撃したかを識別することができる。したがって、複数のプレイヤが同時に射撃ゲームをプレイする場合であっても、各プレイヤの射撃を正確に区別することができる。
【0009】
構成2は、構成1において、射撃デバイスを設置する設置場所をさらに備え、複数のマーカはスクリーンと設置場所の間に位置する。
【0010】
構成3は、構成1において、射撃デバイスはバレル部を備え、カメラは、バレル部の先端の内部に、射撃デバイスの斜め下向きに配置される。
(【0011】以降は省略されています)
この特許をJ-PlatPat(特許庁公式サイト)で参照する
関連特許
任天堂株式会社
システム、方法、およびプログラム
20日前
任天堂株式会社
システム、方法、およびプログラム
20日前
任天堂株式会社
射撃ゲームシステムおよび娯楽施設
24日前
任天堂株式会社
システム、方法、およびプログラム
20日前
任天堂株式会社
システム、カメラ、デバイス、および、方法
21日前
任天堂株式会社
プログラム、情報処理システム、および情報処理方法
今日
任天堂株式会社
情報処理方法、情報処理システム、および情報処理プログラム
23日前
任天堂株式会社
情報処理方法、情報処理システム、および情報処理プログラム
23日前
任天堂株式会社
情報処理プログラム、情報処理システム、および情報処理方法
今日
任天堂株式会社
情報処理システム、情報処理プログラム、および情報処理方法
7日前
任天堂株式会社
アタッチメント
28日前
任天堂株式会社
ゲームプログラム、ゲームシステム、ゲーム装置、およびゲーム処理方法
2日前
任天堂株式会社
周辺機器およびシステム
1日前
任天堂株式会社
接続構造および取り付け構造
23日前
任天堂株式会社
通信プログラム、通信端末および方法
1か月前
任天堂株式会社
ゲーム進行補助システム、ゲーム進行補助プログラム、ゲーム進行補助方法、および娯楽施設
7日前
任天堂株式会社
ゲームコントローラ、ゲームコントローラセットおよびシステム
28日前
任天堂株式会社
情報処理装置、情報処理方法、情報処理プログラム、および情報処理システム
6日前
個人
玩具
1か月前
個人
玩具
4か月前
個人
自走玩具
1か月前
個人
ゲーム玩具
5か月前
個人
運動補助具
3か月前
個人
打撃練習用具
14日前
株式会社三共
遊技機
1か月前
株式会社三共
遊技機
1か月前
株式会社三共
遊技機
1か月前
株式会社三共
遊技機
1か月前
株式会社三共
遊技機
1か月前
株式会社三共
遊技機
1か月前
株式会社三共
遊技機
21日前
株式会社三共
遊技機
1か月前
株式会社三共
遊技機
1か月前
株式会社三共
遊技機
1か月前
株式会社三共
遊技機
1か月前
株式会社三共
遊技機
1か月前
続きを見る
他の特許を見る