TOP
|
特許
|
意匠
|
商標
特許ウォッチ
Twitter
他の特許を見る
10個以上の画像は省略されています。
公開番号
2025137722
公報種別
公開特許公報(A)
公開日
2025-09-19
出願番号
2025123040,2021112255
出願日
2025-07-23,2021-07-06
発明の名称
通信プログラム、通信端末および方法
出願人
任天堂株式会社
代理人
弁理士法人深見特許事務所
,
個人
主分類
H04W
76/11 20180101AFI20250911BHJP(電気通信技術)
要約
【課題】ペリフェラル端末が複数のアプリケーションで利用されるとともに、当該複数のアプリケーションが異なるセントラル端末で実行され得る環境において、各アプリケーションにおいてペリフェラル端末を好適に利用できるための仕組みを提供する。
【解決手段】通信システムは、第1端末と第2端末とを含む。第2端末は、第1端末で実行されるアプリケーション毎に対応付けられた第1情報をペア情報として記憶する記憶部と、第1端末で実行されるアプリケーションからの要求に応答して、記憶部に記憶された、第1端末で実行されるアプリケーションに対応付けられた第1情報に基づく第2情報を送信する送信部とを含む。第1端末は、実行中のアプリケーションに対応付けられた第3情報と、第2端末から受信した第2情報との比較結果に基づいて、第2端末とのデータ通信に係る処理を決定する決定部を含む。
【選択図】図5
特許請求の範囲
【請求項1】
1または複数のアプリケーションを実行する第1端末と、
無線通信により前記第1端末とデータ通信する第2端末とを備え、
前記第2端末は、
前記第1端末で実行されるアプリケーション毎に対応付けられた第1情報をペア情報として記憶する記憶部と、
前記第1端末で実行されるアプリケーションからの要求に応答して、前記記憶部に記憶された、前記第1端末で実行されるアプリケーションに対応付けられた第1情報に基づく第2情報を送信する送信部とを備え、
前記第1端末は、実行中のアプリケーションに対応付けられた第3情報と、前記第2端末から受信した第2情報との比較結果に基づいて、前記第2端末とのデータ通信に係る処理を決定する決定部を備える、通信システム。
続きを表示(約 930 文字)
【請求項2】
前記第1端末は、ユーザの操作を受け付ける装置と管理サーバとを備える、請求項1に記載の通信システム。
【請求項3】
前記第1端末は、前記ペア情報として用いられる前記第1情報を生成する生成部をさらに備える、請求項2に記載の通信システム。
【請求項4】
前記生成部は、前記管理サーバに設けられている、請求項3に記載の通信システム。
【請求項5】
前記管理サーバは、前記第3情報と前記第2情報と比較する、請求項3または4に記載の通信システム。
【請求項6】
前記第1端末は、前記第2端末と接続すると、当該接続した第2端末のアドレスを記憶する第2記憶部をさらに備える、請求項1~5のいずれか1項に記載の通信システム。
【請求項7】
前記第1端末は、前記第2端末から送信されるアドバタイズを受信して、接続対象の第2端末を検索する検索部をさらに備える、請求項1~6のいずれか1項に記載の通信システム。
【請求項8】
前記第1端末は、受信したアドバタイズの送信元の第2端末のアドレスが前記第2記憶部に記憶されているアドレスに含まれていれば、当該送信元の第2端末と接続処理を開始するとともに、接続後に前記要求を当該第2端末へ送信する、請求項7に記載の通信システム。
【請求項9】
前記第2端末は、複数種類のアドバタイズを送信するように構成されており、
前記第1端末で実行されるアプリケーションの各々は、前記複数種類のアドバタイズのうちアプリケーションに特有の1または複数のアドバタイズを参照するように構成されている、請求項1~8のいずれか1項に記載の通信システム。
【請求項10】
前記複数種類のアドバタイズは、常時送信されるアドバタイズを含み、
前記第1端末で実行されるアプリケーションのうち、前記常時送信されるアドバタイズを参照するように構成されたいずれのアプリケーションも、前記常時送信されるアドバタイズの送信を停止可能に構成される、請求項9に記載の通信システム。
(【請求項11】以降は省略されています)
発明の詳細な説明
【技術分野】
【0001】
本技術は、通信システム、通信装置、通信方法、および通信プログラムに関する。
続きを表示(約 1,400 文字)
【背景技術】
【0002】
情報処理装置がアプリケーションを実行する際に、無線通信によって他の装置とデータをやり取りするような構成が広く実用化されている。例えば、特開2017-34655号公報(特許文献1)は、2つの携帯端末と2つのBLE端末がある通信システムを開示する。この通信システムにおいては、携帯端末をセントラルとし、BLE端末をペリフェラルとして携帯端末とBLE端末とが接続される。
【先行技術文献】
【特許文献】
【0003】
特開2017-34655号公報
【発明の概要】
【発明が解決しようとする課題】
【0004】
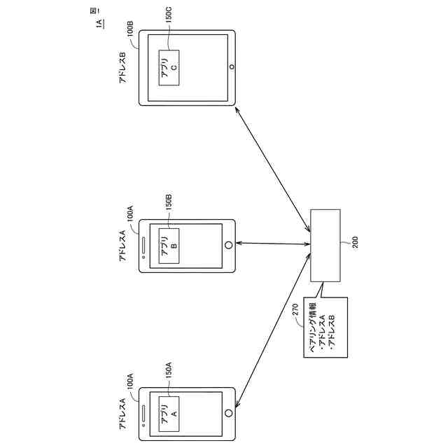
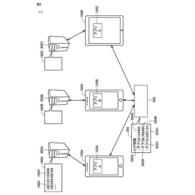
ペリフェラル端末は、セントラル端末で実行されるアプリケーションで利用されることがある。ここで、あるペリフェラル端末を、複数種類のアプリケーションで利用することが考えられる。一方で、当該ペリフェラル端末を利用する複数のアプリケーションは、同じセントラル端末で実行されるとは限らない。
【0005】
本技術は、ペリフェラル端末が複数のアプリケーションで利用されるとともに、当該複数のアプリケーションが異なるセントラル端末で実行され得る環境において、各アプリケーションにおいてペリフェラル端末を好適に利用できるための仕組みを提供する。
【課題を解決するための手段】
【0006】
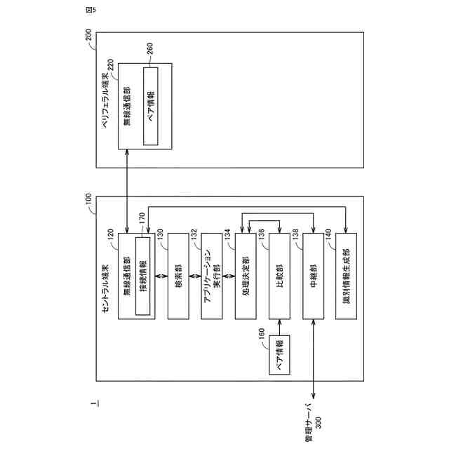
ある実施の形態に従う通信システムは、1または複数のアプリケーションを実行する第1端末と、無線通信により第1端末とデータ通信する第2端末とを含む。第2端末は、第1端末で実行されるアプリケーション毎に対応付けられた第1情報をペア情報として記憶する記憶部と、第1端末で実行されるアプリケーションからの要求に応答して、記憶部に記憶された、第1端末で実行されるアプリケーションに対応付けられた第1情報に基づく第2情報を送信する送信部とを含む。第1端末は、実行中のアプリケーションに対応付けられた第3情報と、第2端末から受信した第2情報との比較結果に基づいて、第2端末とのデータ通信に係る処理を決定する決定部を含む。
【0007】
この構成によれば、1または複数の第1端末で様々なアプリケーションが実行される場合であっても、各アプリケーションに対応付けられた第2端末との間で適切なデータ通信を行うことができる。第2端末は、第1端末で実行されるアプリケーションに対応付けられた識別情報をペア情報として記憶するので、第1端末で実行されるアプリケーションと第2端末との間でデータ通信を開始するのに必要な処理を簡素化できる。
【0008】
第1端末は、ユーザの操作を受け付ける装置と管理サーバとを含んでいてもよい。この構成によれば、第1端末に必要なリソース(記憶容量およびプロセッサリソース)を適切に設計できる。
【0009】
第1端末は、ペア情報として用いられる第1情報を生成する生成部をさらに含んでいてもよい。この構成によれば、第1端末と第2端末とが接続されたときに、第1端末から第
2端末に対して、ペア情報に必要な第1情報を提供できる。
【0010】
生成部は、管理サーバに設けられていてもよい。この構成によれば、ペア情報に必要な第1情報の生成を管理サーバで一元的に処理できる。
(【0011】以降は省略されています)
この特許をJ-PlatPat(特許庁公式サイト)で参照する
関連特許
任天堂株式会社
システム、方法、およびプログラム
17日前
任天堂株式会社
システム、方法、およびプログラム
17日前
任天堂株式会社
システム、方法、およびプログラム
17日前
任天堂株式会社
射撃ゲームシステムおよび娯楽施設
21日前
任天堂株式会社
システム、カメラ、デバイス、および、方法
18日前
任天堂株式会社
情報処理方法、情報処理システム、および情報処理プログラム
20日前
任天堂株式会社
情報処理方法、情報処理システム、および情報処理プログラム
20日前
任天堂株式会社
情報処理システム、情報処理プログラム、および情報処理方法
4日前
任天堂株式会社
アタッチメント
25日前
任天堂株式会社
ゲームコントローラ
2か月前
任天堂株式会社
接続構造および取り付け構造
20日前
任天堂株式会社
情報処理システム、情報処理プログラム、情報処理方法、および情報処理装置
1か月前
任天堂株式会社
通信プログラム、通信端末および方法
1か月前
任天堂株式会社
ゲーム進行補助システム、ゲーム進行補助プログラム、ゲーム進行補助方法、および娯楽施設
4日前
任天堂株式会社
ゲームプログラム、ゲームシステム、およびゲーム処理方法
1か月前
任天堂株式会社
ゲームコントローラ、ゲームコントローラセットおよびシステム
25日前
任天堂株式会社
情報処理装置、情報処理方法、情報処理プログラム、および情報処理システム
3日前
個人
監視カメラシステム
5日前
個人
店内配信予約システム
3か月前
キーコム株式会社
光伝送線路
6日前
サクサ株式会社
中継装置
3か月前
WHISMR合同会社
収音装置
1か月前
サクサ株式会社
中継装置
11日前
個人
スキャン式車載用撮像装置
5日前
サクサ株式会社
中継装置
12日前
キヤノン株式会社
電子機器
3か月前
キヤノン株式会社
撮像装置
1か月前
アイホン株式会社
電気機器
1か月前
株式会社リコー
画像形成装置
2か月前
キヤノン電子株式会社
画像読取装置
1か月前
株式会社リコー
画像形成装置
1か月前
キヤノン電子株式会社
モバイル装置
3か月前
サクサ株式会社
無線通信装置
11日前
サクサ株式会社
無線システム
10日前
サクサ株式会社
無線通信装置
11日前
個人
ワイヤレスイヤホン対応耳掛け
1か月前
続きを見る
他の特許を見る