TOP
|
特許
|
意匠
|
商標
特許ウォッチ
Twitter
他の特許を見る
公開番号
2025142657
公報種別
公開特許公報(A)
公開日
2025-10-01
出願番号
2024042136
出願日
2024-03-18
発明の名称
アンギュラー加工装置
出願人
有限会社BMエンジニアリング
,
株式会社ニッショウテクノス
代理人
個人
,
個人
主分類
B26D
1/153 20060101AFI20250924BHJP(切断手工具;切断;切断機)
要約
【課題】幅や厚みが数cm程度の小さな素材であっても高精度にアンギュラー加工することが可能なアンギュラー加工装置の提供。
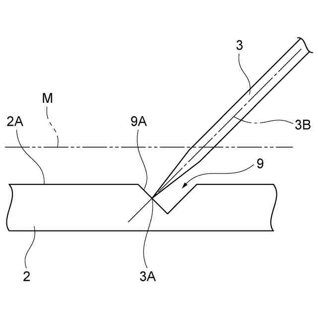
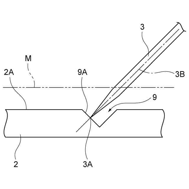
【解決手段】アンギュラー加工装置1は、被加工物Mが載置される載置台2と、被加工物Mをカットする回転刃3であり、当該回転刃3の回転軸が被加工物Mの厚み方向に対して斜め方向に支持され、当該回転刃3の刃先3Aの回転面3Bに対して平行かつ載置台2の上面2Aに対して平行にスライド可能に支持された回転刃3と、載置台2上に回転刃3のスライド方向に形成され、回転刃3の刃先3Aが通る溝部9であり、刃先3Aと突き合う面9Aが回転刃3の刃先3Aの回転面3Bに直交する面である溝部9とを有する。
【選択図】図3
特許請求の範囲
【請求項1】
被加工物が載置される載置台と、
前記被加工物をカットする円形の回転刃であり、当該回転刃の回転軸が前記被加工物の厚み方向に対して斜め方向に支持され、当該回転刃の刃先の回転面に対して平行かつ前記載置台の上面に対して平行にスライド可能に支持された回転刃と、
前記載置台上に前記回転刃のスライド方向に形成され、前記回転刃の刃先が通る溝部であり、前記刃先と突き合う面が前記回転刃の刃先の回転面に直交する面である溝部と
を有するアンギュラー加工装置。
続きを表示(約 140 文字)
【請求項2】
ガイドレールと、前記ガイドレールに沿ってスライドするスライダーとから構成されるリニアガイドであり、前記回転刃の回転軸をスライド可能に支持するリニアガイドと、
前記スライダーをスライドさせるための把手と
を有する請求項1記載のアンギュラー加工装置。
発明の詳細な説明
【技術分野】
【0001】
本発明は、ウレタンフォームやゴムスポンジ等の素材をその厚み方向に斜めにカットするアンギュラー加工装置に関する。
続きを表示(約 1,600 文字)
【背景技術】
【0002】
ウレタンフォームやゴムスポンジなどの加工方法の一つとして、素材の厚み方向に斜めにカットするアンギュラー加工がある。アンギュラー加工には、斜め加工専用機であるテーパースライサー(非特許文献1参照。)やテーパースライサー(非特許文献2参照。)などの加工装置が用いられる。
【先行技術文献】
【非特許文献】
【0003】
“アンギュラーカッター”,[online],株式会社甲南,[令和6年2月14日検索],インターネット<URL:https://www.kounan.ne.jp/equipment.html>
“テーパースライサー”,[online],株式会社アイシン産業,[令和6年2月14日検索],インターネット<URL:https://www.aishin-net.co.jp/method_cut.html>
【発明の概要】
【発明が解決しようとする課題】
【0004】
上記従来の加工装置は1000mm×2000mm程度の大きな素材でも加工できるように大型の装置となっており、加工精度も低く、小さな素材の加工には不向きである。
そこで、本発明においては、幅や厚みが数cm程度の小さな素材であっても高精度にアンギュラー加工することが可能なアンギュラー加工装置を提供することを目的とする。
【課題を解決するための手段】
【0005】
本発明のアンギュラー加工装置は、被加工物が載置される載置台と、被加工物をカットする円形の回転刃であり、当該回転刃の回転軸が被加工物の厚み方向に対して斜め方向に支持され、当該回転刃の刃先の回転面に対して平行かつ載置台の上面に対して平行にスライド可能に支持された回転刃と、載置台上に回転刃のスライド方向に形成され、回転刃の刃先が通る溝部であり、刃先と突き合う面が回転刃の刃先の回転面に直交する面である溝部とを有するものである。
【0006】
本発明のアンギュラー加工装置によれば、載置台上に被加工物を載置した状態で回転刃をスライドさせると、回転刃の刃先が溝部を通りながら載置台上の被加工物をその厚み方向に対して斜めにカット(アンギュラー加工)する。このとき、回転刃の刃先と突き合う溝部の面が回転刃の刃先の回転面に直交する面であるため、被加工物に対して斜め方向に入る刃先の角度が振れることなく安定する。
【0007】
また、本発明のアンギュラー加工装置は、ガイドレールと、ガイドレールに沿ってスライドするスライダーとから構成されるリニアガイドであり、回転刃の回転軸をスライド可能に支持するリニアガイドと、スライダーをスライドさせるための把手とを有するものであることが望ましい。これにより、把手を掴んでスライダーをガイドレールに沿ってスライドさせることで、載置台上に載置した被加工物をアンギュラー加工することが可能となる。
【発明の効果】
【0008】
本発明のアンギュラー加工装置によれば、被加工物に対して斜め方向に入る刃先の角度が振れることなく安定するため、幅や厚みが数cm程度の小さな素材を高精度にアンギュラー加工することが可能となる。
【図面の簡単な説明】
【0009】
本発明の実施の形態におけるアンギュラー加工装置の正面図である。
図1のX-X断面図である。
図2のA部拡大図である。
【発明を実施するための形態】
【0010】
図1は本発明の実施の形態におけるアンギュラー加工装置の正面図、図2は図1のX-X断面図、図3は図2のA部拡大図である。
(【0011】以降は省略されています)
この特許をJ-PlatPat(特許庁公式サイト)で参照する
関連特許
個人
ハサミ
3か月前
個人
理美容はさみ
2か月前
株式会社和田機械
栗切り機の刃物
1か月前
やおき工業株式会社
鋏
3か月前
個人
自動曲機とそれに使用する刃物
7日前
デュプロ精工株式会社
加工装置
2か月前
株式会社日本キャリア工業
食料切断装置
3か月前
株式会社日本キャリア工業
食料切断装置
3か月前
株式会社日本キャリア工業
食料切断装置
3か月前
独立行政法人 国立印刷局
打ち抜き装置
1か月前
株式会社日本キャリア工業
食料切断装置
3か月前
株式会社日本キャリア工業
食料切断装置
3か月前
船井電機株式会社
電動器具
2か月前
THESTANDBYME合同会社
鋏
3か月前
近畿刃物工業株式会社
切断加工用刃物
3か月前
近畿刃物工業株式会社
切断加工用刃物
4か月前
近畿刃物工業株式会社
切断加工用刃物
4か月前
本田技研工業株式会社
切断装置
3日前
株式会社 ベアック
切断装置
7日前
グラフテック株式会社
カッティングプロッタ
1か月前
第一高周波工業株式会社
切込形成装置
3か月前
株式会社島精機製作所
保護板を備えた裁断機
3か月前
THESTANDBYME合同会社
毛すき鋏
3か月前
株式会社前川製作所
食肉切断装置
3か月前
株式会社 ベアック
切断装置及び切断方法
3か月前
シンフォニアテクノロジー株式会社
スライス装置
1か月前
シンフォニアテクノロジー株式会社
スライス装置
1か月前
個人
電動丸ノコに装着するルーローの三角型丸ノコ片刃
2か月前
ACS株式会社
カッティング装置及びその制御方法
1か月前
トヨタ自動車株式会社
電極体の切断装置
3か月前
旭マシナリー株式会社
ロータリーカッター装置
26日前
FCLコンポーネント株式会社
カッターユニット
3か月前
株式会社プロテリアル
せん断加工面を有する非晶質合金積層体
2か月前
株式会社ホリゾン
断裁装置および断裁方法
1か月前
TOWA株式会社
切断装置及び切断品の製造方法
1か月前
株式会社タカトリ
裁断機、裁断方法、及び裁断プログラム
4か月前
続きを見る
他の特許を見る