TOP
|
特許
|
意匠
|
商標
特許ウォッチ
Twitter
他の特許を見る
10個以上の画像は省略されています。
公開番号
2025092300
公報種別
公開特許公報(A)
公開日
2025-06-19
出願番号
2023208101
出願日
2023-12-08
発明の名称
保護板を備えた裁断機
出願人
株式会社島精機製作所
代理人
個人
主分類
B26D
7/22 20060101AFI20250612BHJP(切断手工具;切断;切断機)
要約
【課題】外部から裁断エリアへの侵入を防いで、不要な侵入行為による裁断停止を避け、侵入時には確実に検出して、裁断機の運転を停止し、安全を図ることを可能にする保護板を備えた裁断機を提供する。
【解決手段】保護板3は、裁断時に、少なくとも操作部12が設けられる裁断テーブル10の一側方に立てて、外部から裁断エリア10aへの侵入を防ぐ保護状態となる。保護状態は、容易に境界を視認することができるので、外部から裁断エリア10aへの侵入を防いで裁断停止を避け、侵入時には保護板3の移動などにより確実に検出して、裁断停止により安全を図る。
【選択図】図1
特許請求の範囲
【請求項1】
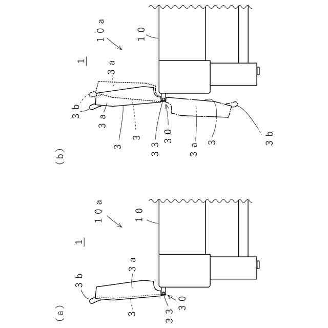
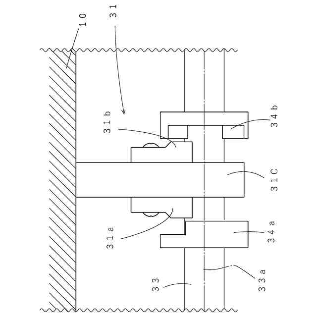
大略的に矩形の裁断テーブル上に載置される被裁断材に対し、裁断テーブルの表面に沿って移動する裁断刃で裁断する裁断エリア)への外部からの侵入を防ぐための保護板を備えた裁断機において、
保護板は、少なくとも操作を行う側となる裁断テーブルの一側方に配置され、
保護板を、
少なくとも裁断時に、裁断エリアへの侵入を防ぐように立てる保護状態とし、
裁断エリアへの侵入を許容する開放状態に切替え可能な、切替え機構と、
保護板への外部からの作用を検出する検出手段と、
検出手段による外部からの作用検出に応答し、裁断停止または裁断低速化を含む保護動作を行う、保護手段とを、
含むことを特徴とする保護板を備えた裁断機。
続きを表示(約 530 文字)
【請求項2】
前記検出手段が検出する外部からの作用は、前記保護板の移動であり、
前記保護手段は、検出手段が検出する保護板の移動の状態に応じて前記保護動作を行う、
ことを特徴とする請求項1記載の保護板を備えた裁断機。
【請求項3】
前記検出手段は、前記保護板の移動を、揺動軸まわりの保護板の揺動として検出し、
前記保護手段)は、前記裁断エリアに侵入する方向の揺動を検出手段が検出すると、前記保護動作を行う、
ことを特徴とする請求項2記載の保護板を備えた裁断機。
【請求項4】
前記切替え機構は、
前記保護板を昇降させ、
上昇させて前記保護状態、
下降させて前記開放状態、
に切替えることを特徴とする請求項1から3までのいずれか一つに記載の保護板を備えた裁断機。
【請求項5】
前記切替え機構は、
前記保護板を、揺動軸まわりに揺動させ、
保護板が揺動軸の上方に立つと前記保護状態、
保護板が揺動軸より下方に下がると前記開放状態、
に切替えることを特徴とする請求項1から3までのいずれか一つに記載の保護板を備えた裁断機。
発明の詳細な説明
【技術分野】
【0001】
本発明は、裁断機の裁断エリアへの侵入を防止および検出するための保護板を備えた裁断機に関する。
続きを表示(約 1,700 文字)
【背景技術】
【0002】
従来から、裁断機では、裁断テーブル上に被裁断材を載置し、裁断テーブルの表面に沿って裁断刃を移動させながら、被裁断材から目的のパーツを切り抜くように裁断している。裁断中、裁断が行われる裁断エリアに人体などが侵入すると危険である。そのような侵入を検出すると、裁断を停止することで危険を避ける裁断機も知られている(たとえば、特許文献1参照)。この裁断機では、光学的に侵入を検出するためにライトカーテンを使用する。特許文献1の実施例には、ライトカーテンを、裁断テーブルの周囲に昇降する保護板と併用するものもある。この実施例では、ライトカーテンを、保護板の上方に延長するように形成し、保護板で侵入を防止し、ライトカーテンで侵入検出から裁断機の裁断停止を行っている。
【先行技術文献】
【特許文献】
【0003】
米国特許公開第2022/274279号公報
【発明の概要】
【発明が解決しようとする課題】
【0004】
特許文献1のような光学的な侵入検出は、侵入禁止となる裁断エリアの境界で行われ、人体の一部などが境界を越えると検出される。しかしながら、たとえば可視光線を使用するライトカーテンであっても、光路の途中では視認することが困難である。不注意などによる不要な侵入行為であっても、実際に境界を越えないと、光路が遮られたか否かが判らず、一旦、光路が遮られると、それ以上の侵入がなくても、侵入検出として裁断が停止されて、裁断効率が低下してしまう。
【0005】
本発明の目的は外部から裁断エリアへの侵入を防いで、不要な進入行為による裁断停止を避け、侵入時には確実に検出して、裁断機の運転を停止し、安全を図ることを可能にする保護板を備えた裁断機を提供することである。
【課題を解決するための手段】
【0006】
本発明は、大略的に矩形の裁断テーブル上に載置される被裁断材に対し、裁断テーブルの表面に沿って移動する裁断刃で裁断する裁断エリアへの外部からの侵入を防ぐための保護板を備えた裁断機において、
保護板は、少なくとも操作を行う側となる裁断テーブルの一側方に配置され
、
保護板を、
少なくとも裁断時に、裁断エリアへの侵入を防ぐように立てる保護状態とし
、
裁断エリアへの侵入を許容する開放状態に切替え可能な、切替え機構と、
保護板への外部からの作用を検出する検出手段と、
検出手段による外部からの作用検出に応答し、裁断停止または裁断低速化を含む保護動作を行う、保護手段とを
、
含むことを特徴とする保護板を備えた裁断機である。
【0007】
また本発明で、前記検出手段が検出する外部からの作用は、前記保護板の移動であり
、
前記保護手段は、検出手段が検出する保護板の移動の状態に応じて前記保護動作を行う
、
ことを特徴とする。
。
【0008】
また本発明で、前記検出手段は、前記保護板の移動を、揺動軸まわりの保護板の揺動として検出し、
前記保護手段は、前記裁断エリアに侵入する方向の揺動を検出手段が検出すると、前記裁断停止を含む保護動作を行う、
ことを特徴とする。
【0009】
また本発明で、前記切替え機構は、
前記保護板を昇降させ、
上昇させて前記保護状態、
下降させて前記開放状態、
に切替えることを特徴とする。
【0010】
また本発明で、前記切替え機構は、
前記保護板を、揺動軸まわりに揺動させ、
保護板が揺動軸の上方に立つと前記保護状態、
保護板が揺動軸より下方に下がると前記開放状態、
に切替えることを特徴とする。
【発明の効果】
(【0011】以降は省略されています)
この特許をJ-PlatPat(特許庁公式サイト)で参照する
関連特許
個人
ハサミ
3か月前
個人
曲線カッター
1日前
個人
円弧状刃の包丁
6か月前
個人
理美容はさみ
3か月前
株式会社サボテン
鋏
5か月前
株式会社和田機械
栗切り機の刃物
1か月前
やおき工業株式会社
鋏
3か月前
株式会社フタミ
表面処理装置
5か月前
個人
自動曲機とそれに使用する刃物
9日前
デュプロ精工株式会社
加工装置
2か月前
船井電機株式会社
電動器具
2か月前
独立行政法人 国立印刷局
打ち抜き装置
1か月前
株式会社日本キャリア工業
食料切断装置
3か月前
株式会社日本キャリア工業
食料切断装置
3か月前
株式会社日本キャリア工業
食料切断装置
3か月前
株式会社日本キャリア工業
食料切断装置
3か月前
株式会社日本キャリア工業
食料切断装置
3か月前
株式会社日本キャリア工業
食料切断装置
4か月前
近畿刃物工業株式会社
切断加工用刃物
4か月前
近畿刃物工業株式会社
切断加工用刃物
4か月前
近畿刃物工業株式会社
切断加工用刃物
3か月前
THESTANDBYME合同会社
鋏
3か月前
本田技研工業株式会社
切断装置
5日前
株式会社ホリゾン
断裁装置
6か月前
株式会社 ベアック
切断装置
9日前
有限会社 武藤設計
板状ワークの切断装置
1日前
株式会社カネシゲ刃物
抜け止め防止付き刃物の鞘
6か月前
第一高周波工業株式会社
切込形成装置
4か月前
THESTANDBYME合同会社
毛すき鋏
3か月前
株式会社島精機製作所
保護板を備えた裁断機
3か月前
グラフテック株式会社
カッティングプロッタ
1か月前
株式会社ミマキエンジニアリング
媒体切断装置
6か月前
株式会社前川製作所
食肉切断装置
3か月前
シンフォニアテクノロジー株式会社
スライス装置
1か月前
シンフォニアテクノロジー株式会社
スライス装置
1か月前
株式会社 ベアック
切断装置及び切断方法
3か月前
続きを見る
他の特許を見る