TOP
|
特許
|
意匠
|
商標
特許ウォッチ
Twitter
他の特許を見る
10個以上の画像は省略されています。
公開番号
2025086606
公報種別
公開特許公報(A)
公開日
2025-06-09
出願番号
2023200698
出願日
2023-11-28
発明の名称
切込形成装置
出願人
第一高周波工業株式会社
代理人
個人
,
個人
主分類
B26D
1/18 20060101AFI20250602BHJP(切断手工具;切断;切断機)
要約
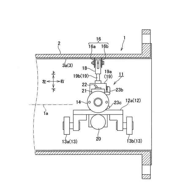
【課題】安全かつ作業性良く被膜の切込作業を行うことを可能とし、内被膜と外被膜のいずれにも、また、管の軸方向と周方向のどちらへも切り込みを形成することが可能な切込形成装置を得る。
【解決手段】ライニング管の被膜に切り込みを形成する切込刃16と、前後左右に車輪を有し前後方向に走行可能な台車部12と、切込刃を台車部の上方位置に支持高さを変更可能に支持すると共に上方へ付勢する切込刃支持部17とを備えた。切込刃として、切込刃支持部により回転可能に支持され、一定の間隔を隔てて左右方向に配置された2枚の円板状の回転刃16a,16bを備えることが好ましい。
【選択図】図1
特許請求の範囲
【請求項1】
ライニング管の被膜に切り込みを形成する切込刃と、
前後左右に車輪を有し前後方向に走行可能な台車部と、
前記切込刃を、前記台車部の上方位置に支持高さを変更可能に支持するとともに上方へ付勢する、切込刃支持部と、
を備えたことを特徴とする切込形成装置。
続きを表示(約 990 文字)
【請求項2】
前記切込刃は、前記切込刃支持部により回転可能に支持された円板状の回転刃である
請求項1に記載の切込形成装置。
【請求項3】
前記回転刃として、一定の間隔を隔てて左右方向に配置された2枚の回転刃を備えた
請求項2に記載の切込形成装置。
【請求項4】
前記切込刃支持部は、前記2枚の回転刃の間隔を変更する刃間調整機構を有する
請求項3に記載の切込形成装置。
【請求項5】
前記台車部は、前記車輪として、左前輪、右前輪、左後輪および右後輪を有し、
前記切込刃は、上下方向から見たときに、前記左前輪、右前輪、左後輪および右後輪より前記台車部の中心に近い位置に配置されている
請求項1に記載の切込形成装置。
【請求項6】
前記切込刃支持部は、
前記切込刃の上下方向に関する配置位置を変更できるように前記切込刃を支持するエアシリンダと、
前記エアシリンダを駆動するエアが充填されたボンベと、
前記ボンベに充填されたエアを前記エアシリンダに対して供給するとともに上下方向に関する前記エアシリンダの駆動方向を切り替えるエア回路と、
を有する
請求項1に記載の切込形成装置。
【請求項7】
前記台車部を走行させる竿状のハンドル棒を備えた
請求項1から6のいずれか一項に記載の切込形成装置。
【請求項8】
前記台車部は、前記車輪として、左前輪、右前輪、左後輪および右後輪を有し、
前記切込刃は、上下方向から見たときに、前記左前輪、右前輪、左後輪および右後輪より前記台車部の中心に近い位置に配置され、
前記切込刃支持部は、
前記切込刃の上下方向に関する配置位置を変更できるように前記切込刃を支持するエアシリンダと、
前記エアシリンダを駆動するエアが充填されたボンベと、
前記ボンベに充填されたエアを前記エアシリンダに対して供給するとともに上下方向に関する前記エアシリンダの駆動方向を切り替えるエア回路と、
を有し、
前記切込形成装置は、前記台車部を走行させる竿状のハンドル棒を備えている
請求項3または4に記載の切込形成装置。
発明の詳細な説明
【技術分野】
【0001】
本発明は、切込形成装置に係り、特に、ライニング鋼管など被膜を備えた管状部材を再生するときに古くなった被膜に切り込みを入れて剥離しやすくする装置に関する。
続きを表示(約 1,200 文字)
【背景技術】
【0002】
鋼管等の金属管の表面(内面や外面)にポリエチレン、ポリプロピレン等のポリオレフィン、並びに塩化ビニル等の樹脂材料や、ゴム材料を定着させることにより被膜を形成したライニング管が様々な産業分野で使用されている。
【0003】
例えば、ポリエチレン粉体を鋼管の表面に熱融着して被膜を形成したポリエチレン粉体ライニング鋼管(PEL)は、被膜の化学的・物理的安定性や加工のしやすさ等の優れた特長を有することから、防食鋼管として各種流体の輸送用配管として用いられている。
【0004】
また近年、資源の循環利用や環境負荷軽減の観点から、ライニング管の再利用が図られている。再利用にあたっては、経年使用により劣化した古い被膜を剥がし、新しい被膜を形成し直すことによりライニング管を再生する。
【0005】
また、ライニング管から被膜を剥離する技術を開示する文献として下記特許文献1がある。
【先行技術文献】
【特許文献】
【0006】
特開2001-191330号公報
【発明の概要】
【発明が解決しようとする課題】
【0007】
ところで、ライニング管から古い被膜を剥がすときには従来、被膜を分割するようにカッターナイフで被膜に切り込みを入れる作業を行っていた。被膜を剥がしやすくするためである。
【0008】
一方、このような切込作業は、安全性や作業性の点で改善の余地がある。カッターナイフを使用する作業は怪我の危険を伴ううえ、多大な労力を要するからである。また、管の口径や長さによっては手が届かず、切り込みを入れることが出来ない場合もある。
【0009】
他方、前記特許文献1には、管内面に形成された被膜(本願ではこれを「内被膜」と言う)に切り込みを入れる器具が開示されている(同文献の図面の図6、明細書の段落[0062]~[0067]参照)。しかしながら当該器具は、上下2枚の刃で管内に器具が支持されているだけであるから、管軸方向に安定して器具を走行させ、作業性良く切込作業を行うことは必ずしも容易ではない。
【0010】
また、この器具では管外面に形成されている被膜(本願ではこれを「外被膜」と言う)に切り込みを入れることは出来ない。なお、特許文献1には、外被膜に切り込みを入れる別の器具が示されているが(同文献の図面の図8、明細書の段落[0068]参照)、内被膜と外被膜とで別々の器具を用意し使用しなければならない煩わしさがある。さらに、特許文献1の図6に示された器具と、同文献の図8に示された器具はいずれも、管の周方向に切り込みを入れることは出来ない。
(【0011】以降は省略されています)
この特許をJ-PlatPat(特許庁公式サイト)で参照する
関連特許
個人
ハサミ
3か月前
個人
テープカッター
11か月前
個人
円弧状刃の包丁
6か月前
個人
理美容はさみ
2か月前
有限会社カルチエ
ナイフ
9か月前
株式会社サボテン
鋏
5か月前
個人
折り畳みナイフ
9か月前
個人
剃刀具
11か月前
個人
2wayコーナーパンチ
7か月前
コクヨ株式会社
ハサミ
9か月前
株式会社和田機械
栗切り機の刃物
1か月前
株式会社文創
切創抑制器具
10か月前
やおき工業株式会社
鋏
3か月前
個人
自動曲機とそれに使用する刃物
8日前
株式会社フタミ
表面処理装置
5か月前
トヨタ自動車株式会社
切断装置
8か月前
第一精工株式会社
ナイフ
11か月前
デュプロ精工株式会社
加工装置
2か月前
大創株式会社
打抜き部受支装置
10か月前
株式会社日本キャリア工業
食料切断装置
3か月前
株式会社日本キャリア工業
食料切断装置
4か月前
株式会社日本キャリア工業
食料切断装置
3か月前
株式会社日本キャリア工業
食料切断装置
3か月前
株式会社日本キャリア工業
食料切断装置
3か月前
船井電機株式会社
電動器具
2か月前
株式会社日本キャリア工業
食料切断装置
3か月前
独立行政法人 国立印刷局
打ち抜き装置
1か月前
株式会社日本キャリア工業
食料切断装置
8か月前
デュプロ精工株式会社
用紙積載装置
7か月前
鈴茂器工株式会社
棒状食材切断装置
7か月前
株式会社アストラ
果菜の分割裁断装置
11か月前
本田技研工業株式会社
切断装置
4日前
近畿刃物工業株式会社
切断加工用刃物
3か月前
近畿刃物工業株式会社
切断加工用刃物
4か月前
近畿刃物工業株式会社
切断加工用刃物
4か月前
THESTANDBYME合同会社
鋏
3か月前
続きを見る
他の特許を見る