TOP
|
特許
|
意匠
|
商標
特許ウォッチ
Twitter
他の特許を見る
10個以上の画像は省略されています。
公開番号
2025146218
公報種別
公開特許公報(A)
公開日
2025-10-03
出願番号
2024046879
出願日
2024-03-22
発明の名称
切断装置
出願人
本田技研工業株式会社
代理人
個人
,
個人
主分類
B26D
7/18 20060101AFI20250926BHJP(切断手工具;切断;切断機)
要約
【課題】ワークへの切断カスの落下を防止することができる切断装置の提供。
【解決手段】切断装置1は、載置台5と、ワーク4を載置台5の方向へ押圧するための内周押さえ部6および外周押さえ部7と、押さえ部6,7の間をワーク方向に昇降してワーク4を切断する刃部21と、を備える。刃部21は、刃部21の先端から昇降方向に延伸して内周押さえ部6に対向する第1刃面と、刃部21の先端から延伸して外周押さえ7に対向する第2刃面とを有する。そして、切断装置1は、第1刃面と内周押さえ部6との隙間から刃部21の先端領域に間にブローガスを常に供給するブロー機構(2,81,6)と、第2刃面と外周押さえ部7との隙間を介して、刃部21の先端領域のガスを常に吸引する吸引機構(9,31,21,7)と、を備える。
【選択図】図2
特許請求の範囲
【請求項1】
板状のワークが載置される載置台と、
前記ワークの第1ワーク領域を載置台方向へ押圧するための第1ワーク押さえ部と、
前記第1ワーク押さえ部に対してワーク延在方向に離間して設けられ、前記ワークの第2ワーク領域を載置台方向へ押圧するための第2ワーク押さえ部と、
前記第1ワーク押さえ部と前記第2ワーク押さえ部との間をワーク方向に昇降して、前記ワークを切断する刃部と、を備える切断装置であって、
前記刃部は、前記刃部の先端から昇降方向に延伸して前記第1ワーク押さえ部に対向する第1刃面と、前記刃部の先端から延伸して前記第2ワーク押さえ部に対向する第2刃面とを有し、
前記第1刃面と前記第1ワーク押さえ部との隙間から前記刃部の先端領域に間にブローガスを常に供給するブロー機構と、
前記第2刃面と前記第2ワーク押さえ部との隙間を介して、前記刃部の先端領域のガスを常に吸引する吸引機構と、
を備えることを特徴とする、切断装置。
続きを表示(約 660 文字)
【請求項2】
請求項1に記載の切断装置において、
前記第1ワーク押さえ部は、前記刃部の昇降時に前記第1刃面と所定の第1クリアランスで対向する第1端面を有し、
前記第1クリアランスは、前記刃部の昇降上端位置における前記先端と前記第1ワーク押さえ部との間隔よりも小さく設定されていることを特徴とする、切断装置。
【請求項3】
請求項2に記載の切断装置において、
前記第2ワーク押さえ部は、前記刃部の前記第2刃面と対向する対向面を有し、
前記刃部の昇降下端位置における前記第2刃面と前記対向面との間の第2クリアランスは、前記第1クリアランスより大きいことを特徴とする、切断装置。
【請求項4】
請求項1に記載の切断装置において、
前記ワークを切断する前記刃部は、前記ワークから余剰ワーク領域を除去して製品用ワーク領域を形成すするトリム切断用刃部であって、
前記第1ワーク領域は前記製品用ワーク領域であって、前記第2ワーク領域は前記余剰ワーク領域であることを特徴とする、切断装置。
【請求項5】
請求項1に記載の切断装置において、
前記第1刃面と前記第2刃面との成す角は鋭角に設定されていることを特徴とする、切断装置。
【請求項6】
請求項1に記載の切断装置において、
前記載置台および/又は前記第1ワーク押さえ部に、前記ワークを吸引して吸着する吸着機構を設けたことを特徴とする、切断装置。
発明の詳細な説明
【技術分野】
【0001】
本発明は、切断装置に関する。
続きを表示(約 2,300 文字)
【背景技術】
【0002】
従来、シート状のワークを切断する切断装置が知られている。例えば、特許文献1には、リチウム二次電池の単位電極を製造する工程において電極シートをカットする切断装置が開示されている。
【先行技術文献】
【特許文献】
【0003】
国際公開2022/045828号
【発明の概要】
【発明が解決しようとする課題】
【0004】
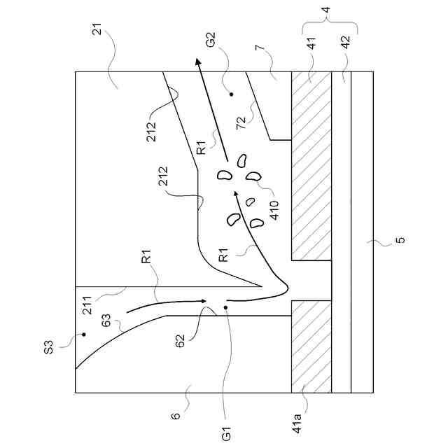
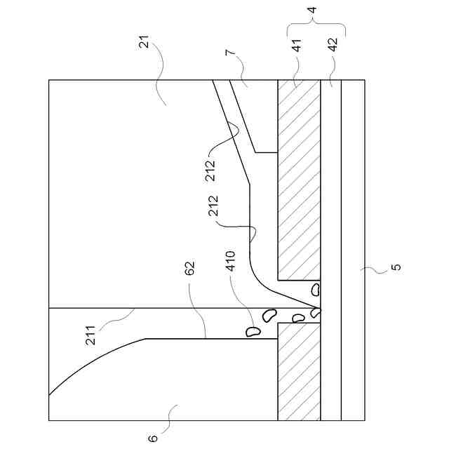
ところで、切断装置でシート状のワークを切断すると、切断をした際にワークの切断カスが発生する場合がある。この切断カスがカッターの刃に付着しワーク上に落下することがある。刃に付着した切断カスが製品として使用するワーク領域に落下した場合には、製品に組み込んだ場合に不良を招くおそれがある。例えば、電解質膜が形成されたCP(カーボンペーパ)材を切断した際に電解質膜上に切断カスが落下すると、切断カスが電解質膜に突き刺さったようになり、ガスを用いたクリーニングを行ったとしても除去が困難な状態となる。
【課題を解決するための手段】
【0005】
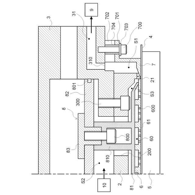
本発明の一態様による切断装置は、板状のワークが載置される載置台と、前記ワークの第1ワーク領域を載置台方向へ押圧するための第1ワーク押さえ部と、前記第1ワーク押さえ部に対してワーク延在方向に離間して設けられ、前記ワークの第2ワーク領域を載置台方向へ押圧するための第2ワーク押さえ部と、前記第1ワーク押さえ部と前記第2ワーク押さえ部との間をワーク方向に昇降して、前記ワークを切断する刃部と、を備える切断装置である。そして、前記刃部は、前記刃部の先端から昇降方向に延伸して前記第1ワーク押さえ部に対向する第1刃面と、前記刃部の先端から延伸して前記第2ワーク押さえ部に対向する第2刃面とを有し、前記第1刃面と前記第1ワーク押さえ部との隙間から前記刃部の先端領域に間にブローガスを常に供給するブロー機構と、前記第2刃面と前記第2ワーク押さえ部との隙間を介して、前記刃部の先端領域のガスを常に吸引する吸引機構と、を備えることを特徴とする。
【発明の効果】
【0006】
本発明によれば、ワークへの切断カスの落下を防止することができる。
【図面の簡単な説明】
【0007】
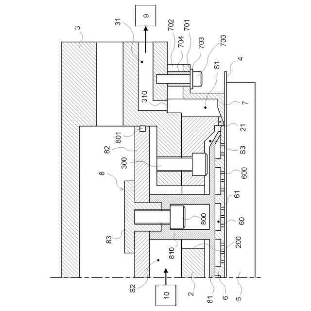
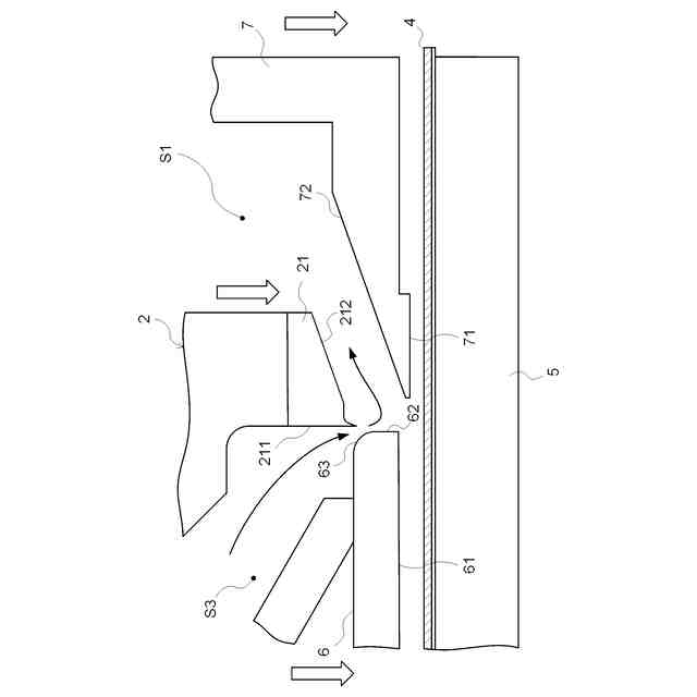
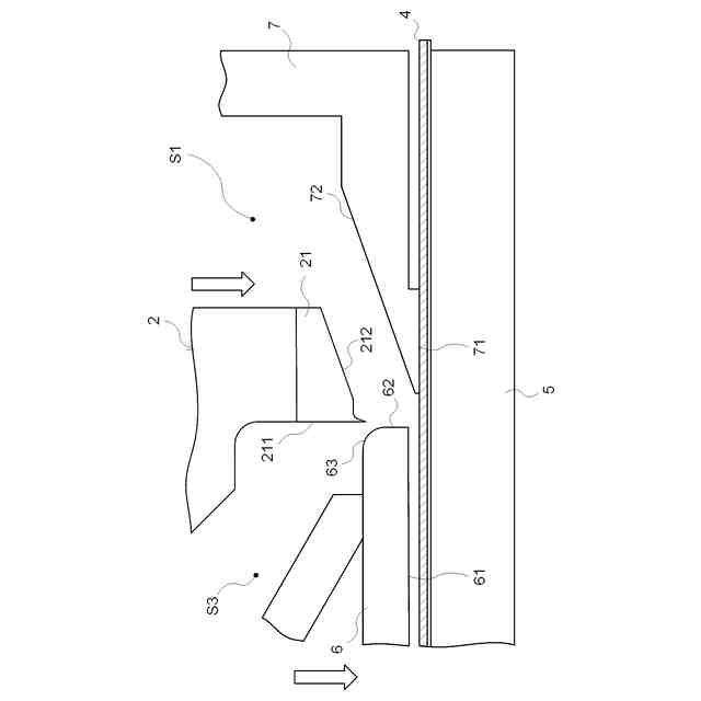
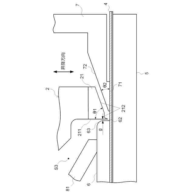
図1は、切断装置でワークを切断する場合の模式図である。
図2は、切断装置の要部構成を示す図である。
図3は、図2の刃部の部分を示す拡大図である。
図4は、刃部が昇降上端位置にある場合の刃部および周囲の構成を示す図である。
図5は、外周押さえ部の下面がワークに接触した状態を示す図であれる。
図6は、内周押さえ部の下面がワークに接触した状態を示す図である。
図7は、刃部が昇降下端位置まで下降したときの状態を示す図である。
図8は、図7に示した切断状態における切断個所の拡大図である。
図9は、図3に示す状態における刃部およびその周囲の拡大図である。
図10は、図5に示す状態における刃部およびその周囲の拡大図である。
図11は、刃部が昇降上端位置まで上昇した状態における刃部およびその周辺の拡大図である。
図12は、ワークの一例を示す図である。
図13は、吸引流路および吸引孔が設けられた載置台を示す図である。
【発明を実施するための形態】
【0008】
以下、図を参照して本発明を実施するための形態について説明する。以下の記載および図面は、本発明を説明するための例示であって、説明の明確化のため、適宜、省略および簡略化がなされている。また、以下の説明では、同一または類似の要素および処理には同一の符号を付し、重複説明を省略する場合がある。なお、以下に記載する内容はあくまでも本発明の実施の形態の一例を示すものであって、本発明は以下の実施の形態に限定されるものではなく、他の種々の形態でも実施をすることが可能である。
【0009】
図1は、切断装置でワークを切断する場合の模式図である。切断装置1は、切断用刃具2が固定された上型3を装着したものである。切断用刃具2の下面にはワーク4を切断するための刃部21が形成されている。ワーク4としては、例えば、燃料電池のガス拡散層に用いられるCP(カーボンペーパ)素材とキャリアフィルムが貼りあわされたシート部材がある。CP層の厚さは数百μm程度であり、キャリアフィルムを含むワーク4の厚さはせいぜい1mm程度である。ワーク4としては、例えば、CP素材上にMPL(Micro Porous Layer)層が設けられているもの、CP素材上のMPL層の上にさらに電極が設けられているもの等がある。ロール状に巻かれたシート状のワーク4が切断装置1の載置台5上に引き出され、切断加工(トリム加工)が行われることにより、ワーク4が切断されて所定形状の製品用CP素材が形成される。
【0010】
以下では、一例として、シート状のワーク4を矩形状にトリム加工する場合について説明するが、加工形状は矩形に限定されるものではない。また、以下の説明では、切断装置1で切断するCP素材のワーク4を例に説明するが、切断するワーク4としては燃料電池のCP素材に限らず、シート状のワークであれば種々のワークが適用できる。
(【0011】以降は省略されています)
この特許をJ-PlatPat(特許庁公式サイト)で参照する
関連特許
本田技研工業株式会社
車両
9日前
本田技研工業株式会社
装置
8日前
本田技研工業株式会社
モータ
5日前
本田技研工業株式会社
通知装置
8日前
本田技研工業株式会社
内燃機関
8日前
本田技研工業株式会社
内燃機関
8日前
本田技研工業株式会社
バッテリ
2日前
本田技研工業株式会社
会話装置
1日前
本田技研工業株式会社
受電装置
3日前
本田技研工業株式会社
車両構造
5日前
本田技研工業株式会社
送電装置
3日前
本田技研工業株式会社
断続装置
3日前
本田技研工業株式会社
保持装置
2日前
本田技研工業株式会社
固体電池
3日前
本田技研工業株式会社
保管装置
3日前
本田技研工業株式会社
保管装置
3日前
本田技研工業株式会社
ステータ
1日前
本田技研工業株式会社
車両構造
5日前
本田技研工業株式会社
バッテリ
2日前
本田技研工業株式会社
電解装置
16日前
本田技研工業株式会社
切断装置
1日前
本田技研工業株式会社
鞍乗型車両
15日前
本田技研工業株式会社
リンク機構
1日前
本田技研工業株式会社
リアクトル
8日前
本田技研工業株式会社
鞍乗り型車両
23日前
本田技研工業株式会社
車両制御装置
17日前
本田技研工業株式会社
潤滑システム
3日前
本田技研工業株式会社
電源システム
3日前
本田技研工業株式会社
鞍乗り型車両
2日前
本田技研工業株式会社
鞍乗り型車両
1日前
本田技研工業株式会社
潤滑システム
15日前
本田技研工業株式会社
車両制御装置
9日前
本田技研工業株式会社
クラッチ装置
24日前
本田技研工業株式会社
放電処理方法
3日前
本田技研工業株式会社
固体二次電池
15日前
本田技研工業株式会社
鞍乗り型車両
1日前
続きを見る
他の特許を見る