TOP
|
特許
|
意匠
|
商標
特許ウォッチ
Twitter
他の特許を見る
10個以上の画像は省略されています。
公開番号
2025129571
公報種別
公開特許公報(A)
公開日
2025-09-05
出願番号
2024026289
出願日
2024-02-26
発明の名称
打ち抜き装置
出願人
独立行政法人 国立印刷局
代理人
主分類
B26F
1/40 20060101AFI20250829BHJP(切断手工具;切断;切断機)
要約
【課題】印刷物から模様面を正確に切り出すことができる打ち抜き装置を提供する。
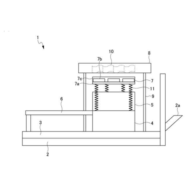
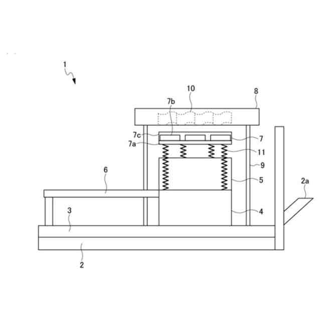
【解決手段】打ち抜き装置1は、用紙束セット部7と、可動部5と、押上部2と、断裁部10と、を備えている。押上部2は、可動部5及び用紙束セット部7を上下方向に移動させる。断裁部10は、用紙束セット部7の上下方向の上方に配置され、用紙束セット部7にセットされた用紙束と対向する。印刷物の模様面を囲む用紙枠と模様面の間には、予め切り込みが形成され、模様面と用紙枠は繋ぎ目により接続されている。断裁部10は、印刷物の用紙枠を押圧する断裁刃を有している。用紙束セット部7は、模様面を支持する支持部7bを有する。
【選択図】図1
特許請求の範囲
【請求項1】
模様面と、前記模様面を囲む用紙枠とを有する印刷物を複数枚重ねた用紙束がセットされる用紙束セット部と、
前記用紙束セット部を支持する可動部と、
前記可動部及び用紙束セット部を上下方向に移動させる押上部と、
前記用紙束セット部の上下方向の上方に配置され、前記用紙束セット部にセットされた前記用紙束と対向する断裁部と、を備え、
前記断裁部は、前記印刷物の前記用紙枠を押圧する断裁刃を有し、
前記用紙束セット部は、前記模様面を支持する支持部を有することを特徴とする打ち抜き装置。
続きを表示(約 62 文字)
【請求項2】
前記断裁刃は、円弧状に凹んで成る刃を有していることを特徴とする請求項1に記載の打ち抜き装置。
発明の詳細な説明
【技術分野】
【0001】
本発明は、打ち抜き装置に関する。
続きを表示(約 1,600 文字)
【背景技術】
【0002】
従来から、模様面が形成された印刷物を複数枚重ねた用紙束から、模様面のみを切り出す技術としては、例えば、特許文献1に記載されているようなものがある。
【0003】
特許文献1には、被断裁物を断裁時に固定するために押圧するクランプと、断裁物を所定の寸法に断裁する断裁刃と、被断裁物を載置するための受台を少なくとも備えた断裁機に関する技術が記載されている。また、クランプは、被断裁物の綴じや背固めの凸部と、被断裁物の凸部以外の被凸部を均一に押圧するための部分減圧手段を備えている。また、部分減圧手段は、クランプに設置可能な機能を備えている。さらに、部分減圧手段は、被断裁物の凸部との接触圧を吸収するための減圧部を備えた上中層と、被断裁物に接する平滑性の高い表面を備えた底層を少なくとも備えている。
【先行技術文献】
【特許文献】
【0004】
特開2022-157939号公報
【発明の概要】
【発明が解決しようとする課題】
【0005】
しかしながら、特許文献1に記載された技術では、用紙間の摩擦力が低いタック紙からなる用紙束を断裁する場合、用紙束をクランプで確実に抑えることが困難であった。そのため、特許文献1に記載された技術では、断裁刃で用紙束を断裁する際に、印刷物がずれて、印刷物から模様面を正確に切り出すことができない、という問題を有していた。
【0006】
本発明の目的は、上記の問題点を考慮し、印刷物から模様面を正確に切り出すことができる打ち抜き装置を提供することにある。
【課題を解決するための手段】
【0007】
上記課題を解決し、本発明の目的を達成するため、打ち抜き装置は、模様面と、模様面を囲む用紙枠とを有する印刷物を複数枚重ねた用紙束がセットされる用紙束セット部と、用紙束セット部を支持する可動部と、可動部及び用紙束セット部を上下方向に移動させる押上部と、用紙束セット部の上下方向の上方に配置され、用紙束セット部にセットされた用紙束と対向する断裁部と、を備え、断裁部は、印刷物の用紙枠を押圧する断裁刃を有し、用紙束セット部は、模様面を支持する支持部を有することを特徴とする。
【0008】
また、本発明の打ち抜き装置は、断裁刃が、円弧状に凹んで成る刃を有していることを特徴とする。
【発明の効果】
【0009】
上記構成の打ち抜き装置によれば、印刷物から模様面を正確に切り出すことができる。
【図面の簡単な説明】
【0010】
本発明の実施の形態例にかかる打ち抜き装置を示す概略構成図である。
本発明の実施の形態例にかかる打ち抜き装置の裁断部を示す斜視図である。
本発明の実施の形態例にかかる打ち抜き装置の裁断部を示す平面図である。
本発明の実施の形態例にかかる打ち抜き装置の裁断部の長裁断刃を示す斜視図である。
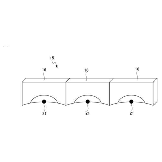
本発明の実施の形態例にかかる打ち抜き装置の裁断部の短裁断刃を示す斜視図である。
短裁断刃を底面側から見た平面図である。
図5に示す短裁断刃の断面図Aである。
図5に示す短裁断刃の断面図Bである。
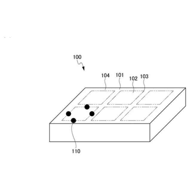
用紙束を示す斜視図である。
本発明の実施の形態例にかかる打ち抜き装置の台座を示す斜視図である。
本発明の実施の形態例にかかる打ち抜き装置の動作を示す図である。
本発明の実施の形態例にかかる打ち抜き装置の動作を示す図である。
本発明の実施の形態例にかかる打ち抜き装置の動作を示す図である。
【発明を実施するための形態】
(【0011】以降は省略されています)
特許ウォッチbot のツイートを見る
この特許をJ-PlatPat(特許庁公式サイト)で参照する
関連特許
個人
ハサミ
3か月前
個人
テープカッター
11か月前
個人
円弧状刃の包丁
6か月前
個人
理美容はさみ
2か月前
有限会社カルチエ
ナイフ
9か月前
株式会社サボテン
鋏
5か月前
個人
折り畳みナイフ
9か月前
個人
剃刀具
11か月前
個人
2wayコーナーパンチ
7か月前
コクヨ株式会社
ハサミ
9か月前
株式会社和田機械
栗切り機の刃物
1か月前
株式会社文創
切創抑制器具
9か月前
やおき工業株式会社
鋏
3か月前
個人
自動曲機とそれに使用する刃物
7日前
株式会社フタミ
表面処理装置
5か月前
トヨタ自動車株式会社
切断装置
8か月前
第一精工株式会社
ナイフ
11か月前
デュプロ精工株式会社
加工装置
2か月前
大創株式会社
打抜き部受支装置
10か月前
株式会社日本キャリア工業
食料切断装置
3か月前
株式会社日本キャリア工業
食料切断装置
4か月前
株式会社日本キャリア工業
食料切断装置
3か月前
株式会社日本キャリア工業
食料切断装置
3か月前
株式会社日本キャリア工業
食料切断装置
3か月前
船井電機株式会社
電動器具
2か月前
株式会社日本キャリア工業
食料切断装置
3か月前
独立行政法人 国立印刷局
打ち抜き装置
1か月前
株式会社日本キャリア工業
食料切断装置
8か月前
デュプロ精工株式会社
用紙積載装置
7か月前
鈴茂器工株式会社
棒状食材切断装置
7か月前
株式会社アストラ
果菜の分割裁断装置
11か月前
本田技研工業株式会社
切断装置
3日前
近畿刃物工業株式会社
切断加工用刃物
3か月前
近畿刃物工業株式会社
切断加工用刃物
4か月前
近畿刃物工業株式会社
切断加工用刃物
4か月前
THESTANDBYME合同会社
鋏
3か月前
続きを見る
他の特許を見る