TOP
|
特許
|
意匠
|
商標
特許ウォッチ
Twitter
他の特許を見る
10個以上の画像は省略されています。
公開番号
2025142755
公報種別
公開特許公報(A)
公開日
2025-10-01
出願番号
2024042286
出願日
2024-03-18
発明の名称
高圧ケーブルの劣化判定方法およびガイダンス装置
出願人
JFEスチール株式会社
代理人
弁理士法人銀座マロニエ特許事務所
主分類
G01R
31/12 20200101AFI20250924BHJP(測定;試験)
要約
【課題】高圧ケーブルについて劣化の種類や箇所まで特定する技術を提供する。
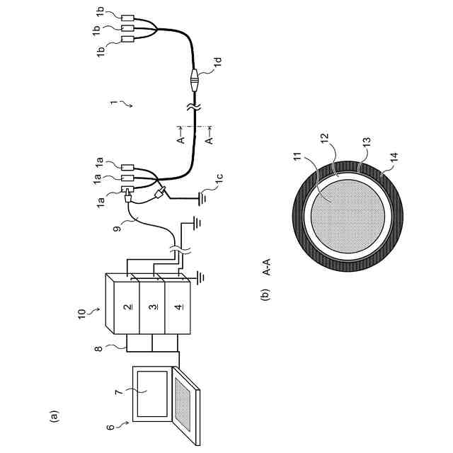
【解決手段】経年劣化した高圧ケーブル1を敷設状態のまま劣化を判定するに際し、高圧ケーブルの導体の両端を電力系統から離線させて、高圧ケーブルに対し水トリー劣化診断装置2、誘電正接診断装置3および部分放電診断装置4のいずれかを接続し、高圧ケーブルに直流電圧を印加した後の放電特性から水トリー劣化の度合いを判定する水トリー診断を行い、高圧ケーブルの誘電正接から劣化の度合いを判定する誘電正接診断を行うにあたり、水トリー診断および誘電正接診断の少なくともいずれか一方で高圧ケーブルに劣化が生じていると診断されたとき、部分放電診断を実施し、部分放電診断で部分放電が検出されない場合はケーブル全体の劣化と判定し、部分放電診断で部分放電が検出された場合はその部分放電診断で特定した部分放電箇所での劣化と判定する。
【選択図】図1
特許請求の範囲
【請求項1】
経年劣化した高圧ケーブルを敷設状態のまま劣化を判定するに際し、
前記高圧ケーブルの導体の両端を電力系統から離線させて、前記高圧ケーブルに対し水トリー劣化診断装置、誘電正接診断装置および部分放電診断装置のうちのいずれかを接続する接続切替工程と、
前記高圧ケーブルに接続した前記水トリー劣化診断装置で直流電圧を印加した後の放電特性から水トリー劣化の度合いを判定する水トリー診断を行う水トリー診断工程と、
前記高圧ケーブルに接続した前記誘電正接診断装置で求めた誘電正接から劣化の度合いを判定する誘電正接診断を行う誘電正接診断工程と、
前記高圧ケーブルに接続した前記部分放電診断装置で部分放電診断を行う部分放電診断工程と、
前記高圧ケーブルの劣化状況を判定する判定工程と、
を含み、
前記水トリー診断および前記誘電正接診断の少なくともいずれか一方で高圧ケーブルに劣化が生じていると診断されたとき、前記部分放電診断工程を実施し、
前記判定工程では、前記部分放電診断で部分放電が検出されない場合はケーブル全体の劣化と判定し、前記部分放電診断で部分放電が検出された場合はその部分放電診断で特定した部分放電箇所での劣化と判定する、
高圧ケーブルの劣化判定方法。
続きを表示(約 1,400 文字)
【請求項2】
前記水トリー診断工程では、前記高圧ケーブルの定格電圧より低い直流電圧を印加すること、
前記誘電正接診断工程では、商用周波数より低い周波数の交流電流を供給して誘電正接を測定すること、および、
前記部分放電診断工程では、前記高圧ケーブルに減衰振動する電圧を印加することにより発生する部分放電を検出すること、
のうちの少なくとも一を選択する、
請求項1に記載の高圧ケーブルの劣化判定方法。
【請求項3】
前記判定工程では、前記水トリー診断および前記誘電正接診断のいずれも高圧ケーブルの劣化が生じていないと診断されたとき、前記高圧ケーブルの使用を継続することを判定する、
請求項1または2に記載の高圧ケーブルの劣化判定方法。
【請求項4】
経年劣化した高圧ケーブルを敷設状態のまま劣化を判定しガイダンスを行うガイダンス装置であって、
前記高圧ケーブルに接続して直流電圧を印加した後の放電特性から水トリー劣化の度合いを判定する水トリー劣化診断装置、前記高圧ケーブルに接続して測定した誘電正接から劣化の度合いを判定する誘電正接診断を行う誘電正接診断装置および前記高圧ケーブルに接続し部分放電診断を行う部分放電診断装置を有する劣化診断部と、
前記水トリー劣化診断装置による水トリー診断の診断結果、または、前記水トリー劣化診断装置による水トリー診断の診断結果と前記誘電正接診断装置による誘電正接診断の診断結果とを取得する第1診断結果取得部と、
前記水トリー診断の診断結果および前記誘電正接診断の診断結果の少なくともいずれかが前記高圧ケーブルは劣化しているものである場合に、前記劣化診断部に備える前記部分放電診断装置による部分放電診断を行うことを要求する劣化診断要求部と、
前記劣化診断要求部からの要求に応じて行われた前記高圧ケーブルの部分放電診断の診断結果を取得する第2診断結果取得部と、
前記部分放電診断の診断結果が、部分放電を検出しなかったものである場合にはケーブル全体の劣化であると判定し、部分放電を検出したものである場合にはその部分放電診断で特定した部分放電箇所での劣化と判定する、劣化状況判定部と、
前記水トリー診断、前記誘電正接診断および前記誘電正接診断のうちのいずれかの診断結果、前記高圧ケーブルの劣化状況、ならびに、次工程の指示から選ばれる少なくとも一の情報を表示する提示部と、を備える、
ガイダンス装置。
【請求項5】
前記提示部では、前記水トリー劣化診断装置による水トリー診断の診断結果と、前記誘電正接診断装置による誘電正接診断の診断結果とのいずれもが高圧ケーブルの劣化が生じていないと判定されたとき、高圧ケーブルが正常であるとの判定結果を提示する、請求項4に記載のガイダンス装置。
【請求項6】
さらに、前記高圧ケーブルと前記水トリー劣化診断装置、前記誘電正接診断装置および前記部分放電診断装置とを切り替えて接続する接続切替手段を、備え、
外部からの入力、または、劣化診断部からの指示に基づき、接続切替手段により前記高圧ケーブルと各診断装置とを切り替えて接続するように構成されている、請求項4に記載のガイダンス装置。
発明の詳細な説明
【技術分野】
【0001】
本発明は、高圧ケーブルの絶縁劣化によって生じる電気事故を未然に防止するための劣化判定方法およびガイダンス装置に関するものである。
続きを表示(約 2,400 文字)
【背景技術】
【0002】
製鉄所では設置から30乃至40年が経過した高圧ケーブルが多く存在し、それらは今なお使用されている。高圧ケーブルは埋設、カルバート(暗渠)、架空といった敷設状態によっても劣化の度合いや劣化の仕方が大きく異なる。高圧ケーブルの絶縁が劣化して地絡や短絡事故が生じると、生産影響のみならず火災の原因にもなるため、劣化の進行度合いや劣化箇所を把握することは重要である。
【0003】
高圧ケーブルとして広く用いられるCVケーブル(架橋ポリエチレン絶縁ビニルシースケーブル)については絶縁層に水トリー劣化が生じることもあり、高圧ケーブルの劣化を適切に診断する必要性が高い。
【0004】
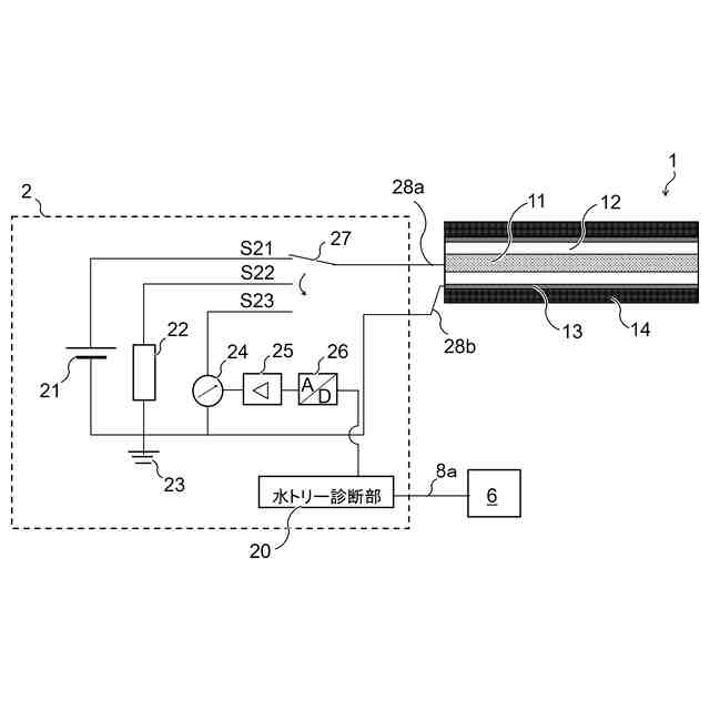
特許文献1には、電力ケーブルの水トリー劣化を診断する診断方法が開示されている。この水トリー診断方法は、電力ケーブルに印加される電圧Vと、電力ケーブルの絶縁材の外周に設けられたシールド材に流れる接地電流iを計測する。そして、電力ケーブルに印加される電圧Vと、電力ケーブルの静電容量及び抵抗値から容量性電流icと抵抗性電流irを算出する。計測した接地電流iと算出した容量性電流ic及び抵抗性電流irとから、所定の数式を用いて水トリー劣化に由来する電流itを算出する。算出された電流itと、電力ケーブルに印加される電圧Vに基づいて、電力ケーブルの劣化診断を行っている。
【0005】
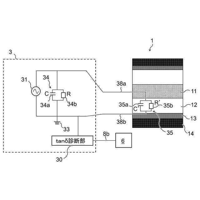
特許文献2には、誘電正接(tanδ)法を用いて電力ケーブルの劣化の進行度合いを判定する診断装置および診断方法が示されている。誘電正接(tanδ)とは、理想コンデンサCに流れる電流をIc、理想コンデンサと並列の寄生抵抗Rpに流れる電流(エネルギー損失)をIrとした場合に、tanδ=Ir/Ic=1/ωCRpで定義される数値である。この診断装置では、導体の両端がそれぞれ他のケーブルと分離装置とを介して電力系統に接続されかつシースが接地された敷設状態の電力ケーブルの、導体の両端を分離装置で電力系統から電気的に切り離し、導体の一端が接続された分離装置とシースとの間の誘電正接を通常の測定器で測定している。その後、他のケーブルと分離装置の成分を考慮してその測定値を補正することで、電力ケーブルのみの誘電正接を求め、その誘電正接から劣化診断を行っている。
【0006】
また特許文献3には、部分放電診断法を用いて電力ケーブルの部分放電を測定し、部分放電の発生箇所を標定する標定システムおよび標定方法が示されている。この標定システムでは、導体の両端がそれぞれ電力系統に接続されたCVケーブルの長手方向に離間した少なくとも二か所にそれぞれ一対の電極板を巻き付け、電力系統からの通電によってCVケーブルの特定箇所に発生してCVケーブルを伝搬した高周波の部分放電信号を各対の電極板で検出する。そして、それらの部分放電信号の検出時間差と、あらかじめ求めた部分放電信号の伝搬速度とから、部分放電の発生箇所を標定している。
【0007】
一方、特許文献4には、誘電正接(tanδ)法と部分放電診断法とを組み合わせてケーブルの劣化診判定を行う方法が示されている。この判定方法は、ケーブルへの印加電圧とケーブルの接地線に流れる電流との関係からtanδを測定する一方、接地線に変流器を装着し、この変流器の出力に基づいてケーブルで発生する部分放電を測定する。この場合、誘電正接(tanδ)法によってケーブルの全体的な絶縁特性を評価し、部分放電診断法によってケーブルの局部的な絶縁特性を評価することができるため、ケーブルの劣化をより適切に判定できるとされている。そして、特許文献4では、これらの診断方法について、機器の接続のやり直しを必要とすることなく同時に行うことが可能な劣化判定方法が記載されている。
【0008】
特許文献5も、誘電正接(tanδ)法と部分放電診断法とを組み合わせてケーブルの劣化判定を行う方法を開示している。この劣化判定方法は、高圧ケーブルの導体の両端を電力系統から離線させて、高圧ケーブルに対し誘電正接診断装置と部分放電診断装置とを切り替え接続可能にし、高圧ケーブルに接続した誘電正接診断装置で求めた誘電正接から劣化の度合いを判定する。そして、判定した劣化の度合いが所定以上の場合には、誘電正接診断装置から切り替えて高圧ケーブルに接続した前記部分放電診断装置で部分放電診断を行う。部分放電診断で部分放電が検出されない場合はケーブル全体の劣化と判定し、部分放電診断で部分放電が検出された場合はその部分放電診断で特定した部分放電箇所での劣化と判定する。これにより、ケーブルの劣化度合いだけでなく、劣化の種類や箇所まで特定できるため、ケーブルの劣化をより適切に判定できるとしている。
【先行技術文献】
【特許文献】
【0009】
特開2014-44177号公報
特開2017-122738号公報
特開2014-035243号公報
特開平9-269352号公報
特開2023-39678号公報
【発明の概要】
【発明が解決しようとする課題】
【0010】
しかし、上記従来技術には以下のような問題がある。
特許文献1に開示された水トリー診断は、高圧ケーブルにおける導電性の芯線の外周に設けられた絶縁材についての絶縁性の劣化を診断する方法である。しかし、水トリー診断のみでは、高圧ケーブルを接続するジョイント部や端末部における絶縁劣化までは診断できない。また、水トリー診断では、高圧ケーブルの絶縁材の劣化が生じている位置までは特定できないため、高圧ケーブルの劣化の状態を適切に判定するのが難しいという課題がある。
(【0011】以降は省略されています)
この特許をJ-PlatPat(特許庁公式サイト)で参照する
関連特許
日本精機株式会社
位置検出装置
2日前
日本精機株式会社
位置検出装置
2日前
日本精機株式会社
位置検出装置
2日前
大和製衡株式会社
組合せ秤
7日前
大和製衡株式会社
組合せ秤
7日前
アズビル株式会社
圧力センサ
1日前
株式会社ユーシン
操作検出装置
4日前
株式会社東芝
センサ
7日前
株式会社東芝
センサ
7日前
エイブリック株式会社
磁気センサ回路
1日前
トヨタ自動車株式会社
検査装置
4日前
TDK株式会社
ガスセンサ
1日前
東レエンジニアリング株式会社
計量装置
4日前
株式会社熊谷組
RI計測装置
2日前
富士電機株式会社
エンコーダ
1日前
三菱マテリアル株式会社
温度センサ
14日前
アズビル株式会社
動粘度測定システム
2日前
アンリツ株式会社
物品検査装置
4日前
株式会社精工技研
光電界センサヘッド
1日前
株式会社豊田自動織機
制御装置
7日前
アンリツ株式会社
物品検査装置
7日前
学校法人東海大学
試験装置
14日前
オンキヨー株式会社
検出装置、及び、判定装置
3日前
大和ハウス工業株式会社
試験方法
14日前
株式会社アイシン
回転角検出装置
1日前
Astemo株式会社
電流検出装置
4日前
株式会社イシダ
X線検査装置
1日前
アンリツ株式会社
計量装置
1日前
東フロコーポレーション株式会社
熱式流量計
1日前
旭化成株式会社
検査装置
1日前
アズビル株式会社
熱式流量計および補正方法
1日前
横河電機株式会社
温度測定装置
4日前
株式会社コア
信号認証アダプター
4日前
株式会社カネカ
太陽電池セルの外観検査装置
8日前
ミネベアミツミ株式会社
ひずみゲージ
4日前
株式会社豊田中央研究所
センサ構造体
2日前
続きを見る
他の特許を見る