TOP
|
特許
|
意匠
|
商標
特許ウォッチ
Twitter
他の特許を見る
10個以上の画像は省略されています。
公開番号
2025143466
公報種別
公開特許公報(A)
公開日
2025-10-01
出願番号
2025116080,2024524002
出願日
2025-07-09,2022-11-04
発明の名称
エアロゾル生成装置
出願人
ケーティー アンド ジー コーポレイション
代理人
弁理士法人太陽国際特許事務所
主分類
A24F
40/40 20200101AFI20250924BHJP(たばこ;葉巻たばこ;紙巻たばこ;喫煙具)
要約
【課題】エアロゾル生成装置が提供される。
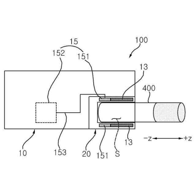
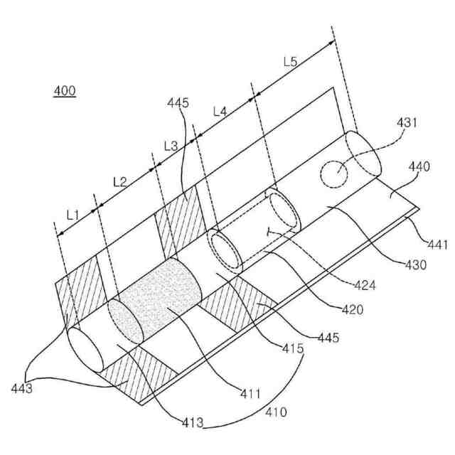
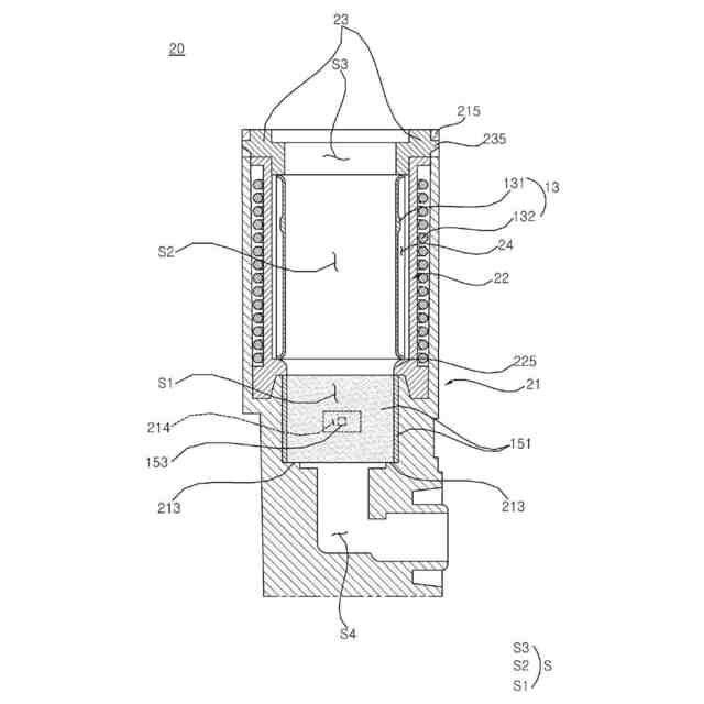
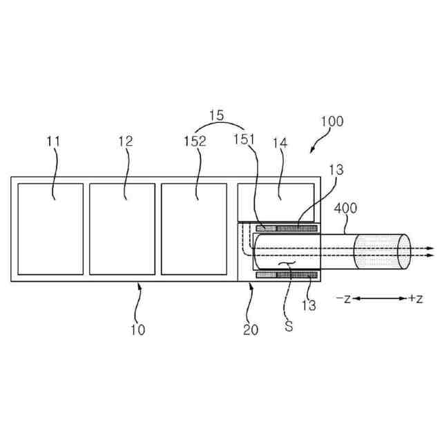
【解決手段】エアロゾル生成装置100は、挿入空間を含むように形成されたパイプ20と、前記挿入空間Sを取り囲む円筒形状を有するヒーターと、前記ヒーターに対して位置し、電流の流れによって前記ヒーターを発熱させる誘導コイルと、を含む。パイプは、ボディー10の長手方向に沿って延び、挿入空間とパイプの外部とを連通させる流入流路を含み、流入流路の直径はヒーターの直径よりも小さく、流入流路は、挿入空間に連結される第1流路と、第1流路とパイプの外部を連結する第2流路と、を含み、第1流路の直径は、第2流路の直径よりも小さい。
【選択図】図1
特許請求の範囲
【請求項1】
長く延びて形成されたボディーと、
前記ボディーの内部に配置され、挿入空間を形成するパイプと、
前記挿入空間を取り囲む円筒形状であり、前記挿入空間に熱を提供するヒーターと、を含み、
前記ヒーターは、
前記パイプと並んで延びる円筒形状のヒーターボディーと、
前記ヒーターボディーの一端から半径方向にベンディングされ、前記パイプによって支持される第1ヒーターベンディング部と、
前記ヒーターボディーの他端から半径方向にベンディングされ、前記パイプによって支持される第2ヒーターベンディング部と、を含み、
前記ヒーターボディーと前記パイプとの間にエアギャップが形成され、
前記パイプは、
前記ボディーの長手方向に沿って延び、前記挿入空間と前記パイプの外部とを連通させる流入流路を含み、前記流入流路の直径は前記ヒーターの直径よりも小さく、
前記流入流路は、
前記挿入空間に連結される第1流路と、
前記第1流路と前記パイプの外部を連結する第2流路と、を含み、
前記第1流路の直径は、前記第2流路の直径よりも小さい、エアロゾル生成装置。
続きを表示(約 790 文字)
【請求項2】
前記第2流路と前記ボディーの外部を連結する第3流路をさらに含み、
前記第3流路の直径は、前記第2流路の直径よりも小さい、請求項1に記載のエアロゾル生成装置。
【請求項3】
前記第3流路は、前記ボディーの外部と前記パイプとを直接連結する、請求項2に記載のエアロゾル生成装置。
【請求項4】
前記ヒーターの外周面に隣接して巻線される第1ワイヤーと、
前記ボディーに内蔵され、前記第1ワイヤーに電流を提供するバッテリーと、
前記バッテリーから前記第1ワイヤーに提供される電流を調節する制御部と、さらに含む、請求項1に記載のエアロゾル生成装置。
【請求項5】
前記第1ヒーターベンディング部に隣接して位置し、前記挿入空間を取り囲み、第2ワイヤーに電気的に連結されるセンサーを含むセンシング回路をさらに含む、請求項1に記載のエアロゾル生成装置。
【請求項6】
前記挿入空間を前記ボディーの外部と連結し、前記パイプの一端に結合される挿入口を形成するキャップをさらに含み、
前記キャップは円筒形状であり、
前記キャップの内径は、前記ヒーターの内径に対応される、請求項1に記載のエアロゾル生成装置。
【請求項7】
前記キャップの内径は、前記ヒーターの内径と同一で、前記キャップの内周面と前記ヒーターの内周面が並んで整列される、請求項6に記載のエアロゾル生成装置。
【請求項8】
前記第1ヒーターベンディング部の外径は、前記キャップの内径よりも大きい、請求項7に記載のエアロゾル生成装置。
【請求項9】
前記第2ヒーターベンディング部の外径は、前記第1ヒーターベンディング部の外径に対応される、請求項8に記載のエアロゾル生成装置。
発明の詳細な説明
【技術分野】
【0001】
本開示はエアロゾル生成装置に関する。
続きを表示(約 850 文字)
【背景技術】
【0002】
エアロゾル生成装置はエアロゾルを介して媒質又は物質から所定の成分を抽出するためのものである。媒質は多様な成分の物質を含むことができる。媒質に含まれる物質は多様な成分の香味物質であり得る。例えば、媒質に含まれる物質は、ニコチン成分、ハーブ成分及び/又はコーヒー成分などを含むことができる。近年、このようなエアロゾル生成装置に対する多くの研究が行われている。
【発明の概要】
【発明が解決しようとする課題】
【0003】
本開示は前述した問題及び他の問題を解決することを目的とする。
【0004】
本開示の他の目的は、新しい加熱方式を導入したエアロゾル生成装置を提供することである。
【0005】
本開示のさらに他の目的は、組立の容易な構造を有するエアロゾル生成装置を提供することである。
【0006】
本開示のさらに他の目的は、放熱性能を有するエアロゾル生成装置を提供することである。
【課題を解決するための手段】
【0007】
本出願で説明する主題の一側面によれば、エアロゾル生成装置は、挿入空間を含むように形成されたパイプと、前記挿入空間を取り囲む円筒形状を有するヒーターと、前記ヒーターに対して位置し、電流の流れによって前記ヒーターを発熱させる誘導コイルと、を含む。
【発明の効果】
【0008】
本開示の実施例のうちの少なくとも一つによれば、新しい加熱方式を導入したエアロゾル生成装置を提供することができる。
【0009】
本開示の実施例のうちの少なくとも一つによれば、組立の容易な構造を有するエアロゾル生成装置を提供することができる。
【0010】
本開示の実施例のうちの少なくとも一つによれば、放熱性能を有するエアロゾル生成装置を提供することができる。
(【0011】以降は省略されています)
この特許をJ-PlatPat(特許庁公式サイト)で参照する
関連特許
個人
ヒートスティック除去具
3か月前
日本たばこ産業株式会社
香味吸引物品
1か月前
個人
電子タバコの加熱素子
3か月前
日本たばこ産業株式会社
香味発生物品
1か月前
日本たばこ産業株式会社
口腔用組成物
2か月前
日本たばこ産業株式会社
喫煙システム
2か月前
個人
フレーバ用ブースター器具およびシーシャ装置
3か月前
東莞市佳かい精密金属制品有限公司
充電可能な電子タバコケース
3か月前
日本たばこ産業株式会社
香味吸引システム
2か月前
日本たばこ産業株式会社
香味吸引システム
2か月前
Future Technology株式会社
エアロゾル吸引カートリッジ
1か月前
エム・クリエイト株式会社
灰皿装置及び灰皿管理システム
4か月前
日本たばこ産業株式会社
低香味原料を含むたばこセグメント
1か月前
日本たばこ産業株式会社
香味発生物品および香味吸引システム
2か月前
日本たばこ産業株式会社
粒状再生セルロースを含有する口腔用組成物
2か月前
日本たばこ産業株式会社
電子装置
2か月前
日本たばこ産業株式会社
吸引器
2か月前
Future Technology株式会社
喫煙器具
1か月前
Future Technology株式会社
芳香基材
3か月前
日本たばこ産業株式会社
たばこ材料、その製造方法、および非燃焼加熱型喫煙物品
1か月前
Future Technology株式会社
芳香カートリッジ
3か月前
Future Technology株式会社
芳香カートリッジ
5日前
Future Technology株式会社
芳香カートリッジ
3か月前
Future Technology株式会社
芳香カートリッジ
4か月前
Future Technology株式会社
タバコ充填物集積体
1か月前
Future Technology株式会社
喫煙具用カートリッジ
3か月前
Future Technology株式会社
喫煙具用カートリッジ
3か月前
Future Technology株式会社
喫煙具用カートリッジ
2か月前
Future Technology株式会社
喫煙具用カートリッジ
2か月前
Future Technology株式会社
喫煙具用カートリッジ
2か月前
Future Technology株式会社
喫煙具用カートリッジ
3か月前
Future Technology株式会社
喫煙具用カートリッジ
19日前
Future Technology株式会社
喫煙具用カートリッジ
1か月前
Future Technology株式会社
喫煙具用カートリッジ
1か月前
Future Technology株式会社
電子タバコカートリッジ
1か月前
Future Technology株式会社
電子タバコカートリッジ
1か月前
続きを見る
他の特許を見る