TOP
|
特許
|
意匠
|
商標
特許ウォッチ
Twitter
他の特許を見る
10個以上の画像は省略されています。
公開番号
2025143925
公報種別
公開特許公報(A)
公開日
2025-10-02
出願番号
2024043440
出願日
2024-03-19
発明の名称
宅配ボックス
出願人
株式会社LIXIL
代理人
個人
,
個人
,
個人
主分類
A47G
29/12 20060101AFI20250925BHJP(家具;家庭用品または家庭用設備;コーヒーひき;香辛料ひき;真空掃除機一般)
要約
【課題】展開及び折り畳み操作が容易な、宅配ボックスを提供すること。
【解決手段】宅配ボックス1は、扉4を有する前枠体2Aと、後枠体2B、後枠体2Bに対して前枠体2Aを前後方向に移動可能に連結する連結部3と、前枠体2Aと後枠体2Bに取付けられ、折り畳み可能な収納部7と、を備え、収納部7は、前枠体2Aの前方移動により展開され、前枠体2Aの後方移動により折り畳まれ、連結部3は、操作ハンドルを有し、収納部7は、生地で構成される。
【選択図】図1
特許請求の範囲
【請求項1】
扉を有する前枠体と、
後枠体と、
前記後枠体に対して前記前枠体を前後方向に移動可能に連結する連結部と、
前記前枠体と前記後枠体に取付けられ、折り畳み可能な収納部と、を備え、
前記収納部は、前記前枠体の前方移動により展開され、前記前枠体の後方移動により折り畳まれる、宅配ボックス。
続きを表示(約 470 文字)
【請求項2】
前記連結部は、操作ハンドルを有する、請求項1に記載の宅配ボックス。
【請求項3】
前記収納部は、生地で構成される、請求項1又は2に記載の宅配ボックス。
【請求項4】
前記収納部は、前記生地に取付けられる補強材を有し、前記補強材に沿った折り目で折り畳まれる、請求項3に記載の宅配ボックス。
【請求項5】
前記収納部は、前記前枠体と前記後枠体に着脱可能に取付けられる、請求項1又は2に記載の宅配ボックス。
【請求項6】
床面に固定されるベース部材をさらに備え、
前記宅配ボックスは、前記後枠体が前記ベース部材に固定されて設置される、請求項1又は2に記載の宅配ボックス。
【請求項7】
前記後枠体に設けられる背面カバーをさらに備え、
前記ベース部材は、床面に固定される固定部と、前記固定部から立設する壁部と、を有し、
前記背面カバーと前記壁部との間に設けられた隙間により排気ダクトが形成される、請求項6に記載の宅配ボックス。
発明の詳細な説明
【技術分野】
【0001】
本発明は、宅配ボックスに関する。
続きを表示(約 2,000 文字)
【背景技術】
【0002】
従来、折り畳み可能な宅配ボックスが知られている。例えば、壁側取付け具によって住戸の壁面に宅配ボックスを固定し、通常は折り畳まれた状態で設置され、住民不在時における荷物の配達の際には、宅配業者によって組み立てられた状態へと展開されて、荷物を収納される宅配ボックスが提案されている。(特許文献1参照)。
【先行技術文献】
【特許文献】
【0003】
特開2021-003172号公報
【発明の概要】
【発明が解決しようとする課題】
【0004】
しかしながら、特許文献1の宅配ボックスは、組み立てられた状態へと展開するために、まず天板と底板をそれぞれ上下方向に開放し、底板に併設された取っ手を回動させて床面に支持させ、次に本体カバーに内蔵された両側板を引き出して、宅配ボックスの係合面部を形成させる操作が必要となる。このように、宅配ボックスを組み立てるためには、複数の工程が必要であるため、宅配業者側の負担が大きいという問題があった。
【0005】
また、宅配ボックスから荷物を回収した後、再び宅配ボックスを折り畳まれた状態に戻すためには、同様の複数の工程が必要であるため、宅配ボックスの折り畳み作業にも負担があった。そのため、荷物を回収した後に、宅配ボックスが組み立てられた状態のまま放置されてしまい、宅配ボックスの折り畳み機能が活用されないという問題もあった。
【0006】
本開示は、展開及び折り畳み操作が容易な、宅配ボックスを提供することを目的とする。
【課題を解決するための手段】
【0007】
本開示は、扉を有する前枠体と、後枠体と、後枠体に対して前枠体を前後方向に移動可能に連結する連結部と、前枠体と後枠体に取り付けられ、折り畳み可能な収納部と、を備え、収納部は、前枠体の前方移動により展開され、前枠体の後方移動により折り畳まれる、宅配ボックスに関する。
【図面の簡単な説明】
【0008】
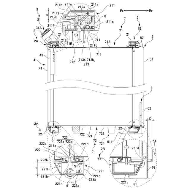
本開示に係る宅配ボックスが展開された様子を示す斜視図である。
図1の宅配ボックスを、下方背面から見上げた斜視図である。
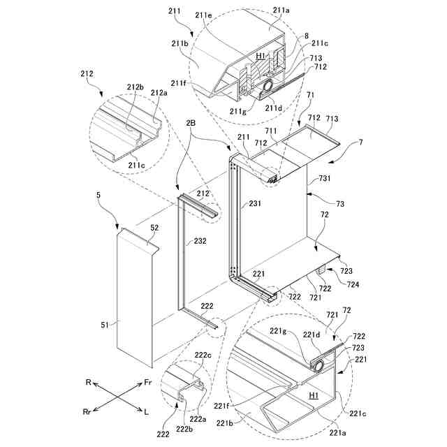
図1の分解斜視図である。
図1のIV-IV線拡大断面図である。
図1のV-V線拡大断面図である。
本開示に係る背面側構造の分解斜視図である。
本開示に係る前枠体の分解斜視図である。
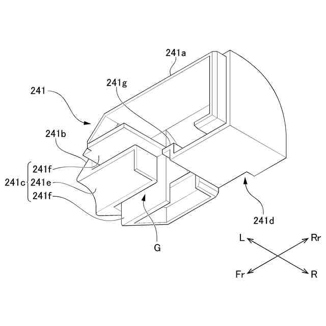
本開示に係るコーナーキャップを下方から見上げた斜視図である。
図7のIX-IX線拡大断面図である
本開示に係る第1リンク部材の部分拡大分解斜視図である。
図10の第1リンク部材を、下方から見上げた斜視図である。
図1のXII-XII線拡大断面図である。
図1の宅配ボックスの扉が開いた様子を示す斜視図である。
本開示に係るベース部材がボックス本体部に接続される様子を示す斜視図である。
本開示に係る収納部の断面斜視図である。
本開示に係る宅配ボックスが折り畳まれた様子を示す斜視図である。
図17の宅配ボックスを、下方背面から見上げた斜視図である。
図16のXVIII-XVIII線拡大断面図である。
図16のXIX-XIX線拡大断面図である。
本開示に係る宅配ボックスが折り畳まれた状態から展開される様子を示す模式図である。
図16の宅配ボックスの扉を開いた様子を示す正面図である。
本開示に係る収納部が変形する様子を示す斜視図である。
図18のXXIII部分拡大図である。
【発明を実施するための形態】
【0009】
以下、本開示の実施形態について、図面を参照しながら詳細に説明する。なお、本開示の図面においては、互いに直交し合う所定の4方向を「Fr方向」「Rr方向」「R方向」「L方向」で表す。「Fr方向」は宅配ボックス1において、荷物が出し入れされる扉4の設けられた正面方向を、「Rr方向」は宅配ボックス1の背面方向を、「R方向」は宅配ボックス1を正面から見た場合の右方向を、「L方向」は宅配ボックス1を正面から見た場合の左方向を、それぞれ示す。
【0010】
図1及び図2に示すように、本実施形態の宅配ボックス1は、ベース部材6によって図示しない床面に固定され、建物の屋外に設置されて使用される。設置される床面は屋根の有無に関わらず、キャスター9が転動可能な床面であれば、どのような場所にも設置することができる。ボックス本体部10は、ベース部材6を除いたすべての部材で構成される。
(【0011】以降は省略されています)
この特許をJ-PlatPat(特許庁公式サイト)で参照する
関連特許
株式会社LIXIL
建具
4日前
株式会社LIXIL
シリンダ錠
今日
株式会社LIXIL
汚物処理装置
4日前
株式会社LIXIL
洗浄水タンク装置
4日前
株式会社LIXIL
可燃性ガス回収装置
4日前
株式会社LIXIL
建具および建具の改装方法
4日前
株式会社LIXIL
建具および建具の改装方法
4日前
株式会社LIXIL
建具および建具の改装方法
4日前
株式会社LIXIL
シリンダ錠及び建物設備機器群
今日
株式会社LIXIL
トイレ装置及びトイレシステム
4日前
株式会社LIXIL
太陽光発電給電シート、建物およびペリカバー
4日前
株式会社LIXIL
トイレ装置、トイレシステム及び排卵推測装置
4日前
株式会社LIXIL
駆逐装置、駆逐システム、駆逐方法および駆逐プログラム
4日前
株式会社LIXIL
改装サッシ
4日前
株式会社LIXIL
表示制御装置、表示制御システム、プログラム及び表示制御方法
今日
株式会社LIXIL
汚水処理装置、汚水処理システム、および汚水処理システムの施工方法
4日前
株式会社LIXIL
ホームシステム、サーバ、オーナー認証方法およびオーナー認証プログラム
4日前
株式会社LIXIL
ホームシステム、サーバ、ユーザ登録初期化方法およびユーザ登録初期化プログラム
4日前
個人
家具
2か月前
個人
椅子
1か月前
個人
自助箸
5か月前
個人
掃除機
7か月前
個人
掃除道具
7か月前
個人
ソファー
18日前
個人
耳拭き棒
9か月前
個人
掃除用具
2か月前
個人
体洗い具
9か月前
個人
枕
3か月前
個人
ハンガー
5か月前
個人
枕
7か月前
個人
屋外用箒
5か月前
個人
片手代替具
9か月前
個人
物品
1か月前
個人
掃除シート
8か月前
個人
組立式棚板
6か月前
個人
開閉トング
4か月前
続きを見る
他の特許を見る